| # | Part | Description | Price | Req | Notes | Availability |
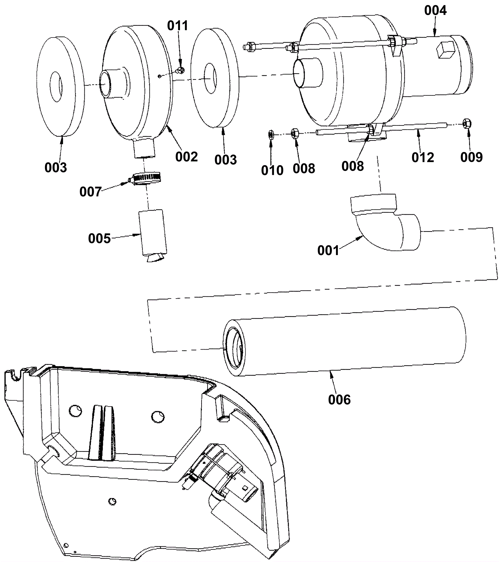
001 |
202-1913
|
Exhaust elbow |
$20.68
|
1 |
|
usually ships 8-13 days |
002 |
202-1906
|
Vacuum motor housing |
$53.13
|
1 |
|
usually ships 8-13 days |
003 |
202-1917
|
Vacuum motor gasket |
$18.26
|
2 |
|
ships same day |
004a |
202-2124
|
24V 3 stage vacuum motor |
$321.09
|
1 |
|
usually ships 8-13 days |
004b |
991-1230
|
24V 3 stage vacuum motor tangential with snout |
$214.98
|
1 |
|
ships same day |
005 |
202-1916
|
Unloader valve |
$55.00
|
1 |
|
usually ships 8-13 days |
006 |
202-6394
|
Muffler, Vac Fan |
$95.15
|
1 |
|
usually ships 8-13 days |
007 |
202-2066
|
Hose clamp |
$10.12
|
1 |
|
usually ships 8-13 days |
008 |
999-0609
|
Nut 1/4-20 hex stainless steel |
$0.99
|
6 |
|
ships same day |
009 |
999-0294
|
Nut 1/4-20 hex nylon lock type NE stainless steel |
$1.18
|
3 |
|
ships same day |
010 |
999-0632
|
Washer 1/4 split lock stainless steel |
$0.99
|
3 |
|
ships same day |
011 |
999-0074
|
Screw 10-32 x 1/2 round head slotted zinc plated |
$0.99
|
1 |
|
ships same day |
012 |
202-2125
|
1/4-20 X 7 inch Stud |
$22.00
|
3 |
|
usually ships 1-5 days |