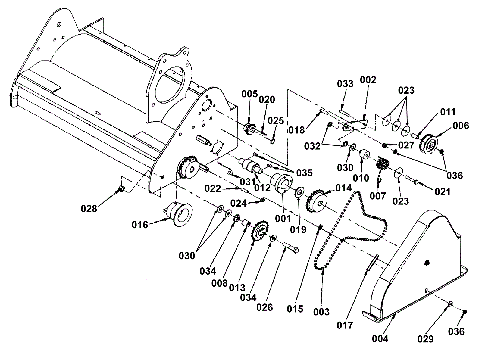
# | Part | Description | Price | Req | Notes | Availability |
001 |
202-0265
|
Idler bearing housing |
$56.43
|
2 |
|
usually ships 8-13 days |
002 |
202-0627
|
Movable idler arm |
$8.14
|
1 |
|
usually ships 1-5 days |
003 |
202-1270
|
Drive chain |
$189.20
|
1 |
|
usually ships 8-13 days |
004 |
202-0856
|
Chain guard (OBSOLETE) |
$371.14
|
1 |
|
usually ships 8-13 days |
005 |
202-0858
|
Sprocket 10-tooth |
$33.55
|
1 |
|
ships same day |
006 |
202-0267
|
Idler pulley with bearing |
$66.22
|
1 |
|
usually ships 8-13 days |
007 |
202-0277
|
Tension spring |
$49.72
|
1 |
|
usually ships 8-13 days |
008 |
202-0279
|
Idler spacer |
$6.71
|
1 |
|
usually ships 8-13 days |
009 |
202-0285
|
Cylindrical drive teflon grease hi-pressure lube #1 |
$63.14
|
1 |
|
usually ships 1-5 days |
010 |
202-0639
|
Pivot Spring |
$20.68
|
1 |
|
usually ships 8-13 days |
011 |
202-0270
|
Spacer |
$11.22
|
1 |
|
usually ships 8-13 days |
012 |
202-0269
|
Brush driver bearing (includes 202-0265) |
$168.63
|
2 |
|
usually ships 8-13 days |
013 |
202-0268
|
Fixed idler sprocket with bearing 20 tooth |
$93.83
|
1 |
|
usually ships 8-13 days |
014 |
202-0266
|
Sprocket 22-tooth |
$149.78
|
2 |
|
usually ships 8-13 days |
015 |
202-0283
|
Master link |
$5.50
|
1 |
|
usually ships 8-13 days |
016 |
202-0264
|
Brush driver |
$96.69
|
2 |
|
ships same day |
017 |
202-0250
|
Chain guard seal |
$17.16
|
1 |
|
usually ships 8-13 days |
018 |
202-1073
|
Stud 1/4-20 x 1 self-clinching |
$5.50
|
1 |
|
usually ships 8-13 days |
019 |
202-1058
|
Washer 5/8 teflon |
$22.88
|
1 |
|
usually ships 8-13 days |
020 |
202-1229
|
Key 1/8 x 1/8 x 3/4 |
$5.50
|
1 |
|
usually ships 8-13 days |
021 |
999-0164
|
Bolt 1/4-20 x 1 1/2 hex head grade 8 plain finish |
$0.99
|
1 |
|
ships same day |
022 |
202-0857
|
Stud 1/4-20 x 1 |
$10.12
|
2 |
|
usually ships 8-13 days |
023 |
202-0160
|
Bearing |
$44.22
|
4 |
|
usually ships 8-13 days |
024 |
202-1106
|
Nut 1/4-20 jam |
$5.50
|
2 |
|
usually ships 8-13 days |
025 |
202-1346
|
Snap ring 1/2 |
$5.50
|
1 |
|
usually ships 8-13 days |
026 |
999-1441
|
Bolt 3/8-16 x 3 1/2 hex head stainless steel |
$7.99
|
1 |
|
ships same day |
027 |
999-0609
|
Nut 1/4-20 hex stainless steel |
$0.99
|
1 |
|
ships same day |
028 |
999-0169
|
Nut 3/8-24 hex jam plain finish |
$0.99
|
1 |
|
ships same day |
029 |
999-0335
|
Washer 1/4 x 5/8 SAE flat stainless steel |
$0.99
|
2 |
|
ships same day |
030 |
999-0617
|
Washer 3/8 x 1 flat stainless steel |
$1.82
|
3 |
|
ships same day |
031 |
999-1009
|
Screw 10-32 x 1/2 flat head phillips stainless steel |
$0.99
|
1 |
|
ships same day |
032 |
999-1007
|
Washer 3/8 x 1/16 flat nylon |
$0.99
|
2 |
|
ships same day |
033 |
999-0198
|
Screw 1/4-20 x 1 1/4 socket cap alloy plain finish |
$0.99
|
1 |
|
ships same day |
034 |
999-0032
|
Washer 3/8 USS flat plain finish |
$2.42
|
2 |
|
ships same day |