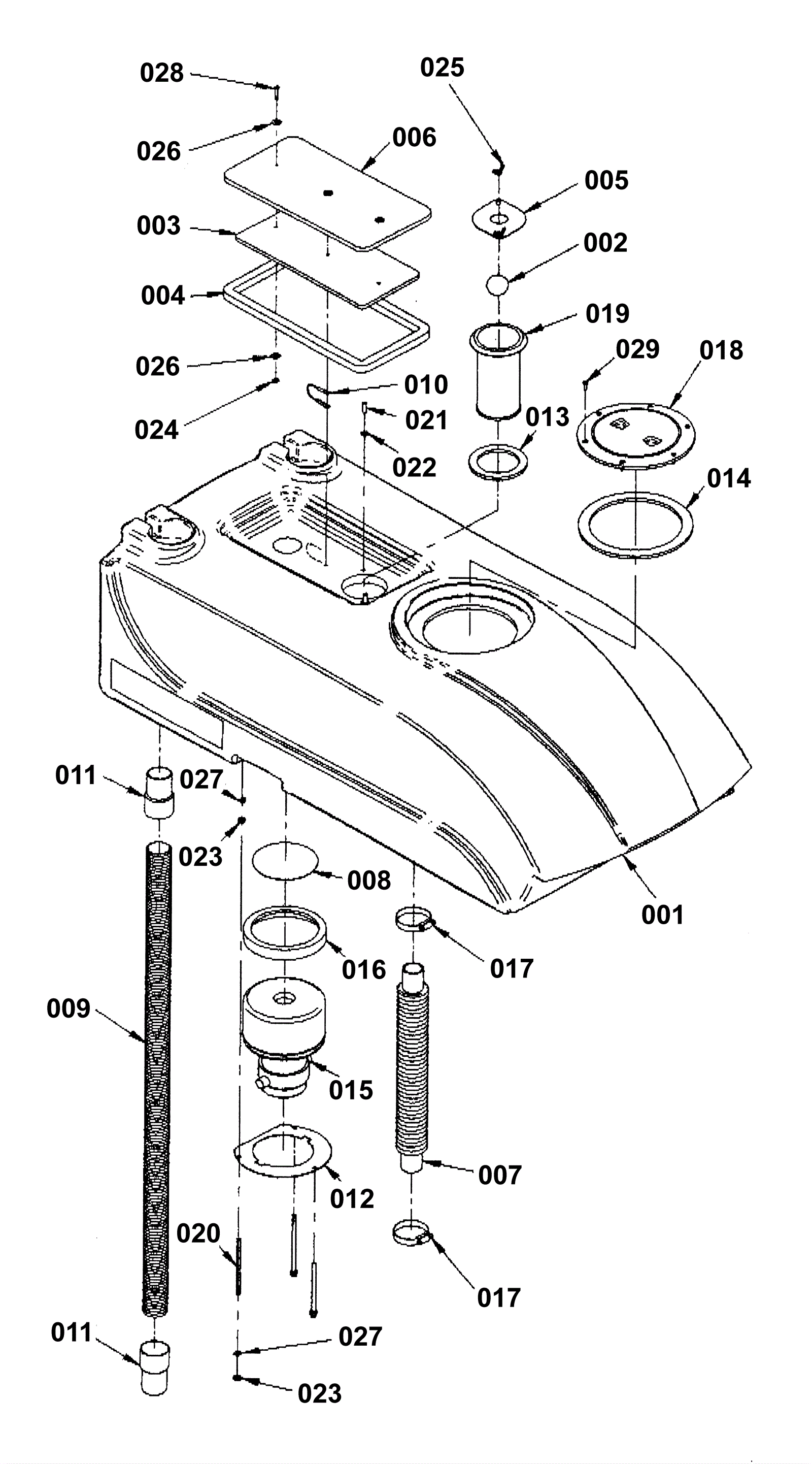
| # | Part | Description | Price | Req | Notes | Availability |
001 |
202-1872
|
Recovery tank |
$619.30
|
1 |
|
usually ships 1-5 days |
002 |
202-0613
|
Overfill shut-off ball pe |
$34.21
|
1 |
|
usually ships 1-5 days |
003 |
202-1820
|
Recovery lid assembly |
$258.17
|
1 |
|
usually ships 8-13 days |
004 |
202-1805
|
Vac cover gasket (rectangle) (OBSOLETE) |
$95.04
|
1 |
|
usually ships 1-5 days |
005 |
202-1819
|
Vacuum ball plate |
$28.82
|
1 |
|
usually ships 1-5 days |
006 |
202-1820
|
Recovery lid assembly |
$258.17
|
1 |
|
usually ships 8-13 days |
007a |
202-0708
|
Drain hose |
$65.56
|
1 |
|
ships same day |
007b |
202-0238
|
Drain hose end tube (metal) |
$43.56
|
|
|
usually ships 8-13 days |
008 |
202-0899
|
Vacuum motor screen |
$15.18
|
1 |
|
usually ships 8-13 days |
009 |
202-0904
|
Vacuum hose 31 inch |
$24.31
|
1 |
|
usually ships 8-13 days |
010 |
202-0902
|
Lanyard |
$8.03
|
1 |
|
usually ships 8-13 days |
011 |
202-0706
|
1 1/2 inch hose cuff |
$5.50
|
2 |
|
usually ships 8-13 days |
012 |
202-0736
|
Blower ring (OBSOLETE) |
$8.91
|
1 |
|
usually ships 8-13 days |
013 |
202-0230
|
Strainer gasket |
$9.79
|
1 |
top |
usually ships 8-13 days |
014 |
202-0900
|
Foam gasket |
$14.63
|
1 |
|
usually ships 8-13 days |
015a |
202-1091
|
24V 3 stage vacuum motor with gasket and contacts |
$377.41
|
1 |
|
usually ships 3-26 days |
015b |
202-1091
|
24V 3 stage vacuum motor with gasket and contacts |
$377.41
|
1 |
|
usually ships 3-26 days |
015b |
202-6469
|
Motor Brush,Vacuum (Set of 2) |
$30.36
|
1 |
|
usually ships 8-13 days |
016 |
202-0022
|
Vacuum motor mounting gasket |
$57.20
|
1 |
|
ships same day |
017 |
997-2011
|
Hose clamp |
$2.67
|
2 |
|
ships same day |
018 |
202-0234
|
Tank lid and ring |
$155.76
|
1 |
|
usually ships 8-13 days |
019 |
202-0612
|
Shutoff ball retainer screen |
$132.99
|
1 |
|
usually ships 1-5 days |
021 |
202-0388
|
Central command to brushhead |
$43.67
|
2 |
|
usually ships 1-5 days |
022 |
202-1106
|
Nut 1/4-20 jam |
$5.50
|
2 |
|
usually ships 8-13 days |
023 |
999-0609
|
Nut 1/4-20 hex stainless steel |
$0.99
|
6 |
|
ships same day |
024 |
999-0086
|
Nut 10-32 nylon insert lock zinc plated |
$0.99
|
1 |
|
ships same day |
025 |
202-1216
|
Nut wing |
$5.50
|
2 |
|
usually ships 8-13 days |
026 |
999-0998
|
Washer #10 flat stainless steel |
$0.99
|
4 |
|
ships same day |
027 |
999-0632
|
Washer 1/4 split lock stainless steel |
$0.99
|
6 |
|
ships same day |
028 |
999-0986
|
Screw 10-32 x 1 round pan head stainless steel |
$0.99
|
3 |
|
ships same day |
029 |
999-0870
|
Screw 8 x 3/4 pan head phillips stainless steel |
$0.99
|
6 |
|
ships same day |