| # | Part | Description | Price | Req | Notes | Availability |
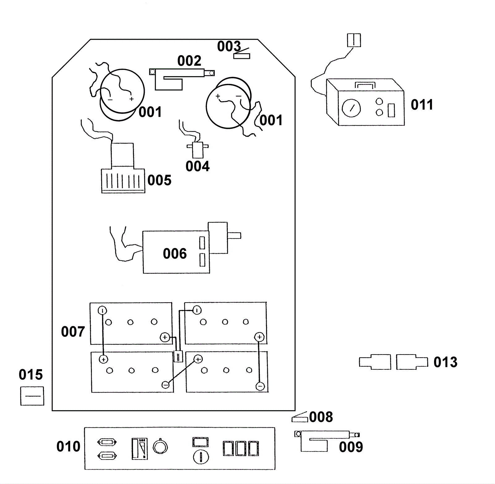
001a |
202-0321
|
24V 1HP 200RPM brush motor |
$855.14
|
1 |
|
usually ships 11-19 days |
001b |
202-0480
|
24V 3/4HP brush motor |
$618.97
|
1 |
|
usually ships 11-19 days |
002 |
202-0254
|
Actuator |
$982.93
|
1 |
|
usually ships 1-5 days |
003a |
202-0192
|
Lift limit switch |
$43.23
|
1 |
|
usually ships 11-19 days |
003b |
202-0545
|
Scrubhead limit switch mounting bracket |
$24.31
|
1 |
|
usually ships 1-5 days |
004 |
202-0546
|
Solution flow electorvalve |
$698.94
|
1 |
|
usually ships 1-5 days |
005a |
202-1091
|
24V 3 stage vacuum motor with gasket and contacts |
$377.41
|
1 |
|
usually ships 3-26 days |
005b |
202-6469
|
Motor Brush,Vacuum (Set of 2) |
$30.36
|
1 |
|
usually ships 11-19 days |
005b |
991-1235
|
24V 3 stage vacuum motor peripheral |
$286.25
|
1 |
|
usually ships 13-17 days |
006a |
202-0321
|
24V 1HP 200RPM brush motor |
$855.14
|
1 |
|
usually ships 11-19 days |
006b |
202-0480
|
24V 3/4HP brush motor |
$618.97
|
1 |
|
usually ships 11-19 days |
008 |
202-0547
|
Limit switch for electrolift squeegee |
$13.75
|
1 |
|
usually ships 1-5 days |
009 |
202-0548
|
Actuator for electrolift squeegee |
$550.88
|
1 |
|
usually ships 1-5 days |
010 |
202-0533
|
New complete central command (OBSOLETE) |
$2,200.00
|
1 |
|
usually ships 1-5 days |
011 |
202-1093
|
24V and 36V 36amp battery charger |
$1,351.52
|
1 |
|
usually ships 11-19 days |
013a |
162-5045
|
175amp charger plug with pins (red) SB175 |
$17.23
|
2 |
|
ships same day |
013b |
202-0549
|
False connection protection strip |
$21.67
|
2 |
|
usually ships 1-5 days |
015a |
202-0550
|
Battery harness including battery post covers |
$234.52
|
1 |
|
usually ships 1-5 days |
015b |
202-0551
|
Battery post cover set |
$14.74
|
1 |
|
usually ships 1-5 days |
015c |
202-0552
|
Red post cover (OBSOLETE) |
$4.62
|
4 |
|
usually ships 1-5 days |
015d |
202-0553
|
Black post cover (OBSOLETE) |
$4.62
|
4 |
|
usually ships 1-5 days |
015e |
202-0550
|
Battery harness including battery post covers |
$234.52
|
3 |
|
usually ships 1-5 days |
015f |
202-0555
|
Cable to red 175 connector |
$54.34
|
1 |
|
usually ships 1-5 days |
N/S |
202-0556
|
Machine harness kit (OBSOLETE) |
$4.62
|
1 |
(Includes Traction motor harness, Vac motor harness, Scrub motors harness, Scrub switch and Actuator harness, Kipp valve and Float switch harness, and Auxillary power harness.) |
usually ships 1-5 days |