| # | Part | Description | Price | Req | Notes | Availability |
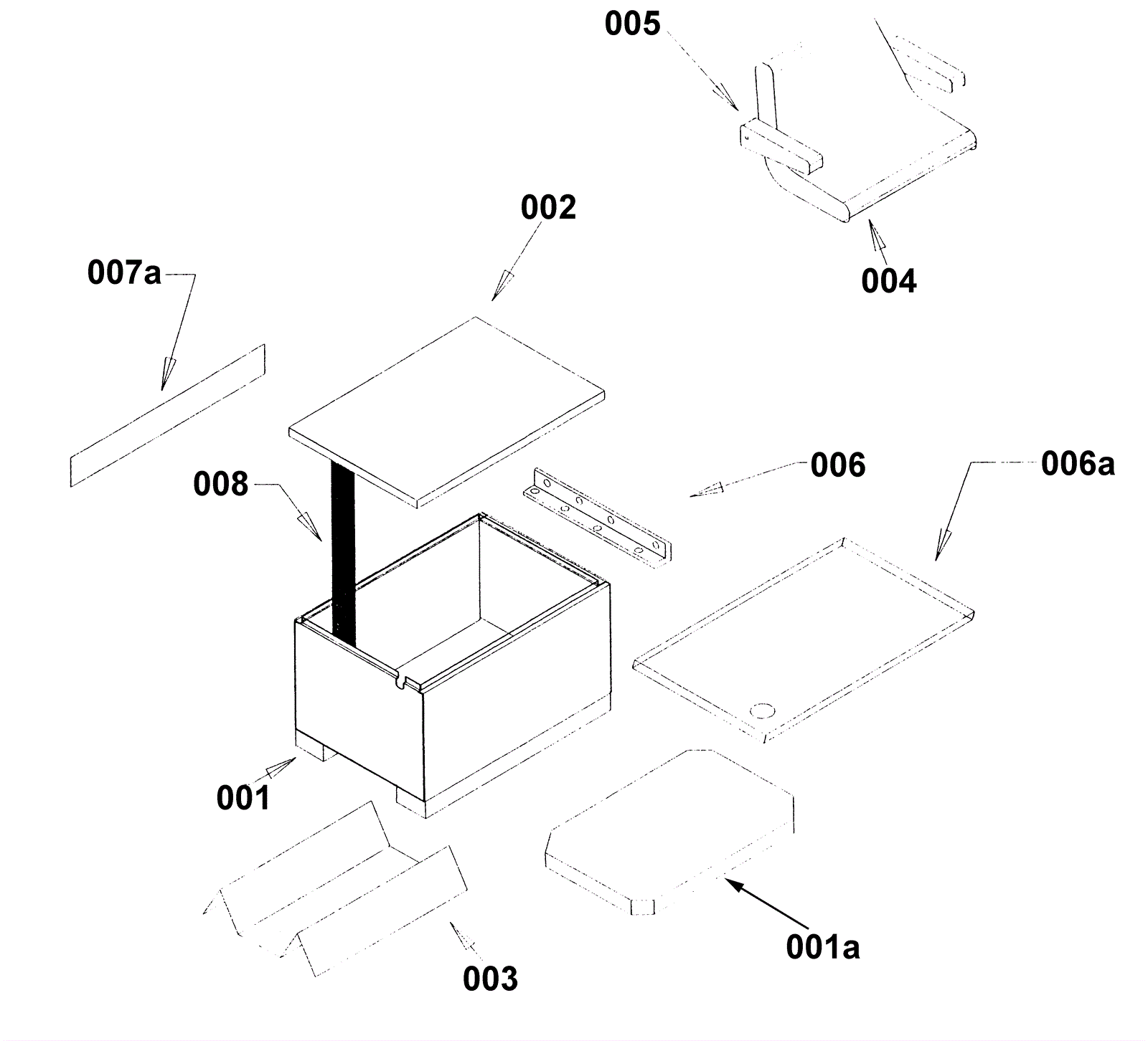
001 |
202-0047
|
Bracket seal (OBSOLETE) |
$8.91
|
1 |
|
usually ships 1-5 days |
002 |
202-0079
|
Battery box lid |
$331.65
|
1 |
|
usually ships 1-5 days |
003 |
202-0080
|
Battery box positioner |
$192.94
|
1 |
|
usually ships 1-5 days |
004 |
202-0081
|
Seat with switch, cover, locking track and mounting |
$770.22
|
1 |
|
usually ships 8-13 days |
005 |
202-0082
|
Armrest kit (OBSOLETE) |
$115.98
|
1 |
|
usually ships 1-5 days |
006 |
202-0083
|
Hinge (OBSOLETE) |
$14.30
|
1 |
|
usually ships 8-13 days |
006a |
202-0084
|
Battery tray black plastic (OBSOLETE) |
$27.72
|
1 |
|
usually ships 1-5 days |
007a |
202-5307
|
Handlebar mounting bracket |
$30.03
|
3 ft |
|
usually ships 8-13 days |
008 |
202-2022
|
Hood cable |
$28.49
|
1 |
|
usually ships 8-13 days |
N/S |
202-0078
|
Plywood battery underlayment |
$32.67
|
1 |
|
usually ships 1-5 days |
N/S |
202-0087
|
Complete wiring harness for 24V battery set |
$303.38
|
1 |
|
usually ships 1-5 days |