| # | Part | Description | Price | Req | Notes | Availability |
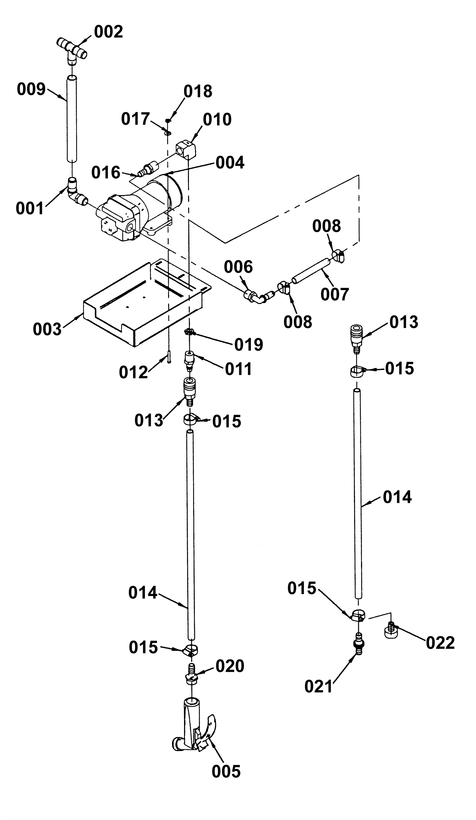
001 |
202-1004
|
Barbed elbow |
$13.42
|
1 |
|
usually ships 1-5 days |
002 |
202-0885
|
3/4 barb tee |
$5.50
|
1 |
|
usually ships 1-5 days |
003 |
202-1006
|
Spray jet box (OBSOLETE) |
$165.64
|
1 |
|
usually ships 1-5 days |
004 |
202-0101
|
60 PSI water jet pump |
$741.51
|
1 |
|
usually ships 8-13 days |
005a |
202-0103
|
Spray nozzle |
$88.00
|
1 |
|
usually ships 8-13 days |
005b |
202-0104
|
18 foot rubber hose (blue) |
$139.92
|
1 |
|
usually ships 8-13 days |
006 |
202-1008
|
Barbed elbow |
$21.67
|
1 |
|
usually ships 8-13 days |
007 |
202-1009
|
4 1/2 inch blue hose |
$9.90
|
1 |
|
usually ships 1-5 days |
008 |
202-0680
|
Hose clamp |
$5.50
|
2 |
|
usually ships 8-13 days |
009 |
202-1642
|
Clear hose - sold by the foot |
$7.15
|
1 |
|
usually ships 1-5 days |
010 |
202-1011
|
1/2 street elbow |
$34.54
|
1 |
|
usually ships 1-5 days |
011 |
202-0883
|
1/2 mnpt to 3/8 brass cup |
$22.22
|
1 |
|
usually ships 8-13 days |
012 |
999-1005
|
Screw 10-32 x 1 1/4 button head socket stainless steel |
$0.99
|
4 |
|
usually ships 1-5 days |
013 |
202-1013
|
Quick release barb |
$92.73
|
2 |
|
usually ships 1-5 days |
014 |
202-5025
|
12 foot hose (blue) |
$80.85
|
2 |
|
usually ships 8-13 days |
015 |
202-1015
|
1/2 inch - 29/32 inch stainless steel clamp |
$4.68
|
4 |
|
usually ships 1-5 days |
016 |
202-1016
|
1/2 mnpt x 1/2 barb |
$21.12
|
1 |
|
usually ships 8-13 days |
017 |
999-0998
|
Washer #10 flat stainless steel |
$0.99
|
4 |
|
ships same day |
018 |
999-0086
|
Nut 10-32 nylon insert lock zinc plated |
$0.99
|
4 |
|
ships same day |
019 |
999-0330
|
Nut 1/2-13 acorn brass |
$5.72
|
1 |
|
ships same day |
020 |
202-1017
|
Male barb 1/2 x 3/4 |
$31.46
|
1 |
|
usually ships 8-13 days |
021 |
202-1018
|
Hose connector |
$25.41
|
1 |
|
usually ships 1-5 days |
022 |
202-1019
|
Garden hose connection |
$24.75
|
1 |
|
usually ships 1-5 days |