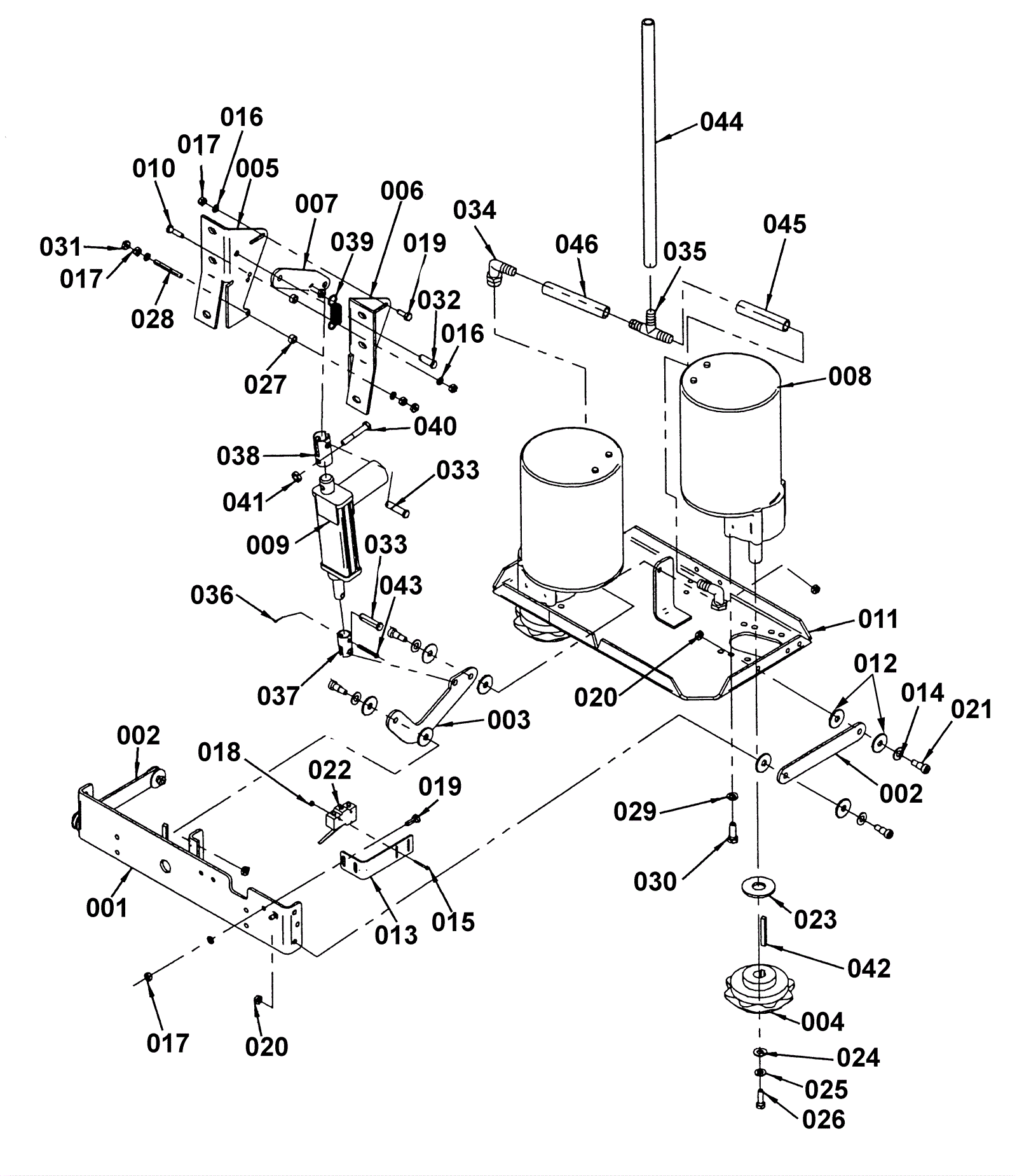
# | Part | Description | Price | Req | Notes | Availability |
001 |
202-0930
|
Center pivot |
$177.32
|
1 |
|
usually ships 1-5 days |
002 |
202-0757
|
Parallel link |
$95.70
|
2 |
|
usually ships 8-13 days |
003 |
202-0931
|
Center arm |
$16.39
|
1 |
|
usually ships 8-13 days |
004 |
202-0330
|
Metal brush driver |
$153.89
|
2 |
|
ships same day |
005 |
202-0932
|
Left fixed actuator |
$150.59
|
1 |
|
usually ships 1-5 days |
006 |
202-0933
|
Right fixed actuator |
$133.65
|
1 |
|
usually ships 1-5 days |
007 |
202-0934
|
Actuator anchor |
$24.31
|
1 |
|
usually ships 1-5 days |
008b |
991-2121
|
24V .75HP brush motor assembly with gear box |
$593.85
|
1 |
|
ships same day |
009 |
202-0936
|
Disk actuator |
$372.02
|
1 |
|
usually ships 8-13 days |
010 |
999-0297
|
Bolt 1/4-20 x 1 hex head stainless steel |
$2.53
|
1 |
|
ships same day |
011a |
202-0937
|
Model 21 deck |
$115.28
|
1 |
|
usually ships 1-5 days |
011b |
202-0938
|
Model 25/27 deck (OBSOLETE) |
$145.75
|
1 |
|
usually ships 8-13 days |
012 |
999-1007
|
Washer 3/8 x 1/16 flat nylon |
$0.99
|
12 |
|
ships same day |
013 |
202-0939
|
Switch mount |
$57.42
|
1 |
|
usually ships 1-5 days |
014 |
999-0617
|
Washer 3/8 x 1 flat stainless steel |
$1.82
|
6 |
|
ships same day |
015 |
999-0983
|
Screw 4-40 x 1 pan head phillips zinc plated |
$0.99
|
2 |
|
ships same day |
016 |
999-0632
|
Washer 1/4 split lock stainless steel |
$0.99
|
8 |
|
ships same day |
017 |
999-0609
|
Nut 1/4-20 hex stainless steel |
$0.99
|
8 |
|
ships same day |
018 |
999-0295
|
Nut 4-40 nylon insert lock stainless steel |
$0.99
|
2 |
|
ships same day |
019 |
999-0334
|
Bolt 1/4-20 x 3/4 inch hex head stainless steel |
$3.85
|
3 |
|
usually ships 16-20 days |
020 |
999-0278
|
Nut 5/16-18 nylon insert lock jam zinc plated |
$0.99
|
6 |
|
ships same day |
021 |
999-0795
|
Bolt 3/8-16 x 4 hex head stainless steel |
$2.13
|
6 |
|
ships same day |
022 |
202-0192
|
Lift limit switch |
$43.23
|
1 |
|
usually ships 8-13 days |
023 |
202-1204
|
Washer 3/4 x 1 1/8 flat stainless steel |
$5.50
|
2 |
|
usually ships 8-13 days |
024 |
999-0617
|
Washer 3/8 x 1 flat stainless steel |
$1.82
|
2 |
|
ships same day |
025 |
999-0553
|
Washer 5/16 medium split lock stainless steel |
$0.99
|
2 |
|
ships same day |
026 |
999-0424
|
Bolt 5/16-18 x 1 hex head stainless steel |
$0.99
|
2 |
|
ships same day |
027 |
202-0702
|
Spacer |
$5.50
|
2 |
|
usually ships 8-13 days |
028 |
202-0940
|
1/4-20 x 2 1/4 inch stainless steel stud |
$5.50
|
2 |
|
usually ships 1-5 days |
029 |
999-0659
|
Washer 3/8 medium split lock stainless steel |
$0.39
|
8 |
|
ships same day |
030 |
999-0424
|
Bolt 5/16-18 x 1 hex head stainless steel |
$0.99
|
8 |
|
ships same day |
031 |
999-0304
|
Nut 1/4-20 nylon lock jam stainless steel |
$0.99
|
4 |
|
ships same day |
032 |
202-3501
|
Ring pin |
$23.43
|
1 |
|
usually ships 8-13 days |
033 |
202-0942
|
Clevis pin |
$5.50
|
2 |
|
usually ships 8-13 days |
034 |
202-0333
|
Elbow barb |
$5.50
|
2 |
|
ships same day |
035 |
202-0332
|
1/2 inch barbed tee |
$5.50
|
1 |
|
ships same day |
036 |
202-2036
|
Cotter pin |
$5.50
|
4 |
|
usually ships 8-13 days |
037 |
202-0944
|
Lower actuator link |
$39.27
|
1 |
|
usually ships 1-5 days |
038 |
202-0945
|
Upper actuator link |
$39.27
|
1 |
|
usually ships 1-5 days |
039 |
202-0946
|
Down pressure spring |
$5.50
|
2 |
|
usually ships 1-5 days |
040 |
999-0178
|
Bolt 5/16-18 x 2 hex head grade 5 zinc plated |
$0.54
|
1 |
|
ships same day |
041 |
999-0211
|
Nut 5/16-18 hex nylon insert lock zinc plated |
$0.99
|
1 |
|
ships same day |
042 |
202-0947
|
1/4 x 2 key |
$5.50
|
2 |
|
usually ships 8-13 days |
043 |
202-0948
|
3/16 x 1 1/2 inch clevis pin |
$5.50
|
1 |
|
usually ships 1-5 days |
044 |
202-0949
|
1/2 inch tube x 18 inch |
$10.34
|
1 |
|
usually ships 1-5 days |
045a |
202-0950
|
1/2 inch tube x 3 1/2 inch |
$5.50
|
1 |
|
usually ships 1-5 days |
045b |
202-0950
|
1/2 inch tube x 3 1/2 inch |
$5.50
|
1 |
|
usually ships 1-5 days |
046a |
202-0952
|
Hose 1/2 x 4 1/2 inch |
$6.27
|
1 |
|
usually ships 1-5 days |
046b |
202-0950
|
1/2 inch tube x 3 1/2 inch |
$5.50
|
1 |
|
usually ships 1-5 days |