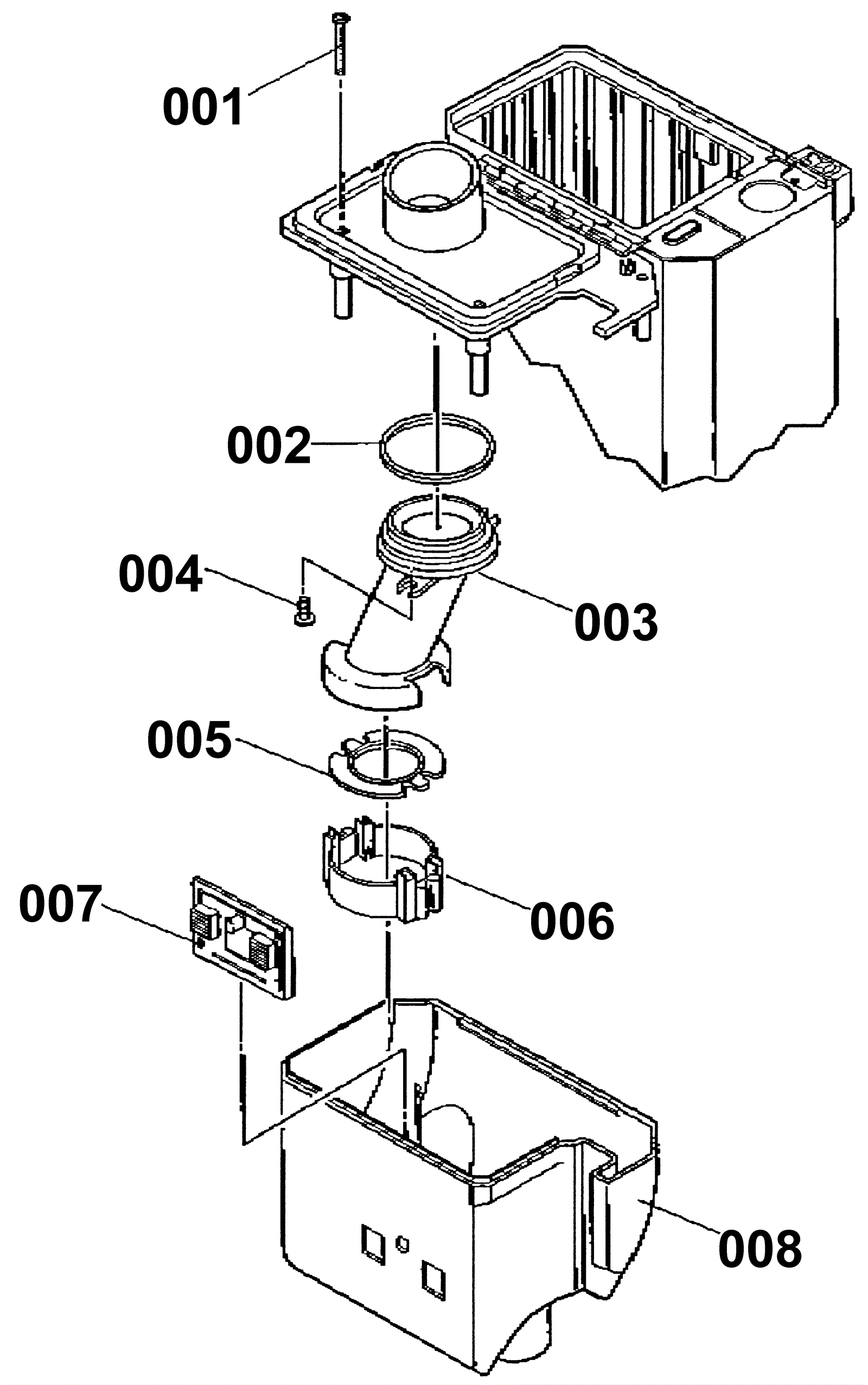
Bag Cover Assembly
Click to enlarge