KD511H
Entire Assembly
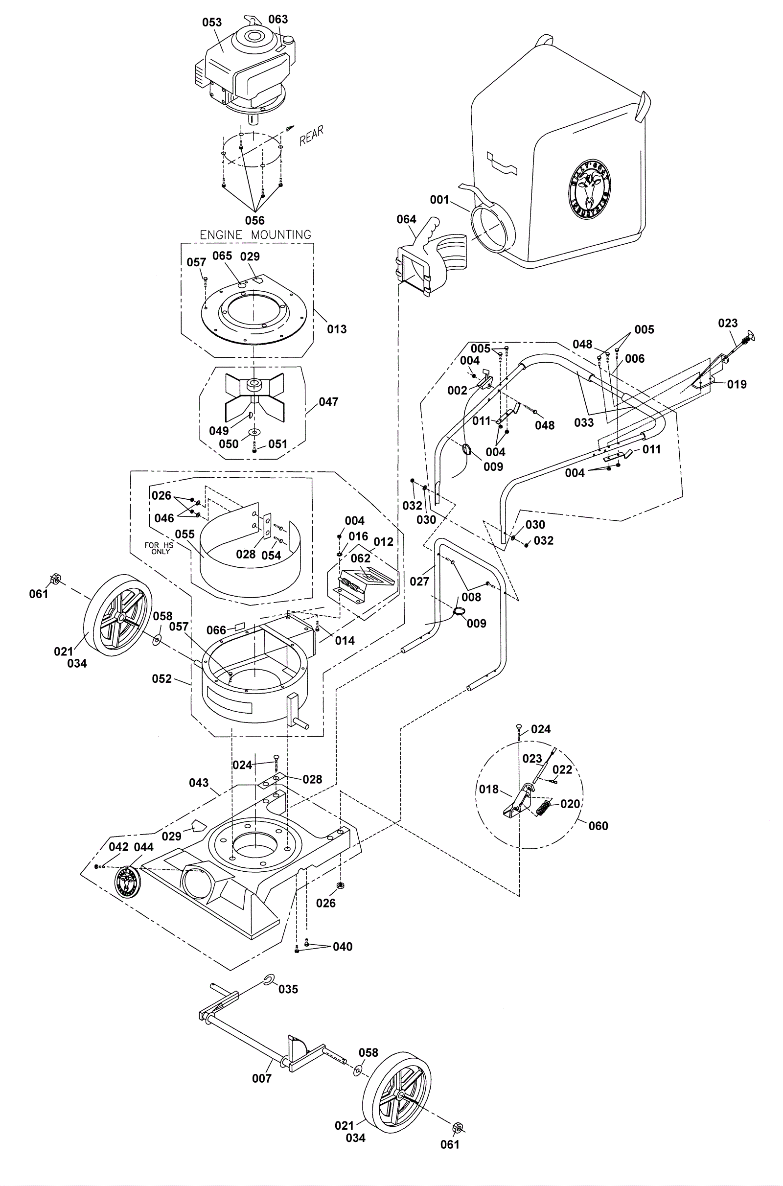
Click to enlarge
#
Part
Description
Price
Req
Notes
Availability
002
992-3086
Throttle control cable
Call for price
1
usually ships 3-84 days
054
992-3085
Quick disconnect
Call for price
1
usually ships 3-84 days
N/S
992-3087
Hose kit
Call for price
1
usually ships 3-84 days
N/S
992-3411
Impeller assembly
Call for price
1
usually ships 3-84 days