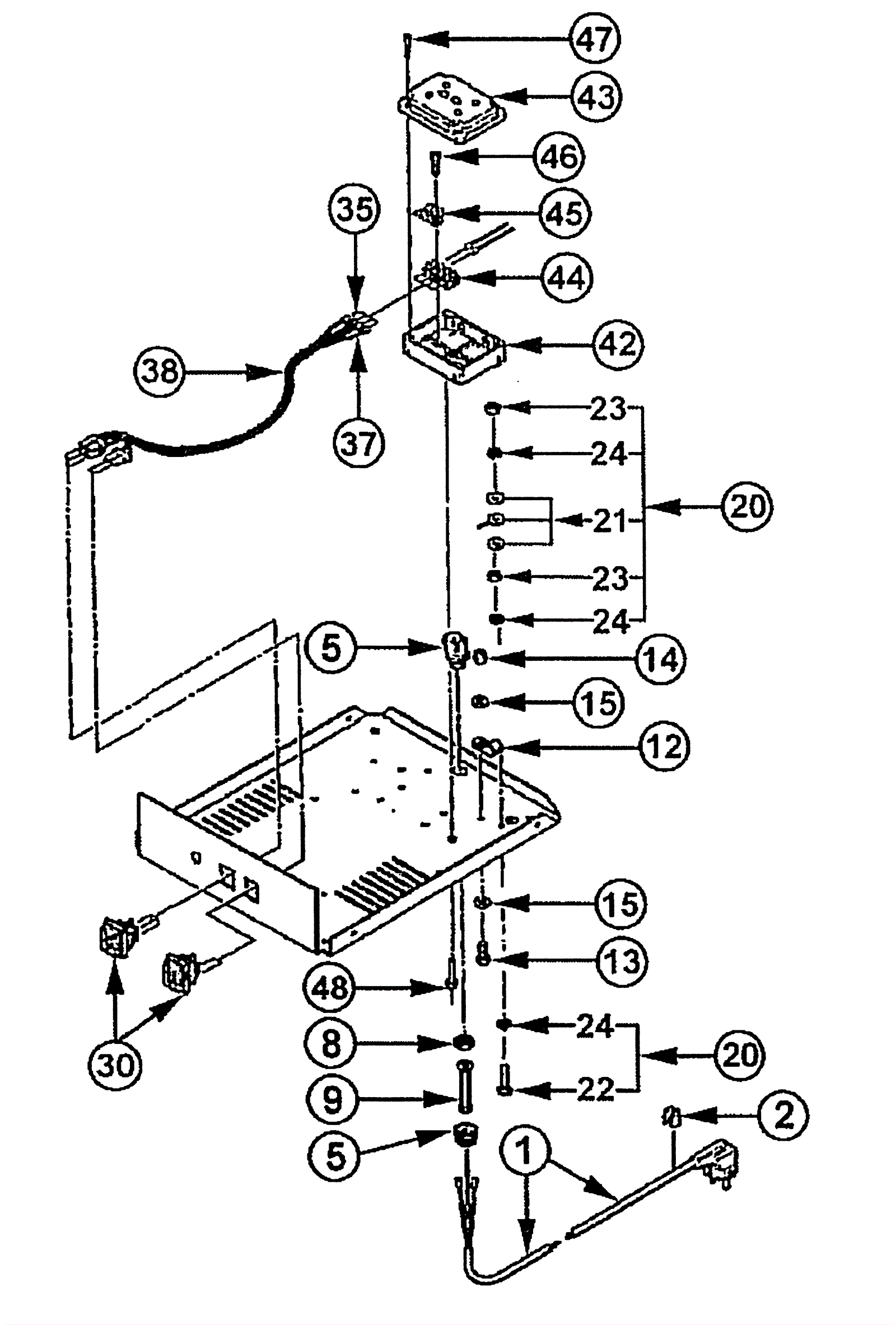
X-411 Wiring Assembly

#PartDescriptionPriceReqNotesAvailability
0.9835 996-0009 15 inch lite grit scrubbing brush - 500 grit $465.18 1 usually ships 11-13 days
0.9835 996-0022 15 inch medium grit scrubbing brush - 180 grit $465.18 1 usually ships 11-13 days
0.9835 996-0049 15 inch heavy grit stripping brush - 80 grit $462.56 1 usually ships 11-13 days
0.9835 996-0070 17 inch pad driver $161.90 1 ships same day
0.9835 996-0264 15 inch polypropylene scrubbing brush $156.06 1 usually ships 11-13 days
07 991-2208 3 hole clutch plate (formerly 6 hole) $22.54 1 ships same day