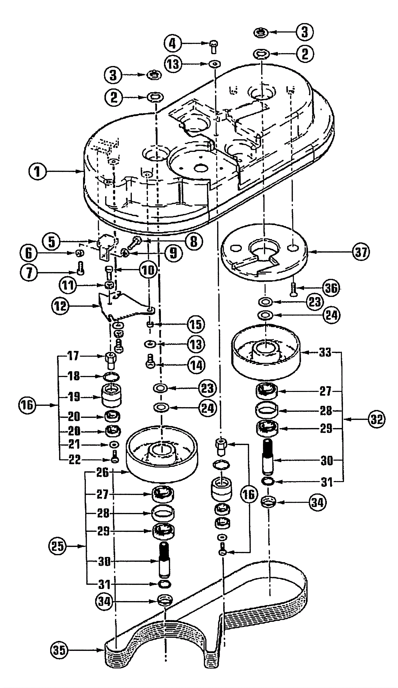
Brush Head Assembly
Click to enlarge