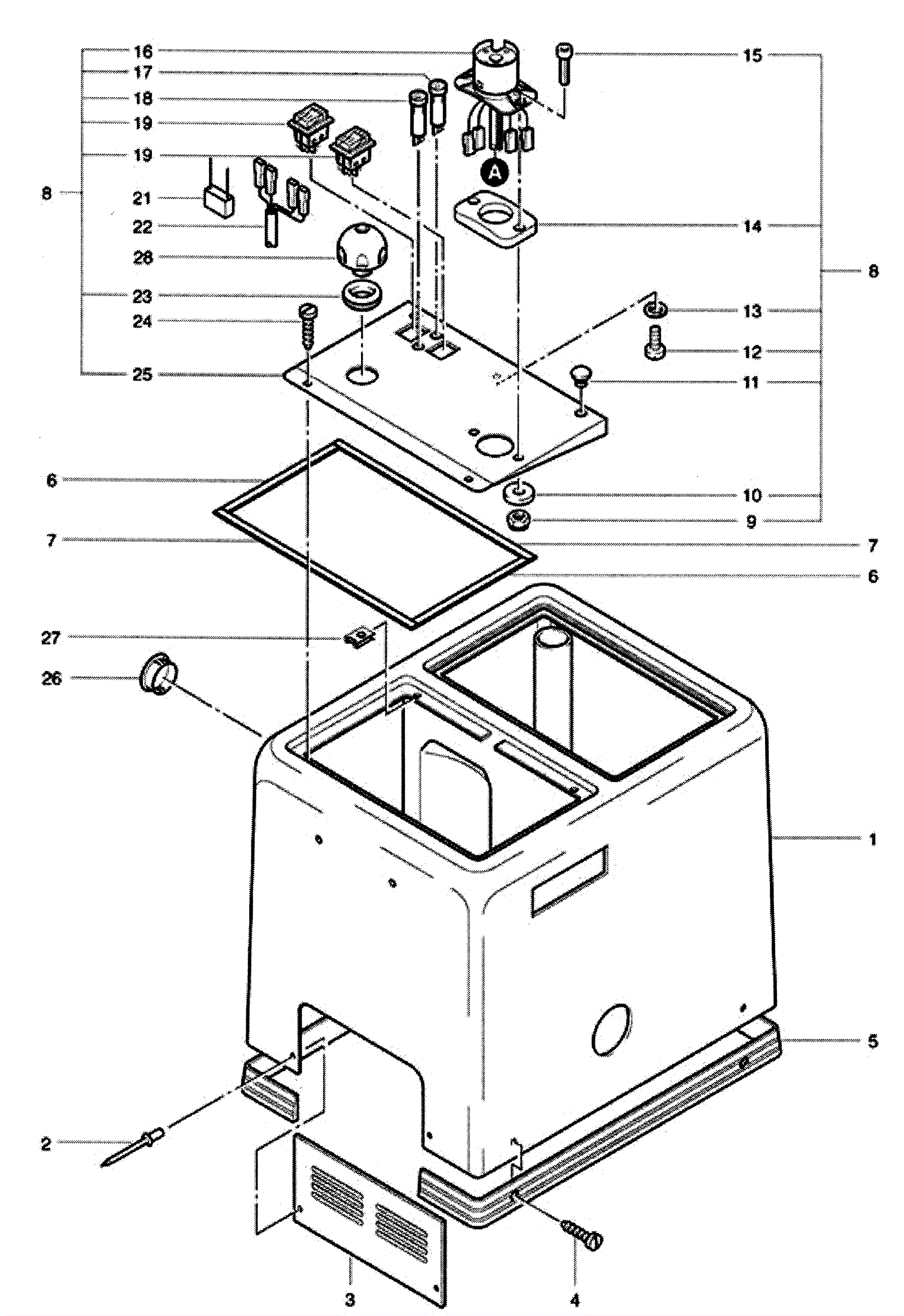
Housing Assembly
Click to enlarge