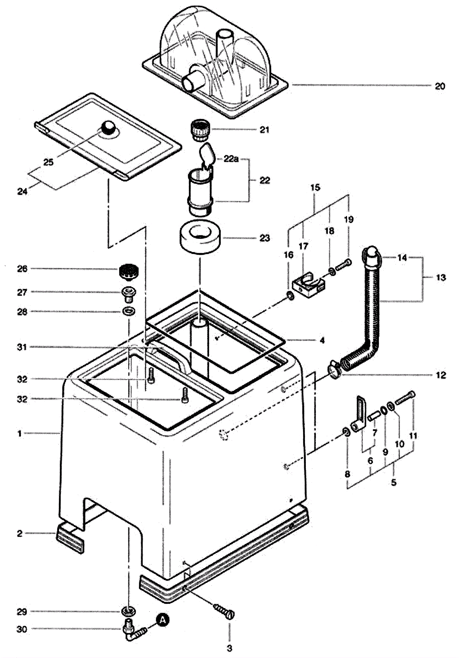
Housing Assembly