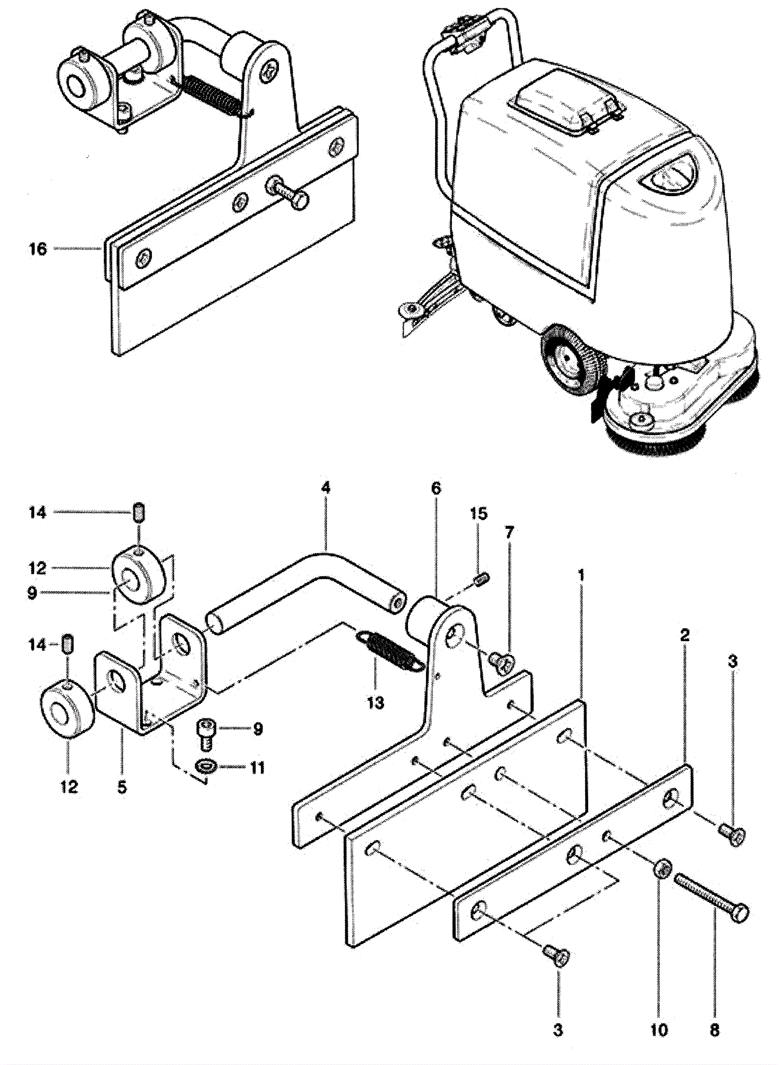
Straight Squeegee Assembly
Click to enlarge