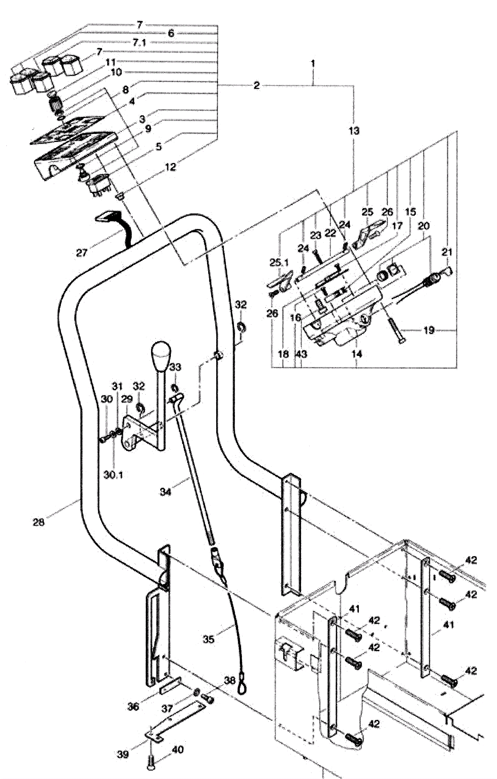
Control and Pushbar Assembly
Click to enlarge