| # | Part | Description | Price | Req | Notes | Availability |
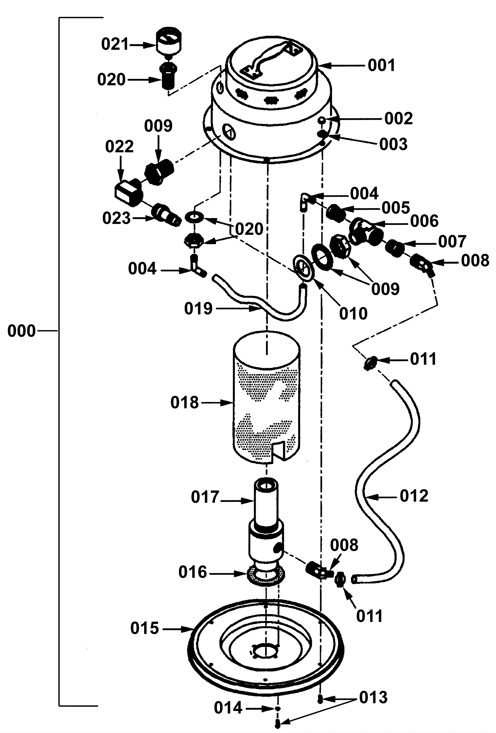
000 |
295-1940
|
Air operated head assembly |
Call for price
|
1 |
|
usually ships 1-5 days |
001 |
195-7481
|
Dome assembly |
$149.69
|
1 |
|
usually ships 1-5 days |
002 |
999-0345
|
Nut 10-24 acorn brass |
$0.99
|
6 |
|
ships same day |
003 |
295-1352
|
Nut #10 hex with extended lockwasher |
$1.78
|
6 |
|
usually ships 1-5 days |
004 |
295-1941
|
Elbow fitting |
$1,363.82
|
2 |
|
usually ships 1-5 days |
005 |
295-1942
|
Reducer |
Call for price
|
1 |
|
usually ships 1-5 days |
006 |
195-7499
|
Tee fitting |
$41.58
|
1 |
|
usually ships 1-5 days |
007 |
295-1876
|
Bushing reducer brass |
Call for price
|
1 |
|
usually ships 1-5 days |
008 |
295-1943
|
Male connector |
Call for price
|
2 |
|
usually ships 1-5 days |
009 |
295-1944
|
Bulk head assembly 1/2 inch |
$1,924.12
|
1 |
|
usually ships 1-5 days |
010 |
295-1866
|
Canopy holdown |
Call for price
|
1 |
|
usually ships 1-5 days |
011 |
295-1945
|
Hose clamp |
Call for price
|
2 |
|
usually ships 1-5 days |
012 |
295-1946
|
High pressure hose |
$58.21
|
1 |
|
usually ships 1-5 days |
013 |
295-1947
|
Screw #10-24 x 1/2 inch |
Call for price
|
10 |
|
usually ships 1-5 days |
014 |
195-9374
|
Washer lock |
$1.78
|
4 |
|
usually ships 1-5 days |
015 |
295-0238
|
Cover |
$51.99
|
1 |
|
usually ships 1-5 days |
016 |
295-0215
|
Flat gasket |
$2.40
|
1 |
|
usually ships 1-5 days |
017 |
295-1948
|
Venturi |
Call for price
|
2 |
|
usually ships 1-5 days |
018 |
295-1045
|
Slit muffler with netting |
$51.99
|
1 |
|
usually ships 1-5 days |
019 |
295-1949
|
Tubing 1/4 inch |
Call for price
|
1 |
|
usually ships 1-5 days |
020 |
295-1950
|
Bulk head assembly |
Call for price
|
1 |
|
usually ships 1-5 days |
021 |
195-7484
|
Pressure gauge |
$68.62
|
1 |
|
usually ships 1-5 days |
022 |
295-1260
|
Brass connector elbow |
$24.95
|
1 |
|
usually ships 1-5 days |
023 |
295-1007
|
Quick coupler |
$20.79
|
1 |
|
usually ships 1-5 days |