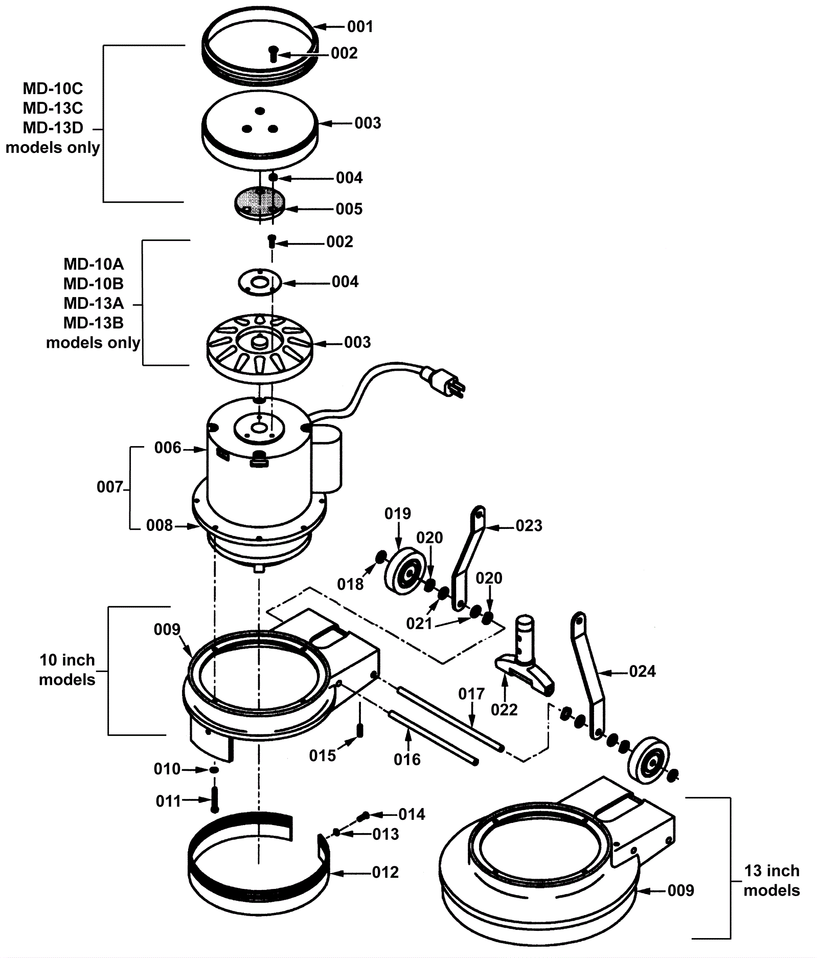
| # | Part | Description | Price | Req | Notes | Availability |
0.9835 |
295-8509
|
13 inch pad driver assembly |
$202.99
|
|
|
ships same day |
001 |
195-8357
|
Canopy bumper blue |
$20.79
|
1 |
MD-10C, MD-13C, MD-13D |
usually ships 1-5 days |
002a |
295-1865
|
Canopy screw |
Call for price
|
3 |
MD-10A, MD-10B, MD-13A, MD-13B |
usually ships 1-5 days |
002b |
195-6554
|
Screw 10 - 32 x 1/2 phillips |
$1.78
|
3 |
MD-10C, MD-13C, MD-13D |
usually ships 1-5 days |
003a |
195-9296
|
Motor canopy |
$33.26
|
1 |
MD-10A, MD-10B, MD-13A, MD-13B |
usually ships 10-11 days |
003b |
195-9070
|
Motor canopy |
$49.90
|
1 |
MD-10C, MD-13C, MD-13D |
usually ships 1-5 days |
004a |
295-1866
|
Canopy holdown |
Call for price
|
1 |
MD-10A, MD-10B, MD-13A, MD-13B |
usually ships 1-5 days |
004b |
295-0850
|
Canopy spacer |
Call for price
|
3 |
MD-10C, MD-13C, MD-13D |
usually ships 1-5 days |
005 |
195-9088
|
Canopy gasket |
$6.66
|
1 |
MD-10C, MD-13C, MD-13D |
usually ships 1-5 days |
006a |
295-1867
|
120V motor 1/3HP |
Call for price
|
1 |
MD-10A, MD-13A |
usually ships 1-5 days |
006c |
295-1869
|
120V motor 3/4HP |
Call for price
|
1 |
MD-10C, MD-13C |
usually ships 1-5 days |
006d |
295-1870
|
120V motor 1HP |
Call for price
|
1 |
MD-13D |
usually ships 1-5 days |
007a |
295-1871
|
120V motor and gear box 1/3HP |
Call for price
|
1 |
MD-10A, MD-13A |
usually ships 1-5 days |
007b |
295-1872
|
120V 1/2HP motor and gear box |
$1,546.38
|
1 |
MD-10B, MD-13B |
usually ships 1-5 days |
007c |
295-0851
|
120V 3/4HP motor and gearbox |
Call for price
|
1 |
MD-10C, MD-13C |
usually ships 1-5 days |
007d |
295-1873
|
120V motor and gear box 1HP |
$1,548.87
|
1 |
MD-13D |
usually ships 1-5 days |
008a |
195-9482
|
2 Idler gear box |
$665.28
|
1 |
MD-10A, MD-10B, MD-13A, MD-13B |
usually ships 1-5 days |
008b |
195-9477
|
3 Idler gear box |
$760.91
|
1 |
MD-10C, MD-13C, MD-13D |
usually ships 1-5 days |
009b |
195-9160
|
Apron 13 inch |
$207.90
|
1 |
|
usually ships 1-5 days |
010 |
999-1049
|
Washer 1/4 split lock zinc plated |
$0.99
|
4 |
|
ships same day |
011a |
195-7033
|
Screw .25-20 x .75 |
$1.78
|
4 |
MD-10A, MD-10B, MD-13A, MD-13B |
usually ships 1-5 days |
011b |
295-0852
|
Screw 1/4-20 x 3/4 inch |
Call for price
|
4 |
MD-10C, MD-13C, MD-13D |
usually ships 1-5 days |
012a |
295-0853
|
Bumper 10 inch |
Call for price
|
1 |
|
usually ships 1-5 days |
012b |
195-8358
|
Bumper 13 inch |
$10.41
|
1 |
|
usually ships 1-5 days |
013 |
195-6333
|
Washer flat 3/16 inch |
$0.99
|
3 |
|
usually ships 10-11 days |
014a |
195-9303
|
Pop rivet |
$0.99
|
5 |
13 inch models |
usually ships 10-11 days |
014b |
195-6304
|
Screw 10-24 x 1/2 type F |
$1.78
|
3 |
10 inch models |
usually ships 1-5 days |
015 |
999-0121
|
Screw 5/16-18 x 1/2 cup point socket set alloy plain finish |
$0.99
|
2 |
|
ships same day |
016 |
295-0855
|
Axle |
Call for price
|
1 |
|
usually ships 1-5 days |
017 |
295-0856
|
Axle shaft |
Call for price
|
1 |
|
usually ships 1-5 days |
018 |
195-6031
|
Retaining ring |
$0.99
|
3 |
|
usually ships 10-11 days |
019 |
195-9071
|
3 inch wheel |
$17.16
|
2 |
|
usually ships 10-11 days |
020 |
195-6023
|
Spring washer |
$2.20
|
4 |
|
usually ships 10-11 days |
021 |
999-0617
|
Washer 3/8 x 1 flat stainless steel |
$1.82
|
4 |
|
ships same day |
022 |
195-9135
|
Handle tee (OBSOLETE) |
$43.56
|
1 |
|
usually ships 10-11 days |
023 |
295-0857
|
Strut support left |
Call for price
|
1 |
|
usually ships 1-5 days |
024 |
295-0858
|
Strut support right |
Call for price
|
1 |
|
usually ships 1-5 days |