| # | Part | Description | Price | Req | Notes | Availability |
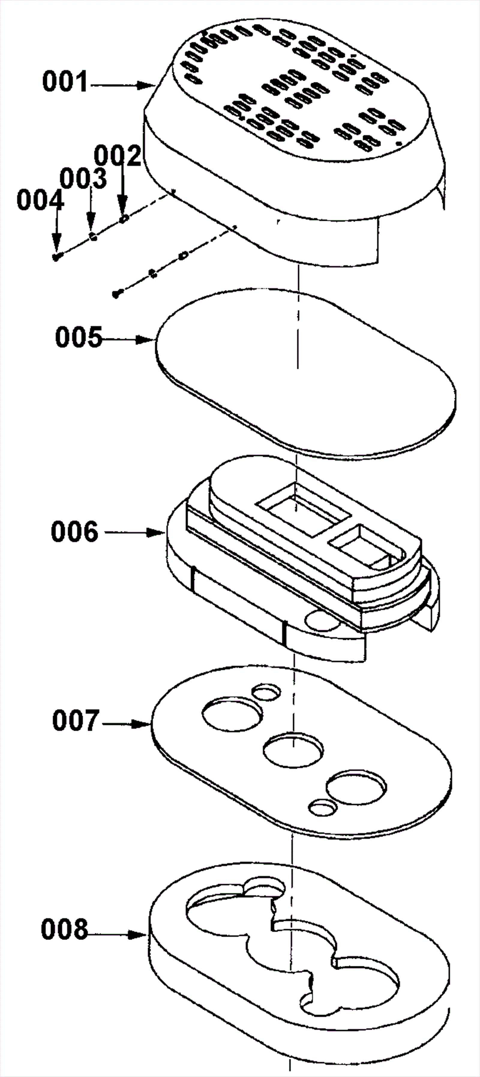
001 |
195-8657
|
Silencer hood |
Call for price
|
1 |
|
usually ships 1-5 days |
002 |
195-8613
|
Blind pem M6 |
Call for price
|
4 |
|
usually ships 1-5 days |
003 |
195-8614
|
Washer 1/4 external star |
Call for price
|
4 |
|
usually ships 1-5 days |
004 |
195-8615
|
Screw M6 x 25 allen head |
Call for price
|
4 |
|
usually ships 1-5 days |
005 |
195-8651
|
Diffuser mat |
Call for price
|
1 |
|
usually ships 1-5 days |
006 |
195-8652
|
Upper silencer foam assembly |
$253.00
|
1 |
|
usually ships 1-5 days |
007a |
195-8653
|
2 motor air channel plate |
Call for price
|
1 |
Dyn-2220 |
usually ships 1-5 days |
007b |
195-8654
|
3 motor air channel plate |
Call for price
|
1 |
Dyn-2320 |
usually ships 1-5 days |
008 |
195-8655
|
Lower foam assembly |
$77.00
|
1 |
|
usually ships 1-5 days |