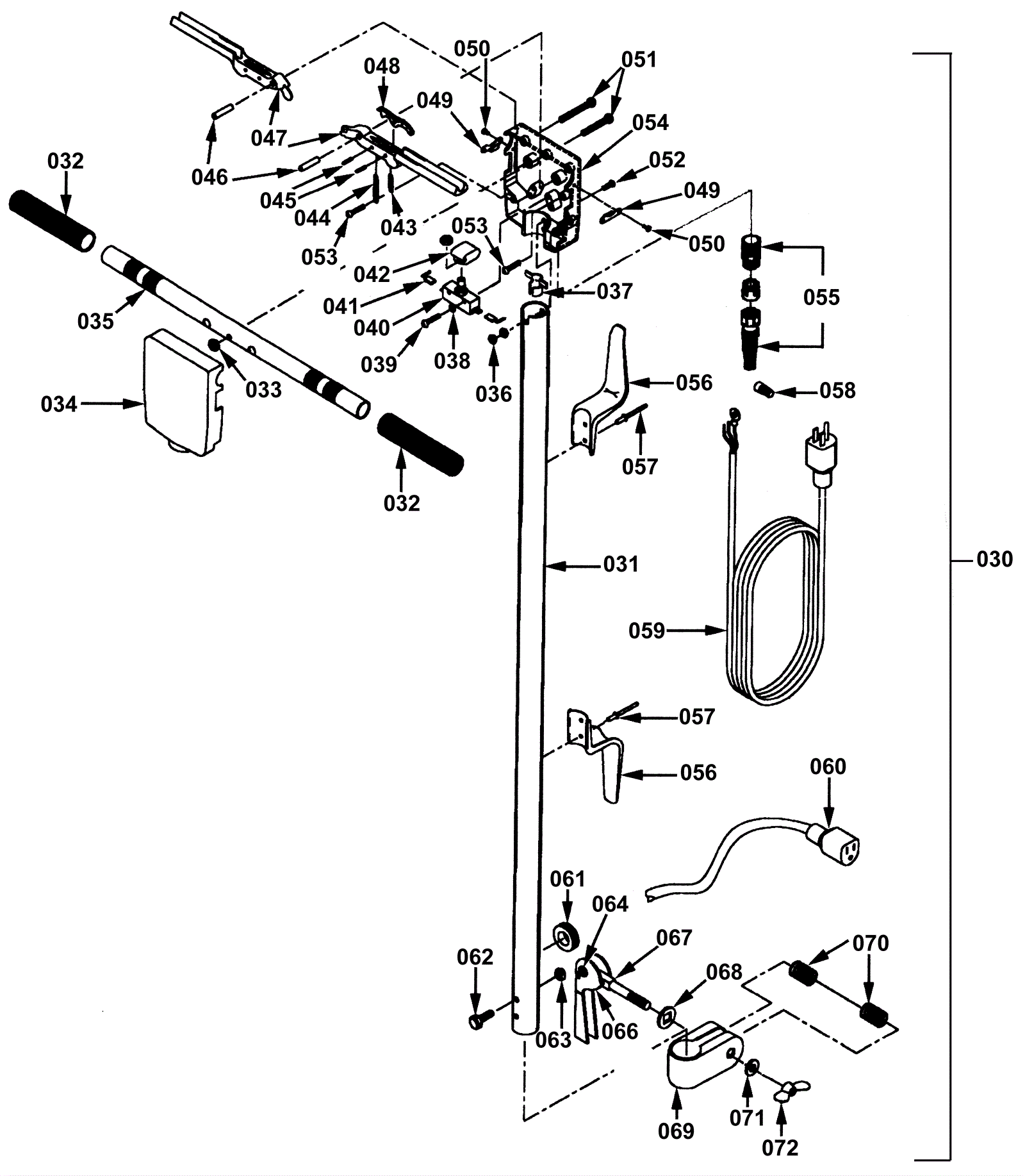
| # | Part | Description | Price | Req | Notes | Availability |
030 |
195-6137
|
Complete handle assembly includes cord and switchbox |
$566.16
|
1 |
includes 031 thru 072 |
usually ships 10-11 days |
031 |
195-6128
|
Handle tube |
$71.51
|
1 |
|
usually ships 10-11 days |
032 |
195-6076
|
Ribbed handle grip |
$9.55
|
2 |
|
usually ships 10-11 days |
033 |
195-6077
|
Nut hex #12-24 with washer |
$0.99
|
1 |
|
usually ships 10-11 days |
034 |
195-6078
|
Switch box cover |
$42.98
|
1 |
|
usually ships 10-11 days |
035 |
195-6079
|
Handle bar |
$20.90
|
1 |
|
usually ships 10-11 days |
036 |
195-6077
|
Nut hex #12-24 with washer |
$0.99
|
2 |
|
usually ships 10-11 days |
037 |
195-6080
|
Cord clamp |
$9.24
|
1 |
|
usually ships 10-11 days |
038 |
195-6081
|
Washer internal tooth |
$0.99
|
2 |
|
usually ships 1-5 days |
039 |
195-6082
|
Screw 6-32 x 1 inch |
$0.99
|
2 |
|
usually ships 10-11 days |
040a |
195-6151
|
Switch |
$21.45
|
1 |
Old style switch McGill - 4 holes. For new style Cherryl switch with 2 holes please order 195-6151. |
usually ships 10-11 days |
040b |
195-6151
|
Switch |
$21.45
|
1 |
New style Cherryl switch with 2 holes. For the old style switch McGill - 4 holes please order 195-9318 |
usually ships 10-11 days |
041 |
195-6083
|
Flag terminal |
$2.20
|
2 |
|
usually ships 10-11 days |
042 |
195-6084
|
Leaf spring |
$7.70
|
1 |
|
usually ships 10-11 days |
043 |
195-6072
|
Trigger lock spring |
$2.48
|
2 |
|
ships same day |
044 |
195-6085
|
Extension spring |
$5.97
|
2 |
|
ships same day |
045 |
195-6086
|
Roll pin |
$1.20
|
4 |
|
usually ships 10-11 days |
046 |
195-6087
|
Trigger pin |
$5.50
|
2 |
|
ships same day |
047a |
195-6088
|
Plastic handle |
$20.26
|
2 |
|
usually ships 10-11 days |
047b |
195-6089
|
Trigger and spring assembly |
$46.04
|
2 |
|
usually ships 10-11 days |
048 |
195-6090
|
Trigger lock |
$13.20
|
2 |
|
usually ships 10-11 days |
049 |
195-6091
|
Reinforcing plate |
$11.00
|
2 |
|
usually ships 10-11 days |
050 |
195-6092
|
Screw 6-32 x 1/4 |
$0.99
|
4 |
|
usually ships 1-5 days |
051 |
195-6093
|
Screw 12-24 x 1 7/16 |
$1.20
|
4 |
|
usually ships 10-11 days |
052 |
195-6094
|
Screw 12-24 x 1/2 |
$2.20
|
2 |
|
usually ships 10-11 days |
053 |
195-6095
|
Screw 8-32 x 1/4 |
$0.99
|
3 |
|
usually ships 1-5 days |
054 |
195-6152
|
Switch box |
$42.98
|
1 |
|
usually ships 10-11 days |
055a |
195-6148
|
Strain relief |
$25.40
|
1 |
|
usually ships 10-11 days |
055b |
195-6148
|
Strain relief |
$25.40
|
1 |
|
usually ships 10-11 days |
056 |
195-6139
|
Cord hook |
$28.60
|
2 |
|
usually ships 10-11 days |
057 |
195-6153
|
Pop rivet |
$1.78
|
4 |
|
usually ships 1-5 days |
058 |
295-1617
|
Wire connector |
$1.78
|
1 |
|
usually ships 10-11 days |
059 |
195-6071
|
14/3 power cord 50ft |
$156.42
|
1 |
|
ships same day |
060 |
295-0581
|
14/3 power cord 48 inch |
$26.27
|
1 |
|
usually ships 10-11 days |
061 |
195-6156
|
Grommet |
$1.38
|
1 |
|
usually ships 10-11 days |
062 |
195-6014
|
Bolt 5/16-18 x 1 1/2 |
$0.99
|
2 |
|
usually ships 10-11 days |
063 |
999-0069
|
Nut 5/16-18 hex |
$0.99
|
2 |
|
ships same day |
064 |
195-6157
|
Clamp lever kit with U-clamp |
$63.49
|
1 |
|
usually ships 10-11 days |
066 |
195-6157
|
Clamp lever kit with U-clamp |
$63.49
|
1 |
|
usually ships 10-11 days |
067 |
195-6158
|
Bolt .37-16 x 3.37 |
$7.74
|
1 |
|
usually ships 1-5 days |
068 |
195-6117
|
Washer flat square hole |
$6.60
|
1 |
|
usually ships 1-5 days |
069 |
195-6157
|
Clamp lever kit with U-clamp |
$63.49
|
1 |
|
usually ships 10-11 days |
070 |
195-6157
|
Clamp lever kit with U-clamp |
$63.49
|
2 |
|
usually ships 10-11 days |
071 |
999-0617
|
Washer 3/8 x 1 flat stainless steel |
$1.82
|
6 |
|
ships same day |
072 |
195-6157
|
Clamp lever kit with U-clamp |
$63.49
|
1 |
|
usually ships 10-11 days |
N/S |
195-6100
|
Plastic trigger kit |
$31.90
|
1 |
|
usually ships 10-11 days |
N/S |
295-1384
|
Solution tank white |
$301.47
|
1 |
|
usually ships 10-11 days |