| # | Part | Description | Price | Req | Notes | Availability |
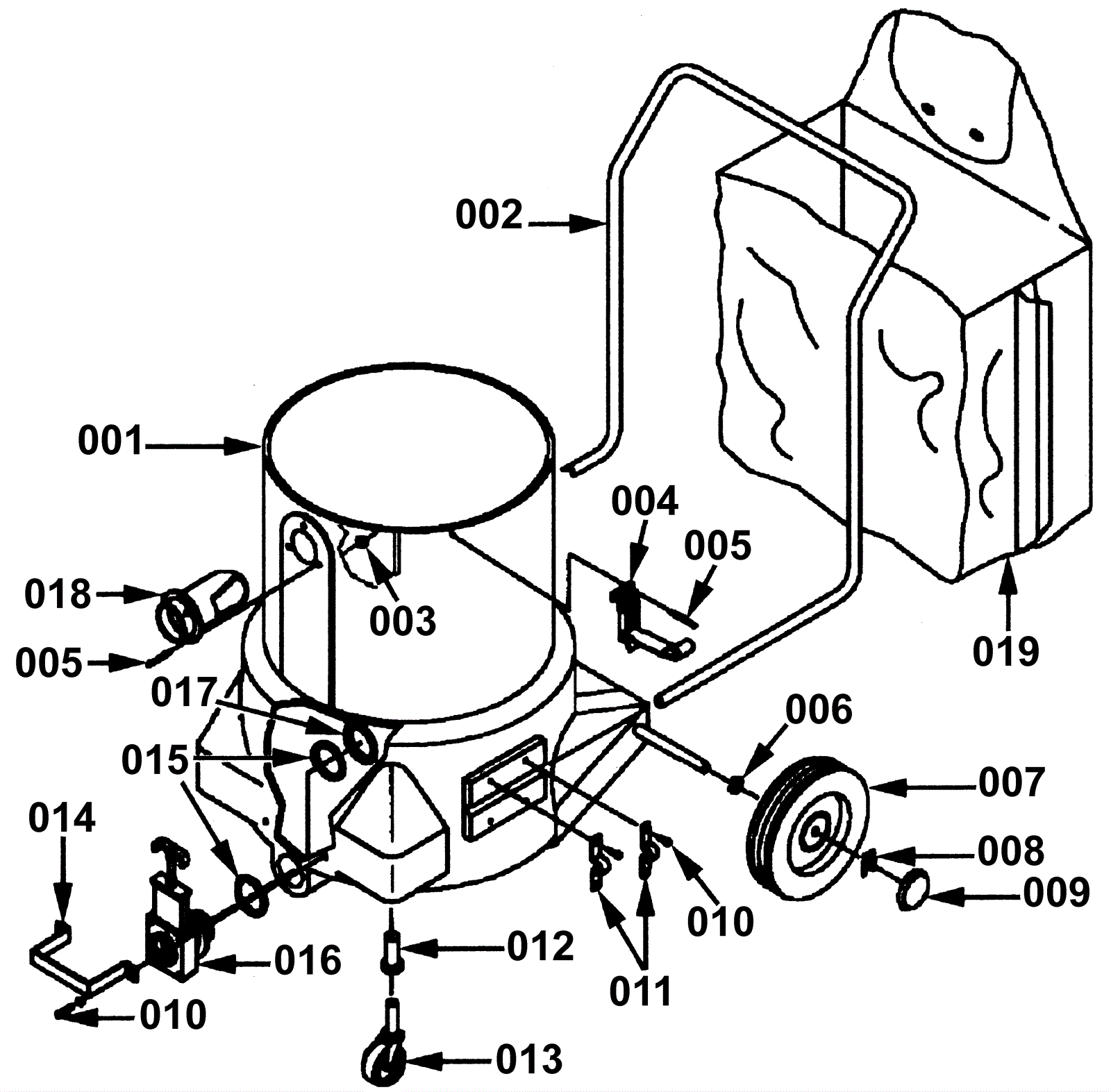
001 |
295-1292
|
20 gallon can plastic blue with hardware |
$1,018.71
|
1 |
|
usually ships 1-5 days |
002 |
295-1154
|
Push handle |
$87.32
|
1 |
|
usually ships 1-5 days |
003 |
195-7480
|
Washer steel |
$1.78
|
3 |
|
usually ships 1-5 days |
004 |
195-9113
|
Spring loaded clamp |
$22.84
|
3 |
|
ships same day |
005 |
195-9303
|
Pop rivet |
$0.99
|
9 |
|
usually ships 10-11 days |
006 |
195-6315
|
Washer wave |
$3.30
|
2 |
|
ships same day |
007 |
195-9236
|
8 inch wheel |
$41.58
|
2 |
|
usually ships 10-11 days |
008 |
195-6033
|
Washer large retainer |
$4.40
|
2 |
|
usually ships 10-11 days |
009 |
195-6034
|
Hub cap |
$4.40
|
2 |
|
usually ships 10-11 days |
010 |
195-6337
|
Screw 1/4-20 x 1/2 |
$1.74
|
10 |
|
usually ships 10-11 days |
011 |
195-9650
|
Handle bracket |
Call for price
|
4 |
|
usually ships 1-5 days |
012 |
195-9263
|
Plastic wheel socket |
$5.59
|
2 |
|
ships same day |
013 |
195-8699
|
Swivel casters 3 inch |
$41.58
|
2 |
|
usually ships 1-5 days |
014 |
195-9651
|
Guard for valve gate |
Call for price
|
1 |
|
usually ships 1-5 days |
015 |
295-1081
|
Ring gasket |
$5.73
|
2 |
|
usually ships 1-5 days |
016 |
295-1196
|
Front gate valve |
$54.82
|
1 |
|
usually ships 10-11 days |
017 |
295-1064
|
Conduit nut 1.5 in |
$14.56
|
1 |
|
usually ships 1-5 days |
018 |
295-1265
|
Inlet connector |
$15.58
|
1 |
|
usually ships 10-11 days |
019 |
195-9084
|
White tool caddy |
$36.30
|
1 |
|
usually ships 10-11 days |