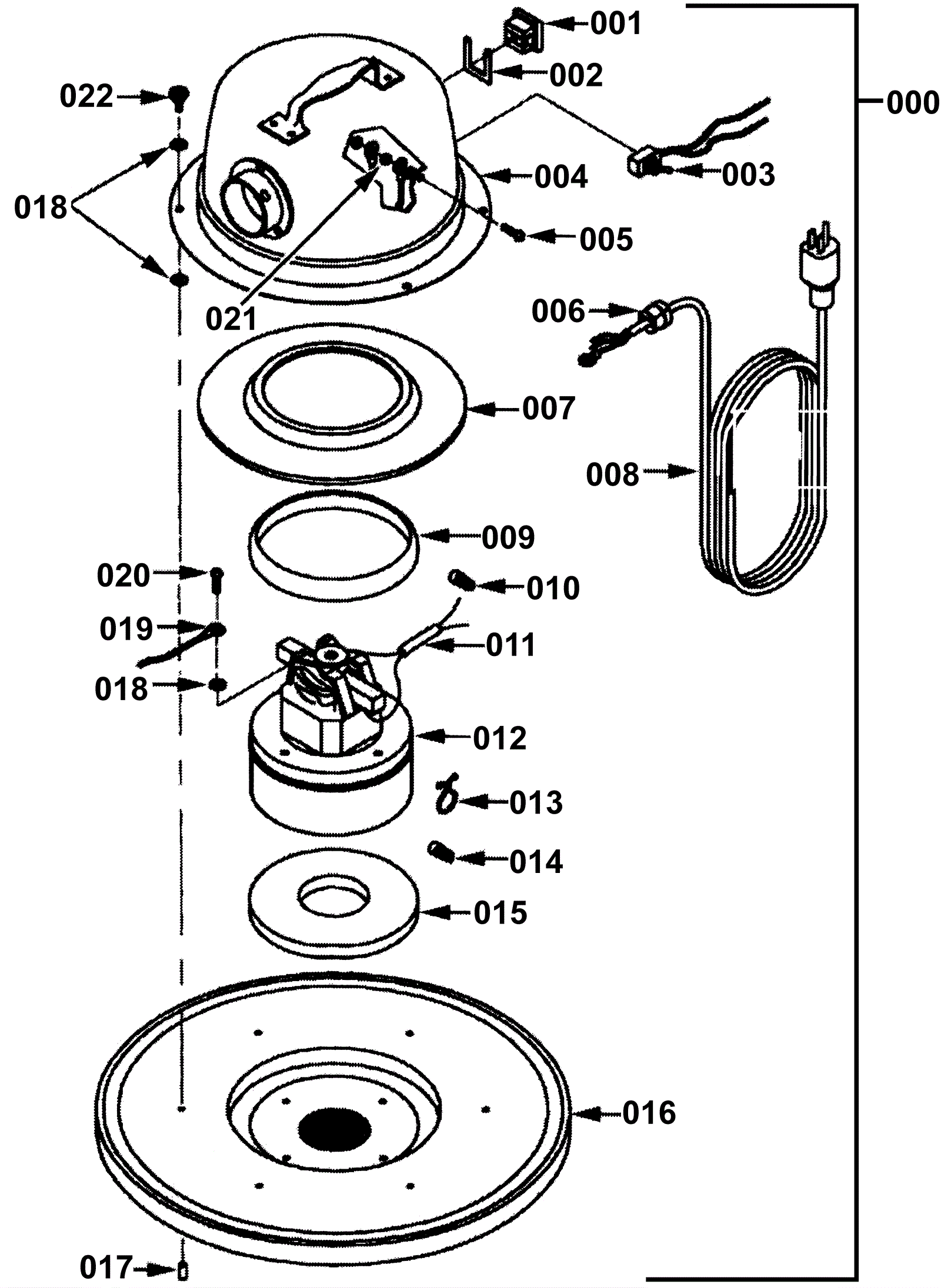
# | Part | Description | Price | Req | Notes | Availability |
000a |
195-9646
|
115V 14 inch motor head assembly |
Call for price
|
1 |
includes 001 thru 022 |
usually ships 1-5 days |
000b |
195-9647
|
115V 16 inch motor head assembly |
Call for price
|
1 |
includes 001 thru 022 |
usually ships 1-5 days |
001 |
295-1487
|
Electrical convenience outlet |
$7.48
|
1 |
|
usually ships 1-5 days |
002 |
295-1490
|
Clip retainer |
$4.68
|
1 |
|
usually ships 10-11 days |
003 |
295-1067
|
Toggle switch |
$18.70
|
1 |
|
usually ships 10-11 days |
004 |
295-1297
|
Dome assembly |
$124.74
|
1 |
|
usually ships 1-5 days |
005 |
295-1411
|
Screw |
$1.78
|
1 |
|
usually ships 1-5 days |
006 |
195-9648
|
Strain relief |
$11.92
|
1 |
|
usually ships 10-11 days |
007 |
295-1160
|
Motor adapter |
$23.91
|
1 |
|
usually ships 1-5 days |
008 |
195-6616
|
18/3 power cord 30 foot |
$82.54
|
1 |
|
usually ships 10-11 days |
009 |
195-7465
|
Motor gasket rubber |
$17.16
|
1 |
|
usually ships 10-11 days |
010 |
295-1617
|
Wire connector |
$1.78
|
1 |
|
usually ships 10-11 days |
011 |
195-9645
|
Insulation tube |
Call for price
|
1 |
|
usually ships 1-5 days |
012 |
991-1205
|
120V 2 stage vacuum motor peripheral |
$169.83
|
1 |
|
usually ships 18-24 days |
013 |
195-9204
|
Large purse lock |
$1.78
|
1 |
|
usually ships 1-5 days |
014 |
195-6150
|
Wire connector |
$1.78
|
2 |
|
usually ships 10-11 days |
015 |
195-9348
|
Gasket |
$13.13
|
1 |
|
usually ships 10-11 days |
016a |
295-1291
|
16 inch cover assembly chrome |
$117.46
|
1 |
|
usually ships 1-5 days |
016b |
295-1330
|
14 inch cover assembly |
$145.53
|
1 |
|
usually ships 1-5 days |
017 |
295-1483
|
Screw protector |
$1.78
|
6 |
|
usually ships 1-5 days |
018 |
195-9172
|
Washer |
$1.78
|
3 |
|
usually ships 10-11 days |
019 |
295-1079
|
Lead #16 with terminal green |
$2.50
|
1 |
|
usually ships 10-11 days |
020 |
195-9597
|
Screw 10-32 x .31 phillips |
$1.78
|
1 |
|
usually ships 10-11 days |
021 |
295-1352
|
Nut #10 hex with extended lockwasher |
$1.78
|
3 |
|
usually ships 1-5 days |
022 |
295-1149
|
Screw |
$1.78
|
6 |
|
usually ships 1-5 days |