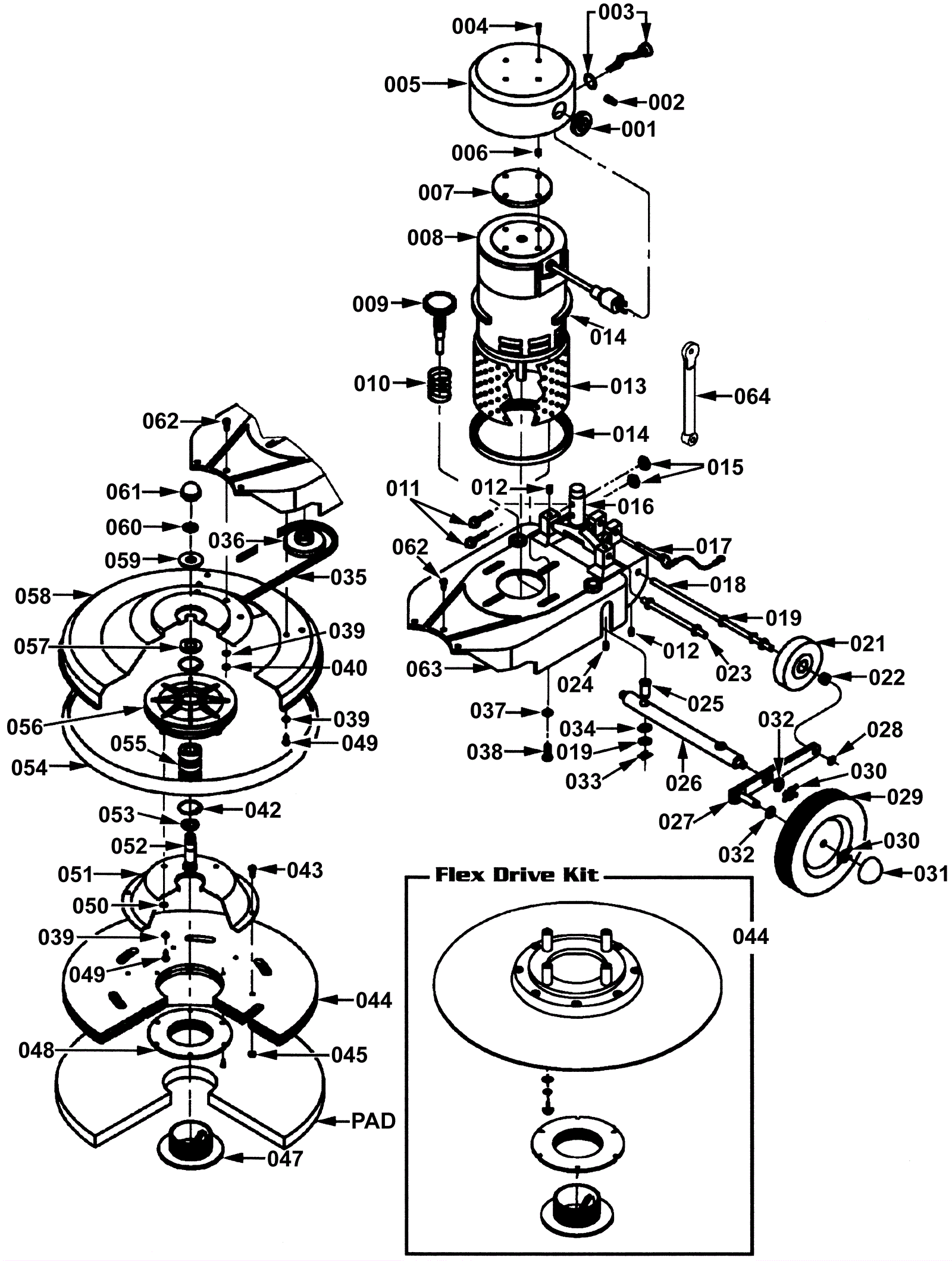
| # | Part | Description | Price | Req | Notes | Availability |
001 |
195-6002
|
Grommet |
$3.49
|
1 |
|
usually ships 1-5 days |
002 |
195-6003
|
Electrical wire connector |
Call for price
|
2 |
|
usually ships 1-5 days |
004 |
195-6311
|
Canopy screw |
$1.78
|
4 |
|
usually ships 1-5 days |
005 |
195-6006
|
Motor canopy |
Call for price
|
1 |
|
usually ships 1-5 days |
006 |
195-6007
|
Nylon spacer |
$0.99
|
4 |
|
usually ships 10-11 days |
007 |
195-6008
|
Canopy foam disc |
$10.41
|
1 |
|
usually ships 1-5 days |
008a |
195-6010
|
Motor 115v 1 1/2hp Imperial |
$1,216.23
|
1 |
|
usually ships 10-11 days |
008b |
195-6067
|
Carbon brush set Imperial motor (pkg of 4) |
$102.51
|
1 |
|
usually ships 10-11 days |
008c |
195-6068
|
Rectifier only (OBSOLETE) |
$44.00
|
1 |
|
usually ships 10-11 days |
008d |
195-6069
|
Rectifier with compound (OBSOLETE) |
$145.41
|
1 |
|
usually ships 10-11 days |
008f |
192-6065
|
Ring |
$3.41
|
3 |
Ohio motor |
usually ships 19-25 days |
009 |
195-6012
|
Adjusting shaft and knob assembly |
$76.56
|
2 |
|
usually ships 1-5 days |
010 |
195-6013
|
Adjusting spring |
$4.40
|
2 |
|
usually ships 10-11 days |
011 |
195-6014
|
Bolt 5/16-18 x 1 1/2 |
$0.99
|
2 |
|
usually ships 10-11 days |
012 |
999-0121
|
Screw 5/16-18 x 1/2 cup point socket set alloy plain finish |
$0.99
|
4 |
|
ships same day |
013 |
195-6016
|
Perforated motor screen |
$47.83
|
1 |
|
usually ships 1-5 days |
014 |
195-6017
|
Perforated screen bumper |
$10.41
|
2 |
|
usually ships 1-5 days |
015 |
999-0069
|
Nut 5/16-18 hex |
$0.99
|
2 |
|
ships same day |
016 |
195-6312
|
T casting |
$125.38
|
1 |
|
usually ships 10-11 days |
017 |
195-6020
|
Speed pin wire assembly |
$10.41
|
1 |
|
usually ships 1-5 days |
018 |
195-6021
|
Axle shaft |
$10.29
|
1 |
|
usually ships 10-11 days |
019 |
999-0617
|
Washer 3/8 x 1 flat stainless steel |
$1.82
|
4 |
|
ships same day |
021 |
195-6024
|
Wheel 4 inch |
$19.38
|
2 |
|
usually ships 10-11 days |
022 |
195-6025
|
Collar with set screw |
$7.16
|
2 |
|
usually ships 10-11 days |
023 |
195-6026
|
T axle shaft |
$10.41
|
1 |
|
usually ships 1-5 days |
024 |
999-0157
|
Screw 5/16-18 x 3/8 cup point socket set alloy plain finish |
$0.99
|
2 |
|
ships same day |
025 |
195-6028
|
Brass adjusting bushing |
$9.24
|
2 |
|
usually ships 1-5 days |
026 |
195-6029
|
Height adjusting rod |
$76.93
|
1 |
|
usually ships 1-5 days |
027a |
195-6030
|
Outrigger assembly |
$93.65
|
2 |
|
usually ships 10-11 days |
027b |
295-0311
|
Outrigger assembly |
$60.50
|
1 |
(Contractor) |
ships same day |
028 |
195-6031
|
Retaining ring |
$0.99
|
2 |
|
usually ships 10-11 days |
029 |
195-6032
|
8 inch rear wheel |
$65.67
|
2 |
|
usually ships 10-11 days |
030 |
195-6033
|
Washer large retainer |
$4.40
|
4 |
|
usually ships 10-11 days |
031 |
195-6034
|
Hub cap |
$4.40
|
2 |
|
usually ships 10-11 days |
032 |
999-0187
|
Washer 1/2 flat plain finish |
$0.99
|
8 |
|
ships same day |
033 |
195-6036
|
Washer small X retainer |
$0.99
|
2 |
|
usually ships 1-5 days |
034 |
195-6037
|
Retaining ring |
$0.99
|
2 |
|
usually ships 1-5 days |
035 |
195-9818
|
V belt |
$70.44
|
1 |
|
usually ships 10-11 days |
036 |
195-6039
|
Motor pulley |
$60.50
|
1 |
|
usually ships 10-11 days |
037 |
195-6040
|
Washer 3/8 lock |
$0.99
|
4 |
|
usually ships 1-5 days |
038 |
195-6041
|
Bolt 3/8-16 x 1/2 inch |
$1.78
|
4 |
|
usually ships 1-5 days |
039 |
999-1049
|
Washer 1/4 split lock zinc plated |
$0.99
|
11 |
|
ships same day |
040 |
195-6043
|
Nut hex |
Call for price
|
3 |
|
usually ships 1-5 days |
042 |
195-6045
|
Bearing retainer ring |
$0.99
|
2 |
|
usually ships 1-5 days |
043 |
195-6046
|
Screw 1/4-20 x 7/8 |
$1.78
|
6 |
|
usually ships 1-5 days |
044a |
195-6049
|
Flex drive assembly |
$271.05
|
1 |
|
usually ships 10-11 days |
044c |
991-2202
|
Big mouth pad holder set (blue) |
$42.60
|
1 |
|
ships same day |
045 |
999-0152
|
Nut 1/4-20 nylon insert lock zinc plated |
$0.99
|
6 |
|
ships same day |
047a |
991-2203
|
Big mouth pad holder male thread portion |
$37.74
|
1 |
|
ships same day |
047b |
195-6022
|
Center lock assembly |
$56.01
|
1 |
|
usually ships 10-11 days |
048 |
991-2215
|
Big mouth II (long right hand thread) |
$40.56
|
1 |
|
ships same day |
049 |
195-6035
|
Screw 1/4-20x1/2 |
Call for price
|
8 |
|
usually ships 1-5 days |
050 |
999-0187
|
Washer 1/2 flat plain finish |
$0.99
|
6 |
|
ships same day |
051 |
195-6049
|
Flex drive assembly |
$271.05
|
1 |
(Adapter is no longer available alone) |
usually ships 10-11 days |
052 |
195-6052
|
Bearing bolt |
$35.20
|
1 |
|
usually ships 1-5 days |
053 |
195-6053
|
Bottom spacer |
$9.88
|
1 |
|
usually ships 1-5 days |
054 |
195-6054
|
Apron bumper(gray) |
$50.15
|
1 |
|
usually ships 10-11 days |
055 |
195-6055
|
Bearing |
$31.68
|
3 |
|
usually ships 1-5 days |
056 |
195-6056
|
Sheave and bearing casting |
$197.52
|
1 |
|
usually ships 1-5 days |
057 |
195-6057
|
Upper end spacer |
$10.75
|
1 |
|
usually ships 1-5 days |
058 |
195-6058
|
Apron 20in |
$519.75
|
1 |
|
usually ships 1-5 days |
059 |
195-6059
|
Washer flat steel |
$2.30
|
1 |
|
usually ships 1-5 days |
060 |
999-0816
|
Washer 5/8 medium split lock |
$0.99
|
1 |
|
ships same day |
061 |
195-6060
|
Nut acorn |
$19.45
|
1 |
|
usually ships 1-5 days |
062 |
195-6061
|
Screw 1/4-20 x 3/4 |
$1.49
|
3 |
|
usually ships 10-11 days |
063 |
195-6062
|
Body casting |
$332.64
|
1 |
|
usually ships 10-11 days |
064 |
195-6319
|
Support strut casting |
$73.90
|
1 |
|
usually ships 10-11 days |
N/S |
195-6023
|
Spring washer |
$2.20
|
3 |
|
usually ships 10-11 days |
N/S |
195-6064
|
Sheave kit |
$244.20
|
1 |
|
usually ships 10-11 days |