| # | Part | Description | Price | Req | Notes | Availability |
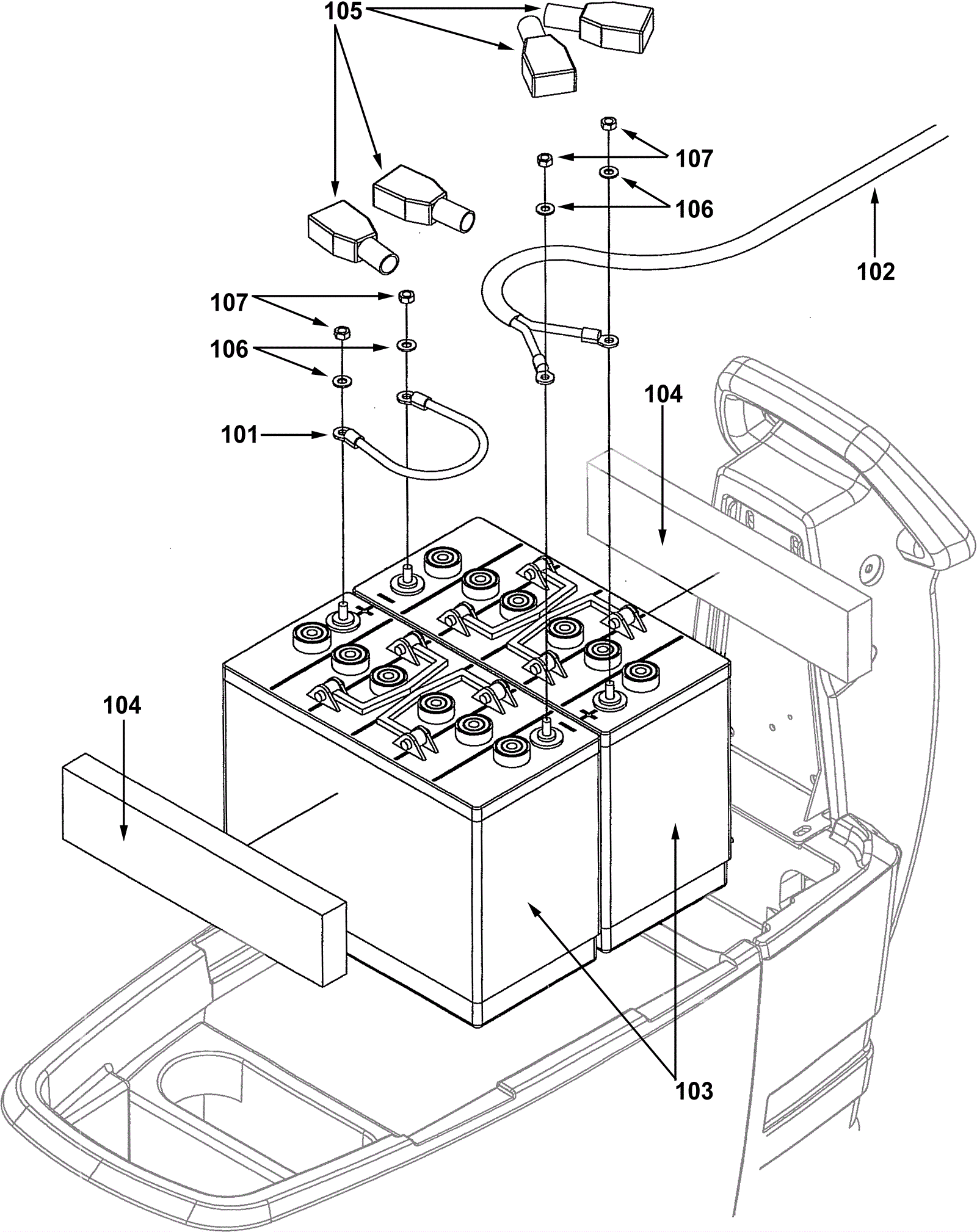
101 |
195-7157
|
Battery cable |
$62.37
|
1 |
|
usually ships 1-5 days |
102 |
295-1777
|
Battery cable assembly |
Call for price
|
1 |
|
usually ships 1-5 days |
103 |
NOTE
|
Please See Batteries, Brushes, Pad Holders and Charger Pages |
Call for price
|
2 |
|
usually ships 3-26 days |
104 |
295-1778
|
Battery spacer |
Call for price
|
2 |
|
usually ships 1-5 days |
105 |
195-7159
|
Battery terminal boot |
$41.58
|
4 |
|
usually ships 1-5 days |
106 |
195-7142
|
Washer M8 |
$2.09
|
4 |
|
usually ships 1-5 days |
107 |
999-0579
|
Nut M8-1.25 hex coarse thread zinc |
$0.99
|
4 |
|
ships same day |