| # | Part | Description | Price | Req | Notes | Availability |
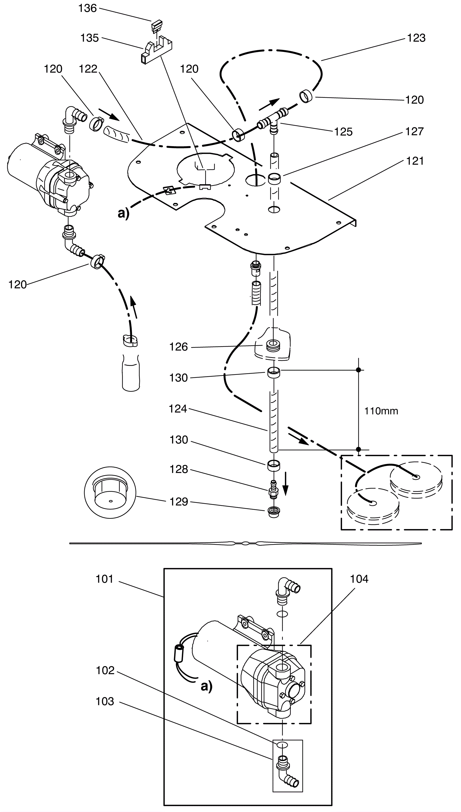
101 |
192-1452
|
Solution pump assembly |
$504.79
|
1 |
(includes 102-104a) |
ships same day |
102 |
192-0336
|
O-ring |
$5.76
|
2 |
|
usually ships 1-5 days |
103 |
192-0335
|
Nipple with O-ring |
$12.69
|
1 |
|
usually ships 1-5 days |
104a |
192-5860
|
Pump head |
$393.94
|
1 |
(EPDM) |
usually ships 19-25 days |
104b |
192-1385
|
Pump head assembly |
$304.18
|
1 |
(Viton, optional) |
usually ships 19-25 days |
120 |
192-0334
|
Hose clamp |
$2.56
|
4 |
|
usually ships 19-25 days |
121 |
192-0955
|
Base plate |
$127.30
|
1 |
|
usually ships 19-25 days |
122 |
192-0400
|
Wire reinforced hose (sold by the inch) |
$0.99
|
8 in |
|
ships same day |
123 |
192-0400
|
Wire reinforced hose (sold by the inch) |
$0.99
|
20 in |
|
ships same day |
124 |
192-0400
|
Wire reinforced hose (sold by the inch) |
$0.99
|
10 in |
|
ships same day |
125 |
192-0401
|
T-connector |
$6.28
|
1 |
|
ships same day |
126 |
192-0959
|
Grommet |
$6.74
|
1 |
|
usually ships 19-25 days |
127 |
192-0957
|
Hose clamp |
$3.28
|
1 |
|
usually ships 19-25 days |
128 |
192-0398
|
Male connector |
$2.87
|
1 |
|
ships same day |
129 |
192-3095
|
Cover |
$11.62
|
1 |
|
usually ships 19-25 days |
130 |
192-0978
|
Hose clamp |
$3.72
|
2 |
|
ships same day |
135 |
192-3890
|
Fuse holder |
$16.67
|
1 |
|
ships same day |
136 |
192-3892
|
Fuse clip |
$2.56
|
1 |
|
ships same day |
N/S |
192-0400
|
Wire reinforced hose (sold by the inch) |
$0.99
|
29 in |
|
ships same day |