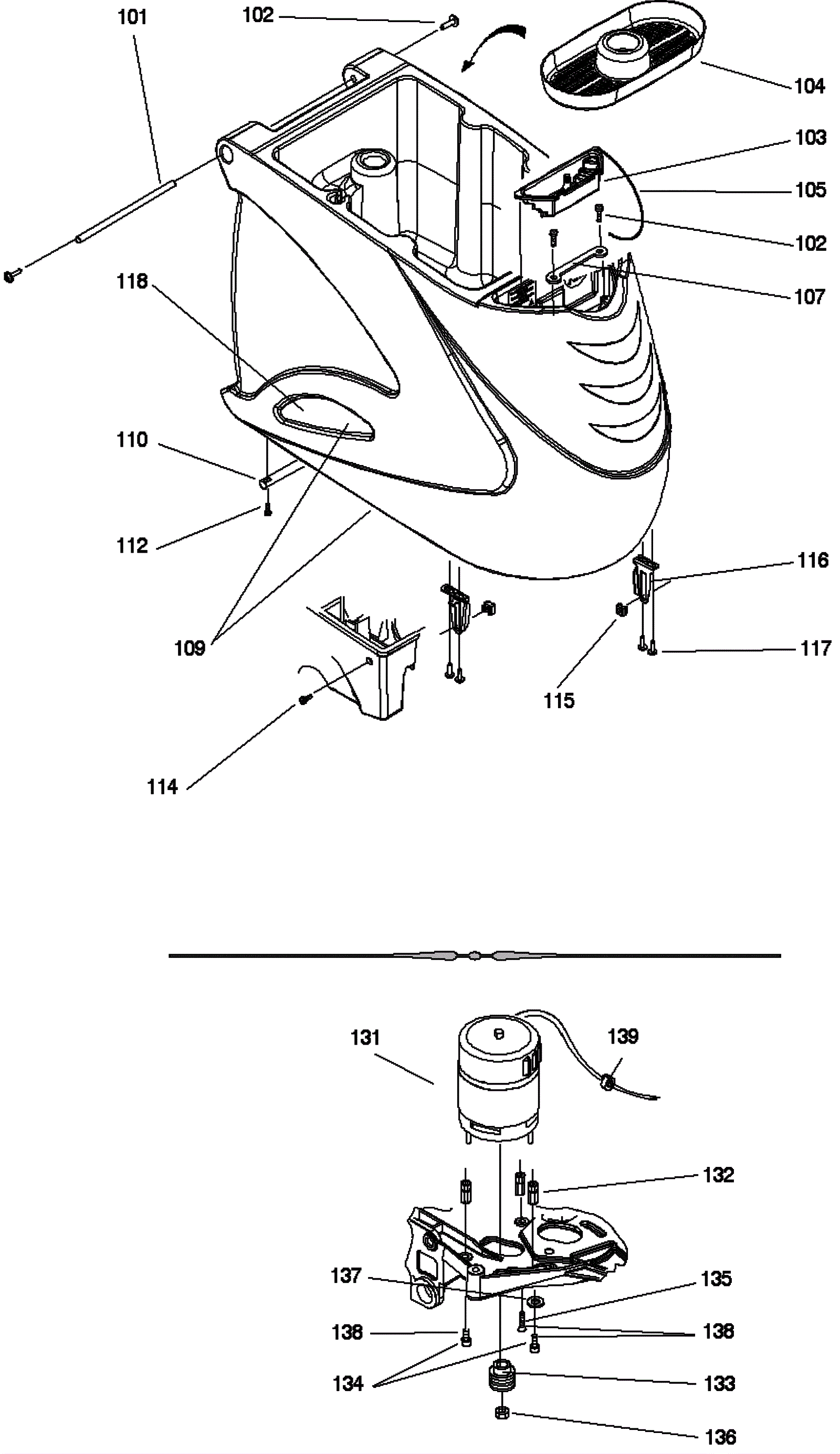
| # | Part | Description | Price | Req | Notes | Availability |
101 |
192-9538
|
Axle |
$13.85
|
1 |
|
usually ships 19-25 days |
102 |
192-1561
|
Screw 60 x 20 torx head |
$2.56
|
4 |
|
ships same day |
103 |
192-9539
|
Dosing cup |
$9.19
|
1 |
|
ships same day |
104 |
192-1511
|
Basket filter |
$11.67
|
1 |
|
ships same day |
105 |
292-0096
|
Cord |
$2.56
|
1 |
|
ships same day |
107 |
192-1513
|
Locking plate |
$3.66
|
1 |
|
usually ships 19-25 days |
109a |
192-9540
|
Tank |
$788.57
|
1 |
(Swingo 755) |
ships same day |
109b |
192-9398
|
Tank |
$793.79
|
1 |
(Swingo 855) |
usually ships 19-25 days |
110 |
192-1508
|
Axle |
$14.18
|
1 |
|
ships same day |
112 |
192-1509
|
Screw 60 x 25 torx head |
$4.57
|
2 |
|
ships same day |
114 |
192-1524
|
Screw M8 x 20mm flange socket head |
$2.56
|
2 |
|
ships same day |
115 |
192-2591
|
Nut M8 caged |
$2.56
|
2 |
|
ships same day |
116 |
192-9541
|
Bracket |
$4.95
|
2 |
|
ships same day |
117 |
192-1561
|
Screw 60 x 20 torx head |
$2.56
|
4 |
|
ships same day |
118a |
292-8612
|
Decorative label 755b |
$6.11
|
1 |
(Swingo 755) |
usually ships 19-25 days |
118b |
292-8613
|
Decorative label 855b |
$32.18
|
1 |
(Swingo 855) |
usually ships 19-25 days |
131 |
192-5078
|
24V brush motor with noise suppression |
$345.87
|
1 |
|
ships same day |
132 |
192-8633
|
Stud |
$7.82
|
3 |
|
ships same day |
133 |
192-5815
|
Pulley |
$10.46
|
1 |
|
ships same day |
134 |
192-5942
|
Screw M6 x 16mm raised cheese head torx |
$2.56
|
2 |
|
usually ships 19-25 days |
135 |
192-2979
|
Screw M6 x 16mm countersunk head cap |
$2.56
|
1 |
|
ships same day |
136 |
192-0800
|
Nut M12 left hand thread hex |
$4.62
|
1 |
|
ships same day |
137 |
192-0200
|
Washer M6 |
$3.28
|
1 |
|
usually ships 19-25 days |
138 |
292-8528
|
.5ml capsule loctite medium strength thread lock (red) |
$55.00
|
1 |
|
usually ships 16-20 days |
139 |
192-0712
|
Coil with toric core |
$7.13
|
1 |
|
usually ships 19-25 days |