| # | Part | Description | Price | Req | Notes | Availability |
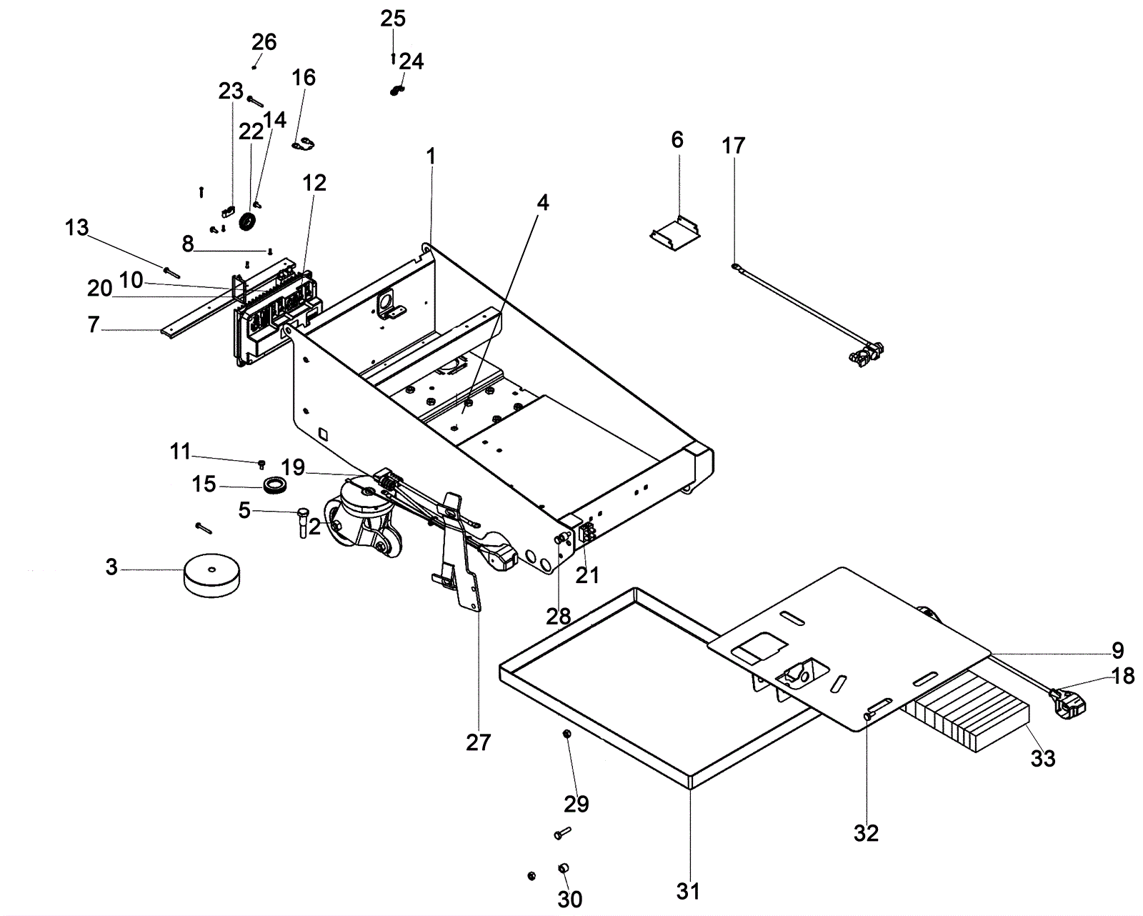
1 |
192-9294
|
Chassis |
$530.35
|
1 |
|
usually ships 1-5 days |
2a |
292-1034
|
Complete castor |
$423.01
|
1 |
(includes 2b-2c) |
ships same day |
2b |
192-6380
|
Caster replacement wheel (brown) (pkg of 2) |
$140.51
|
1 |
(optional) |
ships same day |
2c |
292-0506
|
Wheel |
$38.59
|
2 |
(optional) |
ships same day |
3 |
292-0008
|
Spacer |
$32.69
|
1 |
|
usually ships 19-25 days |
4 |
292-5363
|
Plate |
$11.02
|
1 |
|
usually ships 19-25 days |
5 |
192-4218
|
Screw M12 x 30mm hex head |
$2.56
|
1 |
|
ships same day |
6 |
192-9291
|
Splash guard |
$6.15
|
1 |
|
ships same day |
7 |
192-9295
|
Bumper profile |
$4.96
|
1 |
|
usually ships 19-25 days |
8 |
192-8588
|
Pop rivet |
$2.89
|
4 |
|
usually ships 19-25 days |
9 |
192-9292
|
Plastic weldment |
$20.77
|
1 |
|
usually ships 19-25 days |
10 |
192-9202
|
Relay |
$104.74
|
1 |
|
ships same day |
11 |
192-5931
|
Screw M6 x 12mm truss head phillips |
$2.56
|
2 |
|
ships same day |
12 |
192-9287
|
Electronic control board |
$1,018.34
|
1 |
|
ships same day |
13 |
192-9288
|
Screw M5 x 35mm self threading |
$2.56
|
4 |
|
ships same day |
14 |
192-0101
|
Screw M5 x 12mm self tapping form |
$2.56
|
2 |
|
ships same day |
15 |
192-9289
|
Grommet |
$11.54
|
1 |
|
ships same day |
16 |
192-9286
|
Diode |
$5.76
|
1 |
|
ships same day |
17 |
292-8559
|
Wire-6 AWG 16mm (red) |
$122.95
|
1 |
|
usually ships 19-25 days |
18 |
192-1406
|
Battery cable |
$64.36
|
3 |
|
ships same day |
19 |
292-8560
|
Wire-6 AWG 16mm (black) |
$84.18
|
1 |
|
usually ships 19-25 days |
20 |
192-0794
|
Cable tie |
$0.89
|
2 |
|
ships same day |
21 |
292-5568
|
Connection block |
$9.44
|
1 |
|
usually ships 19-25 days |
22 |
292-5561
|
Membrane |
$4.82
|
1 |
|
usually ships 19-25 days |
23 |
192-2797
|
Clamp |
$5.64
|
1 |
|
usually ships 19-25 days |
24 |
192-2496
|
Cable clamp |
$2.56
|
1 |
|
usually ships 19-25 days |
25 |
192-0294
|
Screw M3 x 20 raised cheese head |
$2.56
|
2 |
|
usually ships 19-25 days |
26 |
192-0677
|
Washer M3 |
$2.56
|
2 |
|
usually ships 19-25 days |
27 |
292-8561
|
Plate |
$294.88
|
1 |
|
usually ships 19-25 days |
28 |
192-0838
|
Screw M8 x 30 hex head |
$3.80
|
2 |
|
usually ships 1-5 days |
29 |
999-0471
|
Nut M8-1.25 nylon insert lock zinc plated |
$0.99
|
2 |
|
ships same day |
30 |
292-8562
|
Bushing |
$11.15
|
2 |
|
ships same day |
31 |
192-9382
|
Battery tray |
$114.36
|
1 |
|
usually ships 19-25 days |
32 |
999-0517
|
Bolt M8-1.25 x 16mm hex head full thread zinc |
$0.99
|
1 |
|
ships same day |
33 |
192-9238
|
Spacer set |
$11.54
|
1 |
|
ships same day |