| # | Part | Description | Price | Req | Notes | Availability |
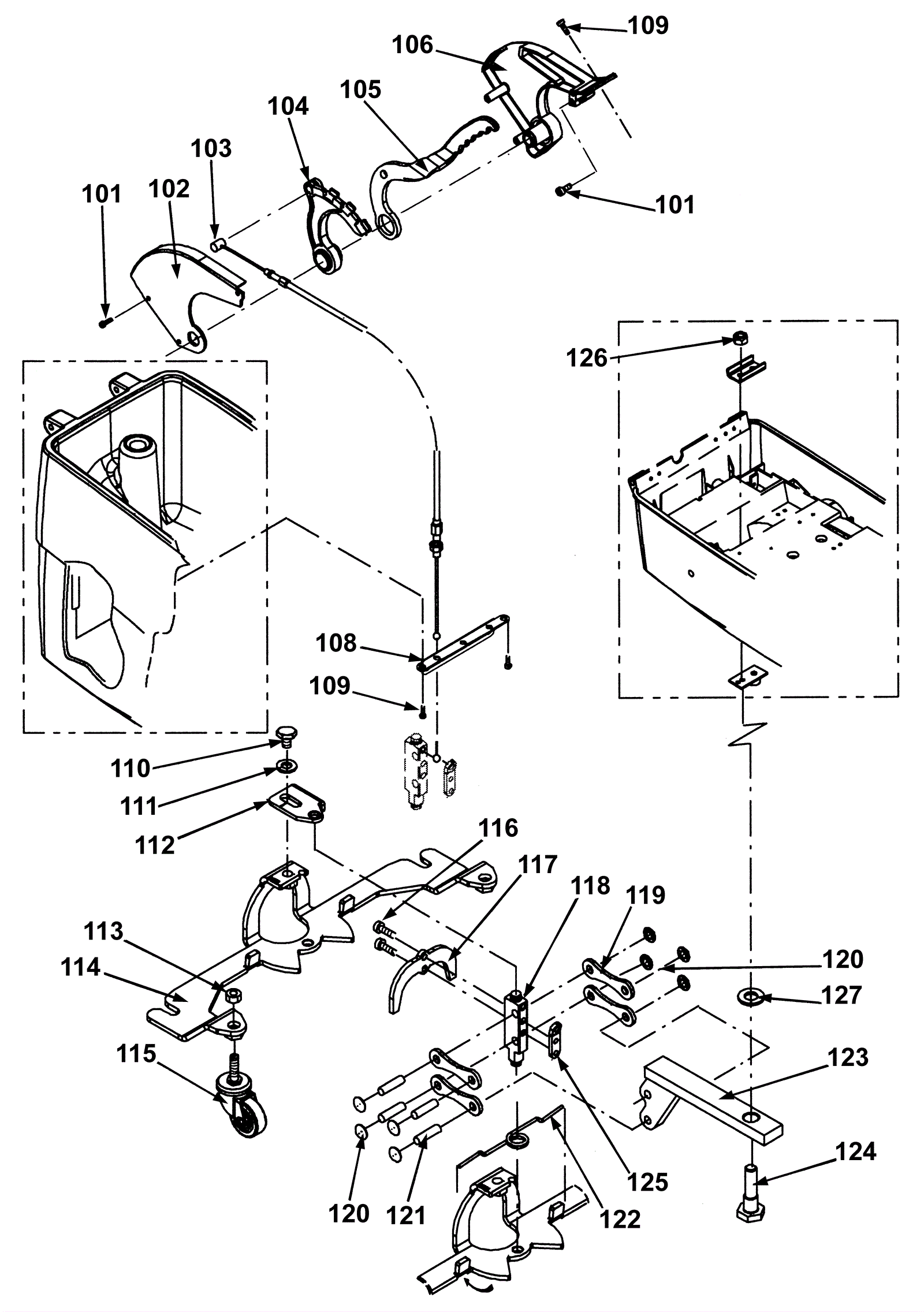
101 |
192-1595
|
Screw M40 x 16mm torx head |
$2.56
|
4 |
|
ships same day |
102 |
192-3079
|
Cover |
$18.32
|
1 |
|
ships same day |
103 |
192-1469
|
Bowden cable (OBSOLETE) |
$50.62
|
1 |
|
usually ships 19-25 days |
104 |
192-2164
|
Bracket (OBSOLETE) |
$17.73
|
1 |
|
usually ships 19-25 days |
105 |
192-4788
|
Squeegee lever (OBSOLETE - REPLACED BY 192-4789 & 192-4129) |
$55.96
|
1 |
|
usually ships 1-5 days |
106 |
192-4489
|
Housing |
$31.45
|
1 |
|
usually ships 19-25 days |
108 |
192-2487
|
Bracket |
$13.77
|
1 |
|
usually ships 19-25 days |
109 |
192-1561
|
Screw 60 x 20 torx head |
$2.56
|
3 |
|
ships same day |
110 |
192-1455
|
Screw M10 x 16mm hex head |
$4.43
|
1 |
|
ships same day |
111 |
192-0496
|
Washer M10 |
$2.56
|
1 |
|
usually ships 19-25 days |
112 |
192-1456
|
Adjusting plate |
$15.85
|
1 |
|
ships same day |
113 |
192-1135
|
Nut M10 hex |
$2.56
|
2 |
|
ships same day |
114 |
192-6650
|
Mounting bracket (OBSOLETE) |
$147.26
|
1 |
|
usually ships 19-25 days |
115 |
292-8548
|
Caster wheel |
$45.77
|
2 |
|
ships same day |
117 |
192-1463
|
Gripper fork (OBSOLETE) |
$44.76
|
1 |
|
usually ships 19-25 days |
118 |
192-1464
|
Axle |
$31.23
|
1 |
|
usually ships 19-25 days |
119 |
192-1712
|
Bracket (OBSOLETE) |
$5.62
|
4 |
|
usually ships 19-25 days |
120 |
192-2779
|
Snap ring |
$4.70
|
8 |
(used to be a washer star cap which became obsolete - these snap rings are used with the 192-1766 axle) |
ships same day |
121 |
192-1766
|
Axle |
$5.59
|
4 |
|
usually ships 19-25 days |
122 |
192-1460
|
Spring |
$3.41
|
1 |
|
ships same day |
123 |
192-6851
|
Bracket |
$177.97
|
1 |
|
usually ships 19-25 days |
124 |
192-6547
|
Special screw (OBSOLETE) |
$22.63
|
1 |
|
usually ships 1-5 days |
125 |
192-4249
|
Rope clamp |
$2.44
|
1 |
|
ships same day |
126 |
999-0471
|
Nut M8-1.25 nylon insert lock zinc plated |
$0.99
|
1 |
|
ships same day |
127 |
192-7395
|
Washer (OBSOLETE) |
$6.28
|
1 |
|
usually ships 1-5 days |