# | Part | Description | Price | Req | Notes | Availability |
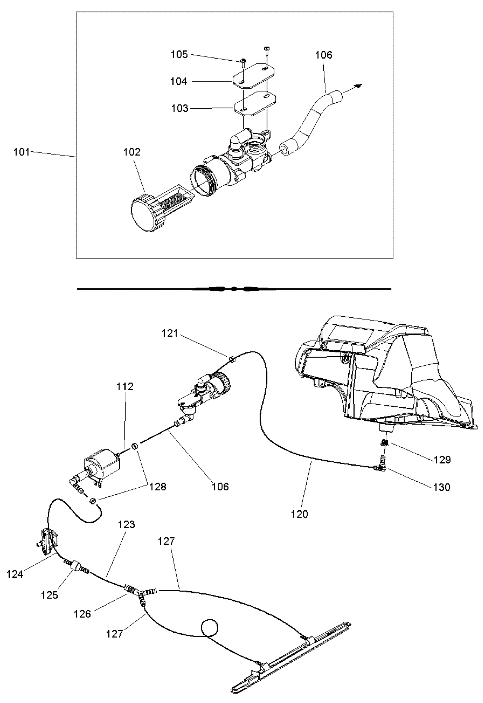
101 |
192-8878
|
Solution filter assembly |
$49.18
|
1 |
(includes 102-106) |
usually ships 19-25 days |
102 |
292-0082
|
Filter kit |
$11.67
|
1 |
|
ships same day |
103 |
192-8879
|
Gasket |
$2.56
|
1 |
|
ships same day |
104 |
192-8880
|
Plate |
$2.56
|
1 |
|
ships same day |
105 |
192-0548
|
Screw KA 35 x 10 |
$2.56
|
2 |
|
ships same day |
106 |
292-0120
|
Reducing hose |
$9.48
|
1 |
|
usually ships 1-5 days |
112 |
192-0639
|
Solution hose (sold by the inch) |
$0.99
|
.4 in |
(after 04.2020) |
ships same day |
120a |
192-9207
|
Hose with protection (sold by the inch) |
$0.99
|
12 in |
(version 1) |
usually ships 19-25 days |
120b |
192-0400
|
Wire reinforced hose (sold by the inch) |
$0.99
|
12 in |
(version 2) |
ships same day |
121 |
192-9210
|
Hose clamp |
$2.56
|
1 |
|
usually ships 19-25 days |
123 |
192-8881
|
PVC hose (sold by the inch) |
$0.99
|
6 in |
|
usually ships 19-25 days |
124a |
192-4345
|
Hose 6 per m |
$40.19
|
31 in |
(after 04.2020) |
usually ships 1-5 days |
124b |
192-8881
|
PVC hose (sold by the inch) |
$0.99
|
31 in |
(before 02.2020) |
usually ships 19-25 days |
125 |
192-8882
|
Check valve |
$43.92
|
1 |
|
usually ships 19-25 days |
126 |
192-8883
|
Y connector |
$4.18
|
1 |
|
usually ships 19-25 days |
127 |
192-0639
|
Solution hose (sold by the inch) |
$0.99
|
29 in |
|
ships same day |
128 |
192-4377
|
Hose clamp |
$5.51
|
2 |
(after 04.2020) |
usually ships 19-25 days |
129 |
292-0921
|
Grommet |
$11.57
|
1 |
(after 04.2020) |
usually ships 19-25 days |
130 |
192-2596
|
Tube connector |
$7.89
|
1 |
(after 04.2020) |
ships same day |