| # | Part | Description | Price | Req | Notes | Availability |
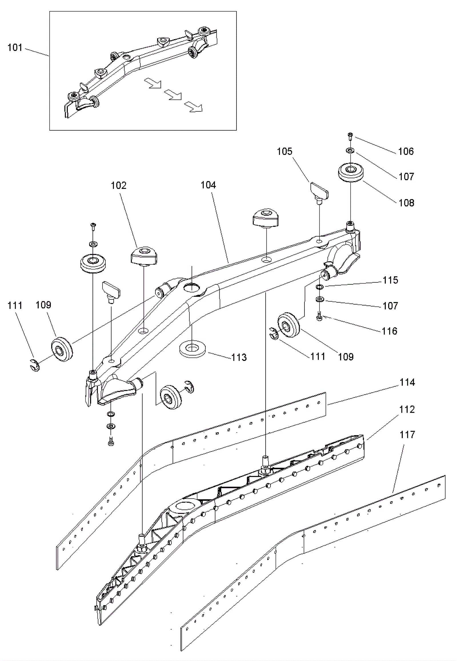
101 |
192-8818
|
Squeegee assembly |
$391.00
|
1 |
(includes 102-117) |
ships same day |
102 |
292-5146
|
Knob with plug |
$13.72
|
2 |
|
ships same day |
104 |
192-8821
|
Upper squeegee weldment |
$90.12
|
1 |
|
ships same day |
105 |
192-8822
|
Winged knob |
$21.67
|
2 |
|
ships same day |
106 |
192-0767
|
Screw KA 40 x 10 |
$4.10
|
2 |
|
ships same day |
107 |
192-0325
|
Washer |
$2.56
|
4 |
|
usually ships 19-25 days |
108 |
192-7464
|
Guide wheel |
$2.70
|
2 |
|
usually ships 19-25 days |
109 |
192-8823
|
Guide wheel |
$10.33
|
3 |
|
ships same day |
111 |
192-2776
|
Snap ring |
$2.56
|
3 |
|
ships same day |
112 |
192-8824
|
Bottom squeegee weldment |
$48.59
|
1 |
|
usually ships 19-25 days |
113 |
192-8825
|
Sealing ring |
$3.08
|
1 |
|
usually ships 19-25 days |
114 |
192-8826
|
Squeegee blade rear |
$49.18
|
1 |
|
ships same day |
115 |
192-5394
|
O-ring |
$2.56
|
2 |
|
ships same day |
116 |
192-0786
|
Screw 4 x 10 socket head |
$2.56
|
2 |
|
ships same day |
117 |
192-8827
|
Squeegee blade front |
$46.93
|
1 |
|
ships same day |
N/S |
292-8528
|
.5ml capsule loctite medium strength thread lock (red) |
$55.00
|
1 |
|
usually ships 16-20 days |