| # | Part | Description | Price | Req | Notes | Availability |
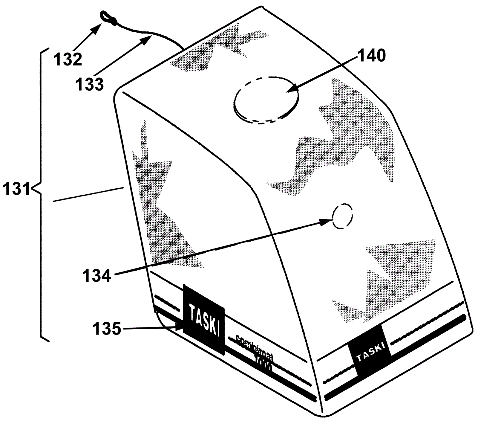
131 |
192-4276
|
Hood (OBSOLETE) |
$658.12
|
1 |
|
usually ships 1-5 days |
132 |
192-0849
|
Snap hook (OBSOLETE) |
$2.20
|
1 |
|
usually ships 1-5 days |
133 |
192-0714
|
Cord (sold by the inch) |
$2.56
|
23 in |
|
ships same day |
134 |
192-3715
|
Flange (OBSOLETE) |
$28.09
|
1 |
|
usually ships 1-5 days |
135 |
192-3251
|
Decorative strip (OBSOLETE) |
$35.30
|
1 |
|
usually ships 19-25 days |
140 |
192-1313
|
Accessory holder |
$8.80
|
1 |
|
usually ships 19-25 days |