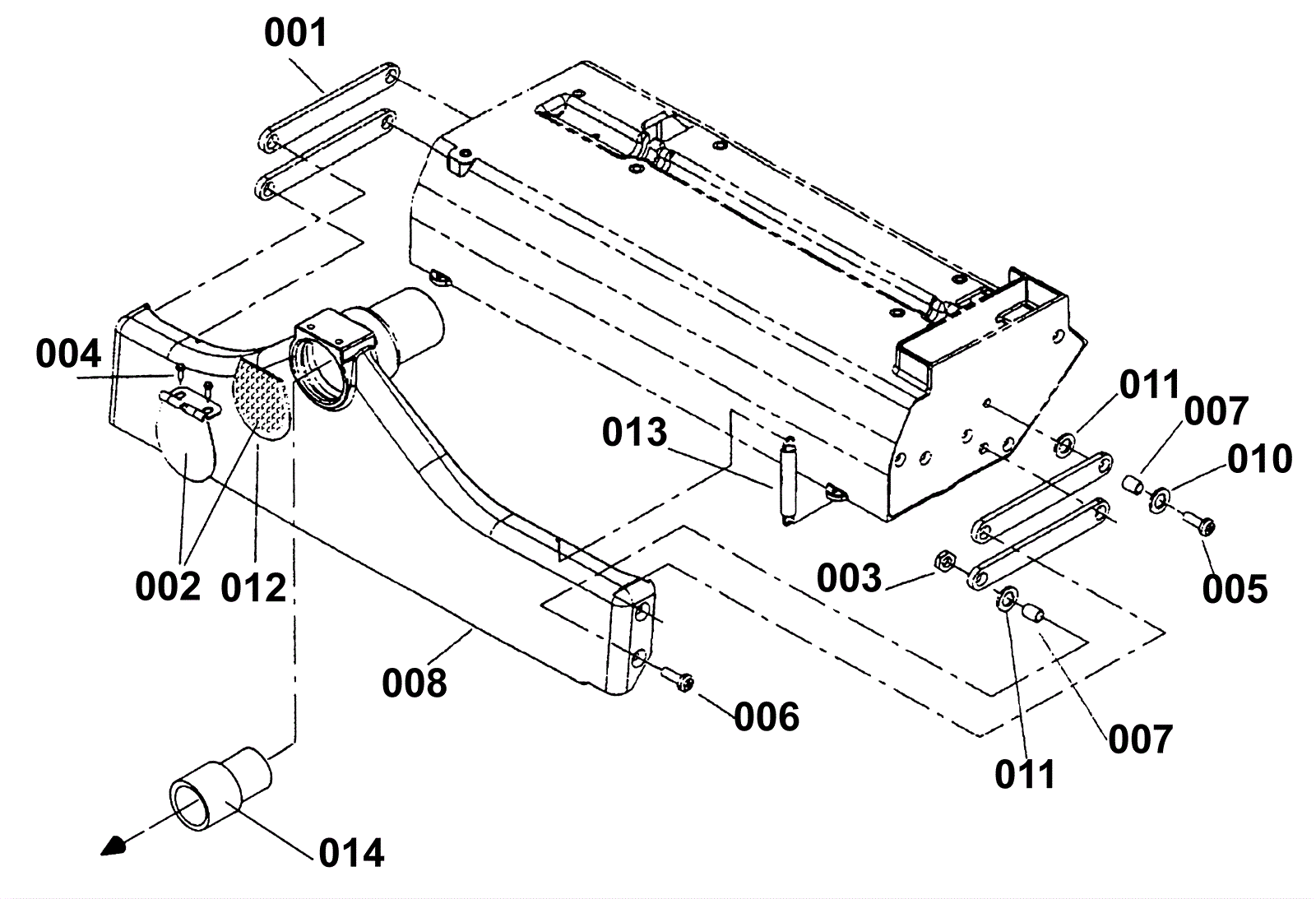
| # | Part | Description | Price | Req | Notes | Availability |
001 |
192-7668
|
Vacuum shoe parallel arm |
$57.12
|
4 |
|
usually ships 1-5 days |
002 |
192-3177
|
Cover with gasket |
$173.28
|
1 |
|
usually ships 1-5 days |
003 |
999-0609
|
Nut 1/4-20 hex stainless steel |
$0.99
|
4 |
|
ships same day |
004 |
192-7669
|
Screw10-32 x 3/8 hex head truss with star |
Call for price
|
2 |
|
usually ships 1-5 days |
005 |
192-6264
|
Screw 1/4 - 20 x 3/4 inch screw head |
$2.56
|
4 |
|
usually ships 19-25 days |
006 |
192-7670
|
Screw 1/4-20 x1 flat head cap screw plated |
Call for price
|
4 |
|
usually ships 1-5 days |
007 |
192-2423
|
Bushing |
$49.24
|
8 |
|
usually ships 1-5 days |
008 |
192-7237
|
Vacuum shoe 15 inch |
$773.31
|
1 |
|
usually ships 1-5 days |
010 |
192-0216
|
Washer |
$1.22
|
4 |
|
ships same day |
011 |
192-7443
|
Washer 3/8 waved |
$9.31
|
8 |
|
usually ships 1-5 days |
012 |
192-3983
|
Gasket |
$16.49
|
1 |
|
usually ships 1-5 days |
013 |
192-6613
|
Spring 3/8 x 2-3/4 |
$20.21
|
2 |
|
usually ships 1-5 days |
014 |
192-2430
|
Bushing |
$24.62
|
|
|
usually ships 1-5 days |