| # | Part | Description | Price | Req | Notes | Availability |
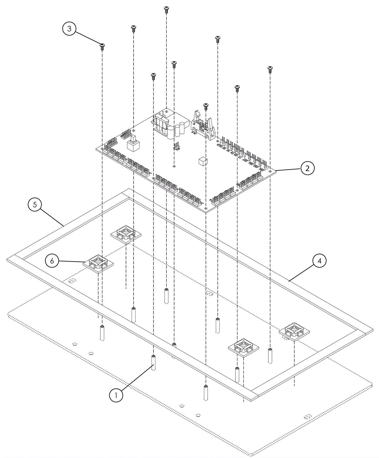
1 |
292-8731
|
Standoff self clinching |
Call for price
|
9 |
|
usually ships 19-25 days |
2 |
292-8732
|
Prox sensor board assembly |
Call for price
|
1 |
|
usually ships 19-25 days |
3 |
292-8733
|
Phillips screw #4-40 x 1/4 inch |
Call for price
|
9 |
|
usually ships 19-25 days |
4 |
292-8734
|
Gasket 1/2 WIDE x 39/64 inch THICK |
$5.50
|
2 |
|
usually ships 19-25 days |
5 |
292-8734
|
Gasket 1/2 WIDE x 39/64 inch THICK |
$5.50
|
2 |
|
usually ships 19-25 days |
6 |
292-8726
|
4-way back cable mount |
Call for price
|
4 |
|
usually ships 19-25 days |