| # | Part | Description | Price | Req | Notes | Availability |
0.9835 |
192-0467
|
Lite thread lock compound |
$249.05
|
|
|
usually ships 1-5 days |
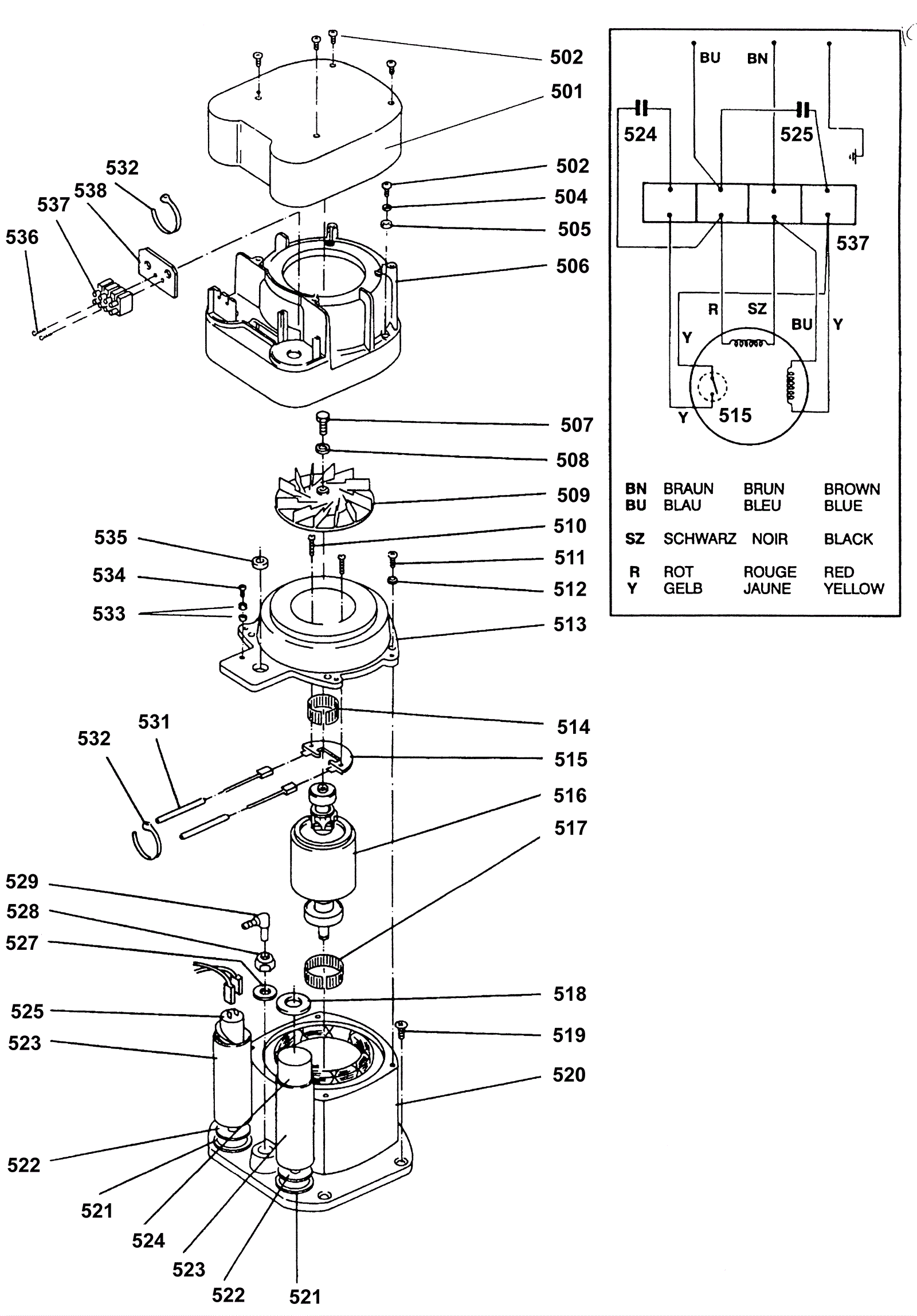
501 |
192-7135
|
Top cover (OBSOLETE) |
$77.98
|
1 |
|
usually ships 1-5 days |
502 |
192-0631
|
Screw raised head |
$2.56
|
8 |
|
usually ships 19-25 days |
504 |
192-1975
|
Washer 5 5/16 /10 belleville (OBSOLETE) |
$2.20
|
4 |
|
usually ships 1-5 days |
505 |
192-4057
|
Grommet (OBSOLETE) |
$2.20
|
4 |
|
usually ships 1-5 days |
506 |
N/A
|
Not available |
Call for price
|
1 |
Cover |
usually ships 3-26 days |
507 |
192-0822
|
Screw M8 x 25 hex head |
$3.47
|
1 |
|
usually ships 19-25 days |
508 |
192-0650
|
Serrated lock washer |
$2.56
|
1 |
|
ships same day |
509 |
192-3562
|
Fan (OBSOLETE) |
$8.65
|
1 |
|
usually ships 1-5 days |
510 |
192-6275
|
Screw 4 x 3/4 (OBSOLETE) |
$2.20
|
2 |
|
usually ships 1-5 days |
511 |
192-0762
|
Screw 5mm-20 raised head |
$2.56
|
4 |
|
usually ships 1-5 days |
512 |
192-1537
|
Washer M5 serrated lock |
$2.56
|
4 |
|
ships same day |
513 |
192-3124
|
Cover (OBSOLETE) |
$111.98
|
1 |
|
usually ships 19-25 days |
514 |
192-6677
|
Star ring (OBSOLETE) |
$5.21
|
1 |
|
usually ships 1-5 days |
515 |
192-3470
|
Electric centrifugal switch (OBSOLETE) |
$95.92
|
1 |
|
usually ships 1-5 days |
516 |
192-6147
|
Complete rotor (OBSOLETE) |
$330.54
|
1 |
|
usually ships 1-5 days |
517 |
192-6678
|
Star ring (OBSOLETE) |
$4.47
|
1 |
|
usually ships 1-5 days |
518 |
192-3311
|
Location disc (OBSOLETE) |
$2.20
|
1 |
|
usually ships 1-5 days |
519 |
192-2983
|
Screw M6 x 30 head cap counters |
$2.56
|
4 |
|
usually ships 1-5 days |
520 |
192-6745
|
Stator with housing (OBSOLETE) |
$885.75
|
1 |
|
usually ships 1-5 days |
521 |
192-6329
|
Sealing ring (OBSOLETE) |
$2.20
|
2 |
|
usually ships 1-5 days |
522 |
192-3306
|
Disc (OBSOLETE) |
$2.27
|
2 |
|
usually ships 1-5 days |
523 |
192-2642
|
Capacitor housing (OBSOLETE) |
$2.20
|
2 |
|
usually ships 1-5 days |
524 |
192-6703
|
Start capacitor (black) (OBSOLETE) |
$101.55
|
1 |
|
usually ships 1-5 days |
525 |
192-6219
|
Run capacitor 16 uF (white) (OBSOLETE) |
$17.35
|
1 |
|
usually ships 1-5 days |
527 |
192-1282
|
Leveling disc (OBSOLETE) |
$2.20
|
1 |
|
usually ships 1-5 days |
528 |
192-6341
|
Nut M16 self locking (OBSOLETE) |
$2.20
|
1 |
|
usually ships 1-5 days |
529 |
192-1692
|
Angled nipple (OBSOLETE) |
$4.30
|
1 |
|
usually ships 1-5 days |
531 |
192-4582
|
Insulating tube |
$2.56
|
|
|
usually ships 19-25 days |
532 |
192-0973
|
3 1/4 inch cable tie |
$2.56
|
2 |
|
usually ships 19-25 days |
533 |
999-0315
|
Washer #8 external star lock zinc plated |
$0.99
|
2 |
|
ships same day |
534 |
192-0060
|
Screw M4 x 8 self tapping forming |
$2.44
|
1 |
|
usually ships 19-25 days |
535 |
192-2429
|
Strain relief bushing (OBSOLETE) |
$2.20
|
1 |
|
usually ships 19-25 days |
536 |
192-5458
|
Screw pan head tapping |
$5.20
|
2 |
|
usually ships 1-5 days |
537 |
192-0260
|
2-way connection block |
$2.95
|
1 |
|
ships same day |
538 |
192-5570
|
Plate (OBSOLETE) |
$4.08
|
1 |
|
usually ships 1-5 days |