# | Part | Description | Price | Req | Notes | Availability |
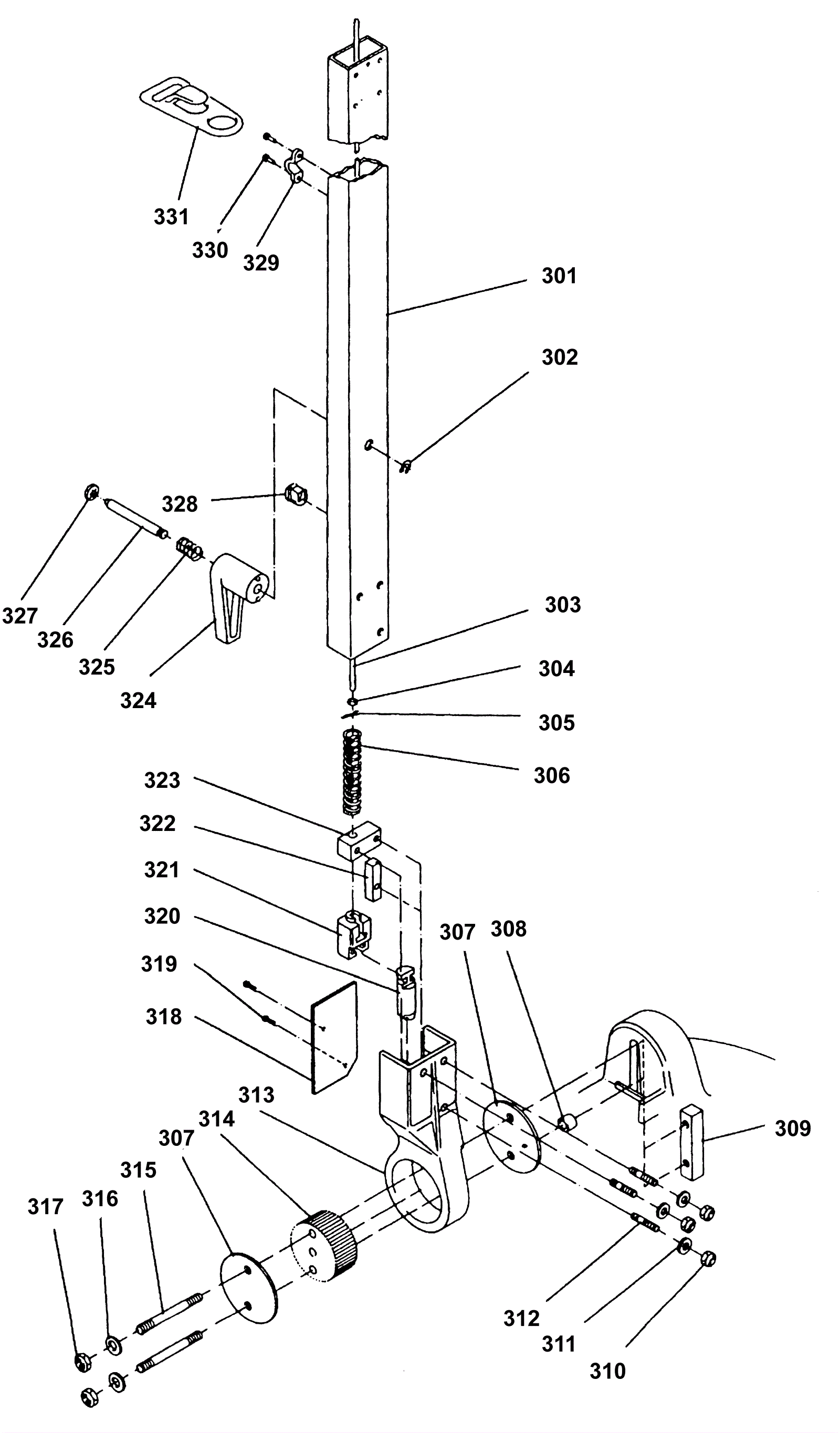
301 |
192-4082
|
Guide bar (OBSOLETE) |
$99.47
|
1 |
|
usually ships 1-5 days |
302 |
192-1348
|
Retaining ring |
$6.49
|
1 |
|
usually ships 19-25 days |
303 |
192-6118
|
Plunger rod (OBSOLETE) |
$23.47
|
1 |
|
usually ships 1-5 days |
304 |
192-0206
|
Washer M5 |
$1.80
|
1 |
|
ships same day |
305 |
192-2968
|
Cotter pin (OBSOLETE) |
$2.20
|
1 |
|
usually ships 1-5 days |
306 |
192-5669
|
Pressure spring (OBSOLETE) |
$2.20
|
1 |
|
usually ships 1-5 days |
307 |
N/A
|
Not available |
Call for price
|
2 |
Washer |
usually ships 3-26 days |
308 |
192-2410
|
Bushing (OBSOLETE) |
$4.94
|
1 |
|
usually ships 1-5 days |
309 |
192-5569
|
Plate (OBSOLETE) |
$35.42
|
1 |
|
usually ships 1-5 days |
310 |
192-6338
|
Nut 5/16 self locking (OBSOLETE) |
$2.20
|
3 |
|
usually ships 1-5 days |
311 |
192-0105
|
Washer M8 |
$2.56
|
3 |
|
ships same day |
312 |
192-6806
|
Stud 5/16 x 1 x 1/4 (OBSOLETE) |
$2.20
|
3 |
|
usually ships 1-5 days |
313 |
192-4029
|
Gear housing (OBSOLETE) |
$158.52
|
1 |
|
usually ships 1-5 days |
314 |
192-1479
|
Gear (OBSOLETE) |
$79.57
|
1 |
|
usually ships 1-5 days |
316 |
192-7424
|
Washer 8.4/20 |
$2.56
|
2 |
|
usually ships 19-25 days |
317 |
192-6336
|
Nut 3/8 self locking (OBSOLETE) |
$3.40
|
2 |
|
usually ships 1-5 days |
319 |
192-5444
|
Screw 3 1/2 x 9 1/2 pan head self tapping |
$5.76
|
2 |
|
usually ships 1-5 days |
320 |
N/A
|
Not available |
Call for price
|
1 |
(Plunger) |
usually ships 3-26 days |
321 |
N/A
|
Not available |
Call for price
|
1 |
(Plunger retainer) |
usually ships 3-26 days |
322 |
192-6024
|
Retainer set |
$27.72
|
1 |
|
usually ships 1-5 days |
323 |
192-6024
|
Retainer set |
$27.72
|
1 |
|
usually ships 1-5 days |
324 |
N/A
|
Not available |
Call for price
|
1 |
Cleat |
usually ships 3-26 days |
325 |
192-5670
|
Pressure spring (OBSOLETE) |
$2.20
|
1 |
|
usually ships 1-5 days |
326 |
192-5491
|
Pin (OBSOLETE) |
$6.67
|
1 |
|
usually ships 1-5 days |
327 |
192-6672
|
Cap |
$2.56
|
1 |
|
ships same day |
328 |
192-2429
|
Strain relief bushing (OBSOLETE) |
$2.20
|
1 |
|
usually ships 19-25 days |
329 |
192-2502
|
Cable clamp |
$2.56
|
1 |
|
usually ships 19-25 days |
330 |
N/A
|
Not available |
Call for price
|
2 |
Rivet |
usually ships 3-26 days |
331 |
192-0569
|
Hook (OBSOLETE) |
$2.88
|
1 |
|
usually ships 19-25 days |