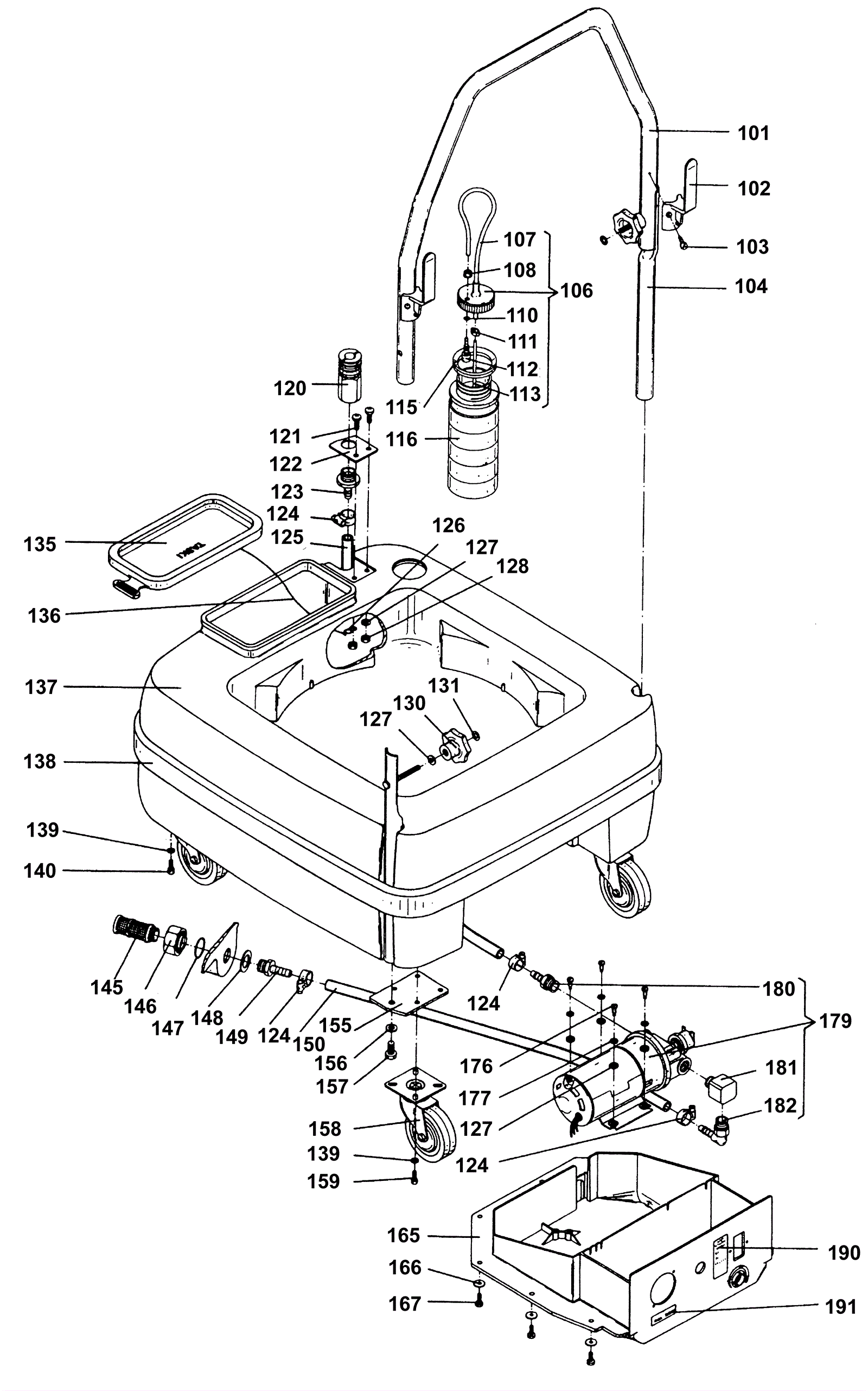
# | Part | Description | Price | Req | Notes | Availability |
101 |
192-4290
|
Hoop (OBSOLETE) |
$350.05
|
1 |
|
usually ships 1-5 days |
102 |
192-2966
|
Cord hook (OBSOLETE) |
$9.39
|
2 |
|
usually ships 1-5 days |
103 |
192-5448
|
Screw B 4 1/2 x 13 pan head self tapping |
$2.56
|
4 |
|
usually ships 1-5 days |
104 |
192-8334
|
Hoop support |
Call for price
|
2 |
|
usually ships 1-5 days |
106 |
192-3152
|
Cover assembled (OBSOLETE) |
$84.04
|
1 |
|
usually ships 1-5 days |
107 |
192-0654
|
Silicone hose (sold by the inch) |
$0.99
|
40 in |
|
usually ships 19-25 days |
108 |
192-8291
|
Nut M6 hexagon |
$0.92
|
1 |
|
usually ships 1-5 days |
110 |
192-5375
|
O-ring 4 15/32 x 1 51/64 (OBSOLETE) |
$2.20
|
1 |
|
usually ships 19-25 days |
111 |
192-4378
|
Hose clamp |
$2.56
|
1 |
|
usually ships 19-25 days |
112 |
192-4390
|
Connector hose |
$13.75
|
1 |
|
usually ships 19-25 days |
113 |
192-0655
|
Hose (sold by the inch) |
$4.74
|
40 in |
|
usually ships 19-25 days |
115 |
192-7383
|
V-seal 55 (OBSOLETE) |
$9.09
|
1 |
|
usually ships 19-25 days |
116 |
192-2112
|
Bottle 1/2 L |
$15.05
|
1 |
|
usually ships 1-5 days |
120 |
192-3604
|
Female quick connector 15 (OBSOLETE) |
$170.13
|
1 |
|
usually ships 1-5 days |
121 |
192-3238
|
Cylindrical screw M6 x 16 (OBSOLETE) |
$2.20
|
2 |
|
usually ships 1-5 days |
122 |
192-6909
|
Supporting plate (OBSOLETE) |
$24.76
|
1 |
|
usually ships 1-5 days |
123 |
N/A
|
Not available |
Call for price
|
1 |
Hose nipple 10-1/2 inch |
usually ships 3-26 days |
124 |
192-4377
|
Hose clamp |
$5.51
|
4 |
|
usually ships 19-25 days |
125 |
192-0599
|
Hose (sold by the inch) |
$0.99
|
40 in |
|
usually ships 19-25 days |
126 |
192-1243
|
S-hook |
$2.56
|
1 |
|
usually ships 19-25 days |
127 |
192-8336
|
Washer 6-13/32 / 12-1/2 |
Call for price
|
7 |
|
usually ships 1-5 days |
128 |
999-1308
|
Nut M6-1 hex stainless steel |
$0.99
|
2 |
|
ships same day |
130 |
192-6676
|
Nut star M6 (OBSOLETE) |
$6.60
|
2 |
|
usually ships 1-5 days |
131 |
192-8337
|
Retaining washer D5 |
Call for price
|
2 |
|
usually ships 1-5 days |
135 |
192-3106
|
Cover (OBSOLETE) |
$36.64
|
1 |
|
usually ships 1-5 days |
136 |
192-8338
|
Rope |
Call for price
|
1 |
|
usually ships 1-5 days |
137 |
192-7001
|
Tank (OBSOLETE) |
$1,307.36
|
1 |
|
usually ships 1-5 days |
138 |
192-8339
|
Protection ring |
Call for price
|
1 |
|
usually ships 1-5 days |
139 |
192-8340
|
Washer 5-5/16 / 12 |
Call for price
|
16 |
|
usually ships 1-5 days |
140 |
192-0066
|
Screw M6 x 25mm socket head cap |
$3.66
|
8 |
|
usually ships 19-25 days |
145 |
192-3676
|
Filter screen (OBSOLETE) |
$73.67
|
1 |
|
usually ships 1-5 days |
146 |
192-5176
|
Nipple (OBSOLETE) |
$181.79
|
1 |
|
usually ships 1-5 days |
147 |
192-5370
|
O-ring 24 x 3 (OBSOLETE) |
$2.20
|
1 |
|
usually ships 1-5 days |
148 |
192-1282
|
Leveling disc (OBSOLETE) |
$2.20
|
1 |
|
usually ships 1-5 days |
149 |
192-4419
|
Hose nipple 10-3/8 inch (OBSOLETE) |
$28.53
|
1 |
|
usually ships 1-5 days |
150 |
192-0599
|
Hose (sold by the inch) |
$0.99
|
40 in |
|
usually ships 19-25 days |
155 |
192-8341
|
Fish plate |
Call for price
|
2 |
|
usually ships 1-5 days |
156 |
192-0105
|
Washer M8 |
$2.56
|
2 |
|
ships same day |
157 |
999-0517
|
Bolt M8-1.25 x 16mm hex head full thread zinc |
$0.99
|
1 |
|
ships same day |
158 |
N/A
|
Not available |
Call for price
|
4 |
Castor D 75 |
usually ships 3-26 days |
159 |
192-0077
|
Screw M5 x 12mm socket head |
$0.89
|
8 |
|
ships same day |
165a |
192-5856
|
Pump frame SEA (OBSOLETE) |
$374.07
|
1 |
|
usually ships 1-5 days |
165b |
192-8343
|
Schuko pump frame |
Call for price
|
1 |
|
usually ships 1-5 days |
166 |
192-0615
|
Washer |
$1.91
|
8 |
|
ships same day |
167 |
192-8301
|
Screw M5 x 10 raised cheese head |
$0.92
|
8 |
|
usually ships 1-5 days |
177 |
192-0179
|
Washer M6 serrated lock |
$2.56
|
4 |
|
usually ships 19-25 days |
179 |
192-8344
|
Pump preassembled (OBSOLETE) |
Call for price
|
1 |
|
usually ships 1-5 days |
180 |
192-4423
|
Hose nipple 8-3/8 inch (OBSOLETE) |
$13.27
|
1 |
|
usually ships 1-5 days |
181 |
192-8345
|
Socket angled 3/8 |
Call for price
|
1 |
|
usually ships 1-5 days |
182 |
192-1688
|
Angled hose nipple 8-3/8 inch |
$10.98
|
1 |
|
usually ships 1-5 days |
191 |
192-8346
|
Label 1000 w |
Call for price
|
1 |
|
usually ships 1-5 days |