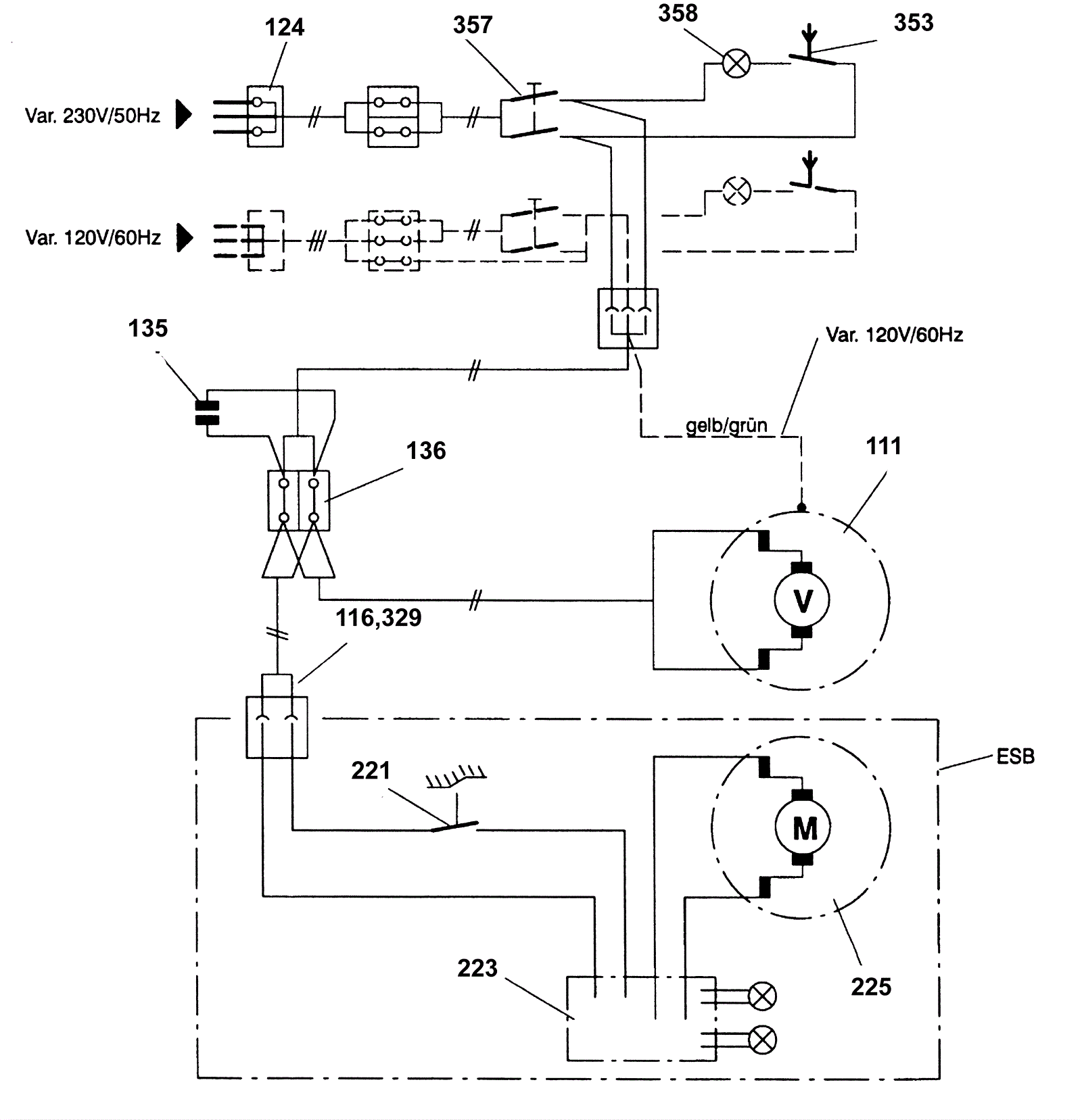
Electrical Diagram 314/3
Click to enlarge