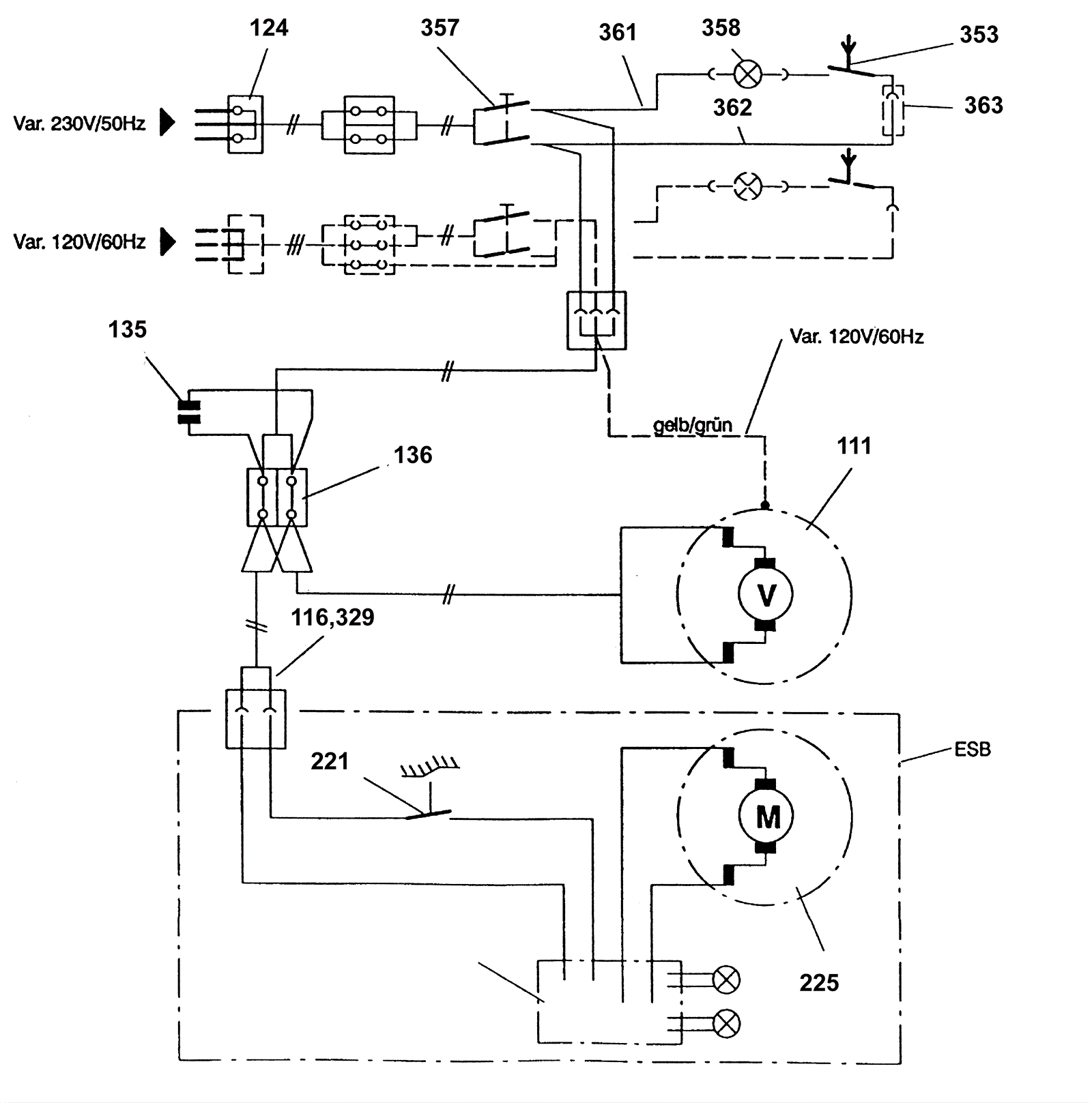
Electrical Diagram 314/3.1
Click to enlarge