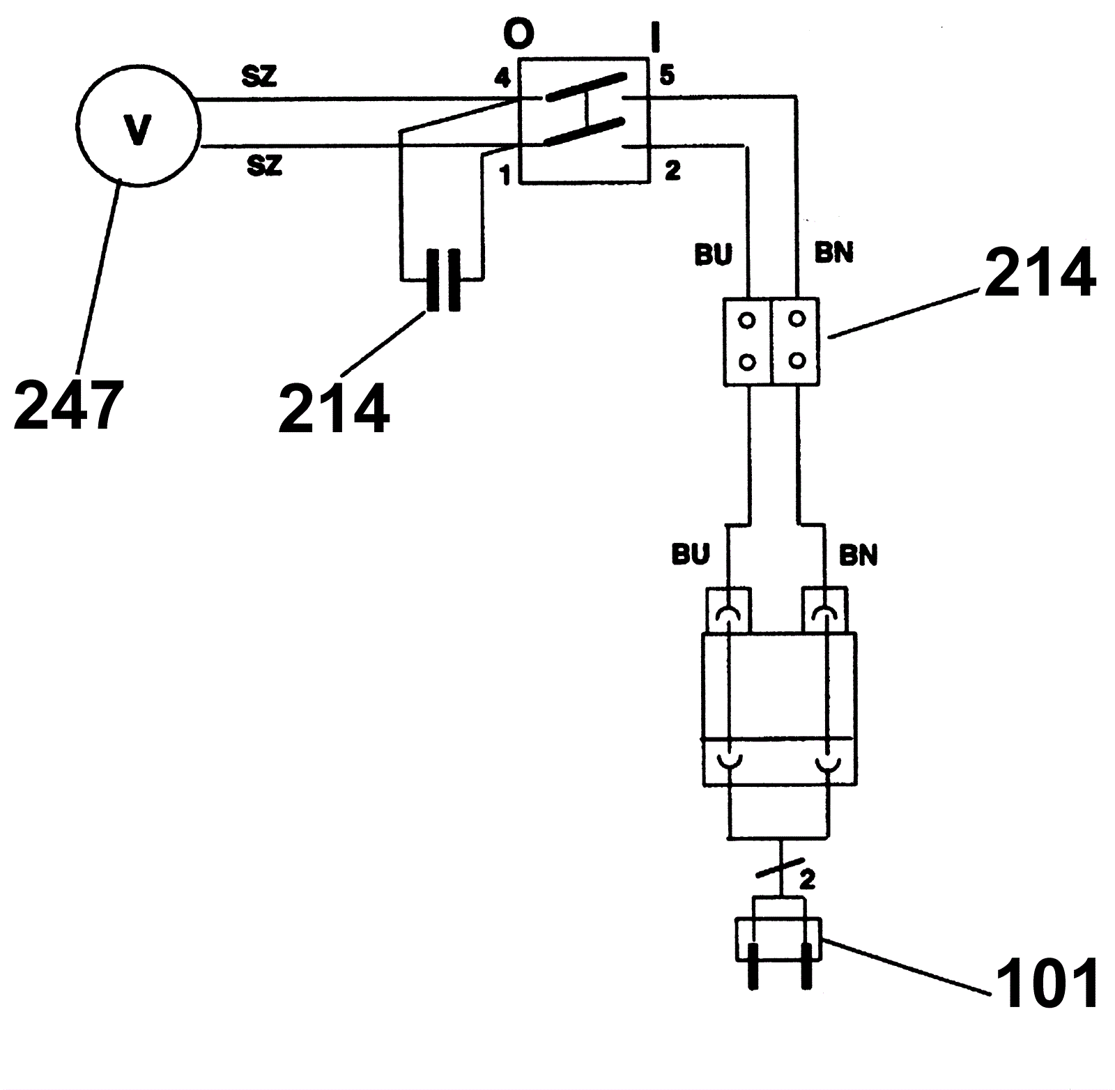
Electrical Diagram - 2
Click to enlarge