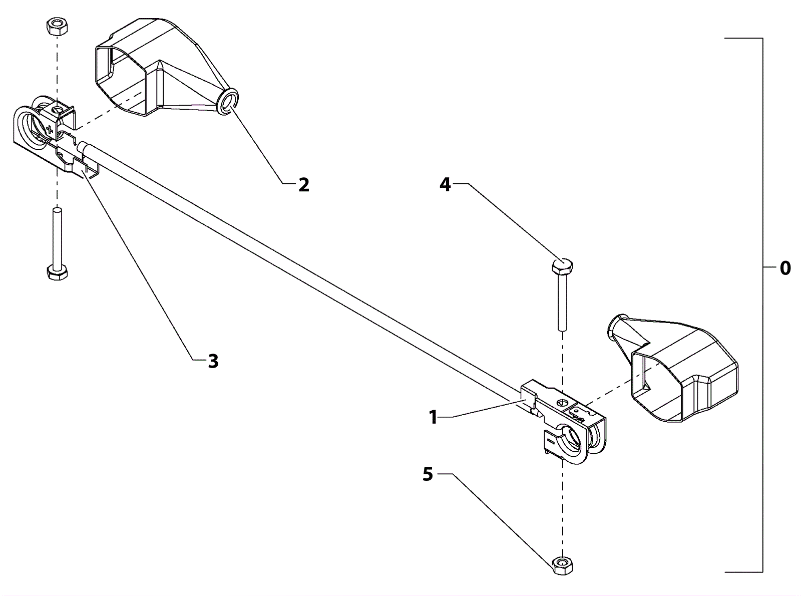
Swingo 955B
Battery Cable Assembly
Click to enlarge
#
Part
Description
Price
Req
Notes
Availability
0
192-1406
Battery cable
Call for price
1
(includes 1-5)
usually ships 18-25 days
1
192-1926
Negative battery clamp
Call for price
1
usually ships 18-25 days
2
192-0886
Battery post cover
Call for price
2
usually ships 18-25 days
3
192-1927
Positive battery clamp
Call for price
1
usually ships 18-25 days
4
192-9355
Screw M6 x 40mm hex head
Call for price
1
usually ships 18-25 days
5
192-0151
Nut M6 hex
Call for price
1
usually ships 18-25 days