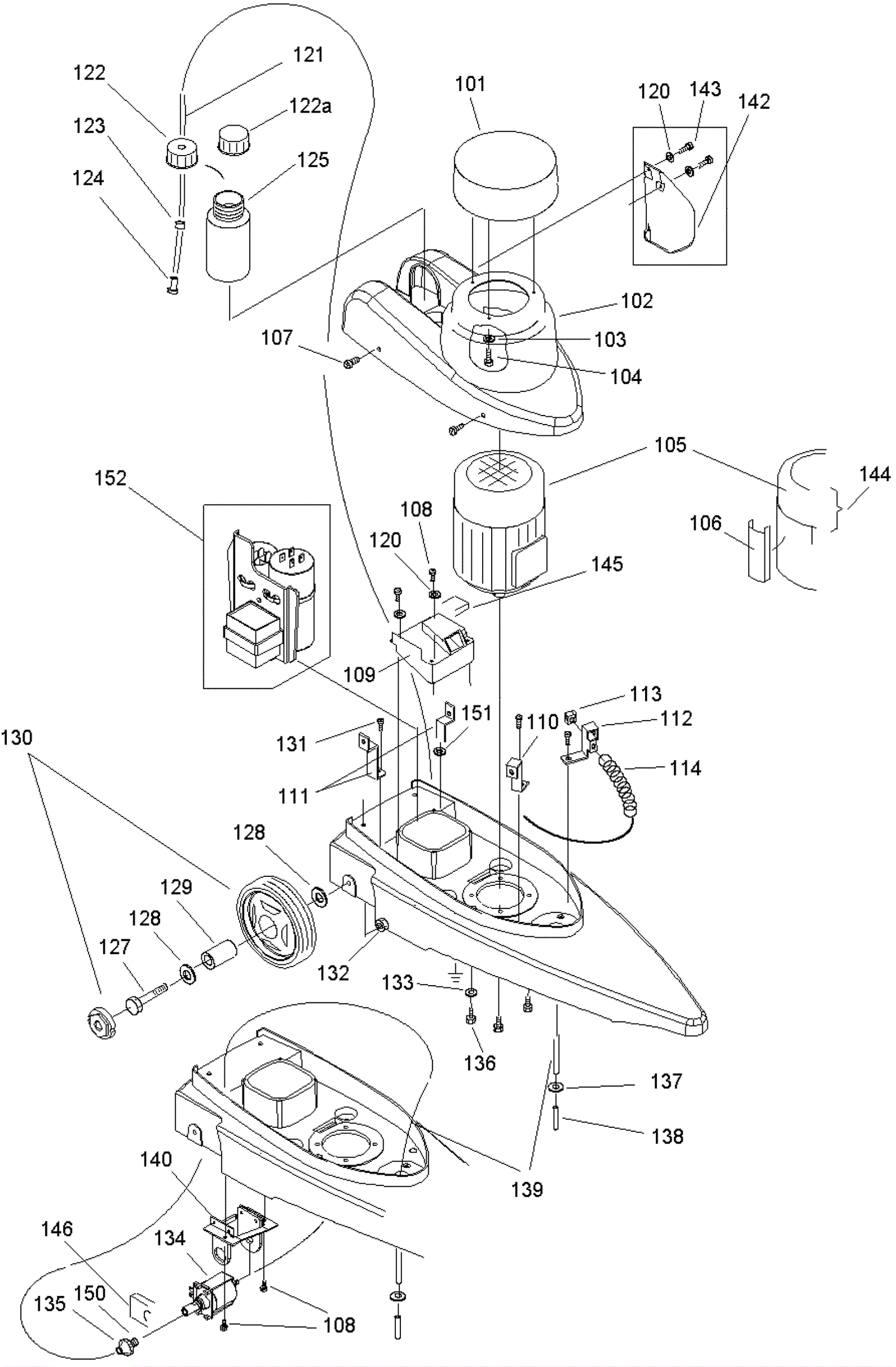
| # | Part | Description | Price | Req | Notes | Availability |
101 |
192-0628
|
Motor cover |
$30.21
|
1 |
|
usually ships 19-25 days |
102 |
192-0629
|
Motor housing |
$235.97
|
1 |
|
usually ships 19-25 days |
103 |
192-0149
|
Washer |
$2.56
|
3 |
|
ships same day |
104 |
192-0547
|
Screw KA 40 x 14 |
$2.56
|
3 |
|
ships same day |
105 |
192-0662
|
Motor |
$1,783.93
|
1 |
|
usually ships 19-25 days |
106 |
192-5773
|
Profile protection |
$3.93
|
1 |
|
usually ships 1-5 days |
107 |
192-0348
|
Screw M8 x 12mm truss head |
$2.56
|
4 |
|
ships same day |
108 |
192-0101
|
Screw M5 x 12mm self tapping form |
$2.56
|
6 |
|
ships same day |
109 |
192-0632
|
Electro cover |
$23.60
|
1 |
|
usually ships 19-25 days |
110 |
192-0633
|
Bracket |
$3.80
|
1 |
|
usually ships 1-5 days |
111 |
192-0634
|
Bracket |
$3.28
|
2 |
|
usually ships 1-5 days |
112 |
192-0666
|
Spring bracket |
$35.72
|
1 |
|
usually ships 1-5 days |
113 |
192-0667
|
Cable clamp |
$12.83
|
1 |
|
usually ships 1-5 days |
114 |
192-0635
|
Guiding spring |
$15.72
|
1 |
|
usually ships 1-5 days |
120 |
192-0880
|
Washer M5 |
$0.89
|
6 |
|
ships same day |
121 |
192-4344
|
Hose (sold by the inch) |
$3.59
|
30 inches |
|
usually ships 19-25 days |
122a |
192-0640
|
Threaded cap |
$8.03
|
1 |
|
ships same day |
122b |
192-8159
|
Cover |
$3.16
|
1 |
|
usually ships 19-25 days |
123 |
192-0642
|
Hose clamp |
$3.16
|
1 |
|
ships same day |
124 |
192-0643
|
Filter |
$13.16
|
1 |
|
usually ships 19-25 days |
125 |
192-0644
|
Container |
$4.10
|
1 |
|
usually ships 19-25 days |
127 |
192-0646
|
Screw M8 x 90 hex head |
$2.56
|
2 |
|
usually ships 19-25 days |
128 |
192-0647
|
Washer |
$5.26
|
4 |
|
ships same day |
129 |
192-0648
|
Bushing |
$19.82
|
2 |
|
usually ships 19-25 days |
130 |
192-0649
|
Wheel (includes hubcap) |
$33.08
|
2 |
|
usually ships 19-25 days |
131 |
192-0007
|
Screw M6 x 16mm socket head cap |
$2.56
|
4 |
|
ships same day |
132 |
192-0510
|
Nut M8 self locking |
$2.56
|
2 |
|
ships same day |
133 |
192-0650
|
Serrated lock washer |
$2.56
|
1 |
|
ships same day |
134a |
192-8317
|
Pump |
$103.03
|
1 |
|
usually ships 19-25 days |
134b |
192-0651
|
120V pump |
$105.77
|
1 |
|
ships same day |
135 |
192-0652
|
Connector |
$11.79
|
1 |
|
usually ships 19-25 days |
136a |
192-0153
|
Screw M8 x 20mm hex head |
$0.89
|
4 |
|
ships same day |
136b |
192-0467
|
Lite thread lock compound |
$249.05
|
1 |
|
usually ships 1-5 days |
137 |
192-0653
|
Washer |
$2.56
|
1 |
|
usually ships 19-25 days |
138 |
192-0654
|
Silicone hose (sold by the inch) |
$0.99
|
1 1/2 inch |
|
usually ships 19-25 days |
139 |
192-0655
|
Hose (sold by the inch) |
$4.74
|
32 inches |
|
usually ships 19-25 days |
140 |
192-0656
|
Pump holder assembly |
$46.16
|
1 |
|
usually ships 19-25 days |
142 |
192-0658
|
Bottle holder |
$64.11
|
1 |
|
ships same day |
143 |
192-0320
|
Screw 50 x 12 for plastic |
$2.56
|
2 |
|
ships same day |
144 |
192-0659
|
Motor cap |
$111.62
|
1 |
|
usually ships 19-25 days |
145 |
192-0660
|
Protection |
$3.03
|
1 |
|
usually ships 19-25 days |
146 |
292-9852
|
Protection cap |
$4.49
|
1 |
|
usually ships 19-25 days |
150 |
192-0218
|
12mm teflon tape |
$15.51
|
1 |
|
usually ships 1-5 days |
151 |
192-0179
|
Washer M6 serrated lock |
$2.56
|
1 |
|
usually ships 19-25 days |
152 |
292-9851
|
120V electrical panel |
$215.46
|
1 |
|
usually ships 19-25 days |
N/S |
192-3558
|
Fan |
$29.82
|
1 |
|
usually ships 19-25 days |
N/S |
192-0467
|
Lite thread lock compound |
$249.05
|
1 |
|
usually ships 1-5 days |