| # | Part | Description | Price | Req | Notes | Availability |
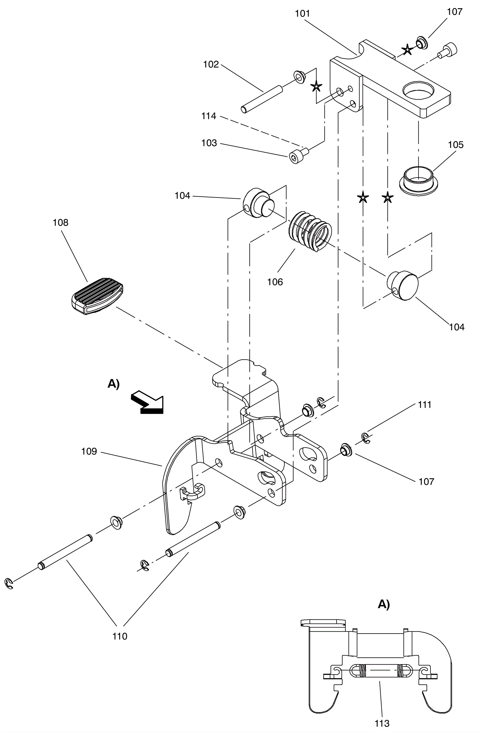
101 |
192-9504
|
Swing arm |
$31.79
|
1 |
|
ships same day |
102 |
192-9505
|
Axle |
$4.49
|
1 |
|
ships same day |
103 |
192-0364
|
Screw M8 x 12mm socket head |
$2.64
|
2 |
|
ships same day |
104 |
192-9506
|
Bolt |
$11.29
|
2 |
|
ships same day |
105 |
192-9507
|
Slide bearing |
$6.61
|
1 |
|
ships same day |
106 |
192-9508
|
Pressure spring |
$12.44
|
1 |
|
usually ships 19-25 days |
107 |
192-6448
|
Slide bearing |
$6.74
|
6 |
|
ships same day |
108 |
192-8983
|
Pedal pad |
$7.30
|
1 |
|
usually ships 19-25 days |
109 |
192-9509
|
Pedal weldment |
$76.29
|
1 |
|
ships same day |
110 |
192-9510
|
Axle |
$5.51
|
2 |
|
ships same day |
111 |
192-0840
|
Snap ring |
$2.56
|
4 |
|
ships same day |
113 |
192-9511
|
Tension spring |
$6.11
|
1 |
|
ships same day |
114 |
292-8528
|
.5ml capsule loctite medium strength thread lock (red) |
$55.00
|
1 |
|
usually ships 16-20 days |