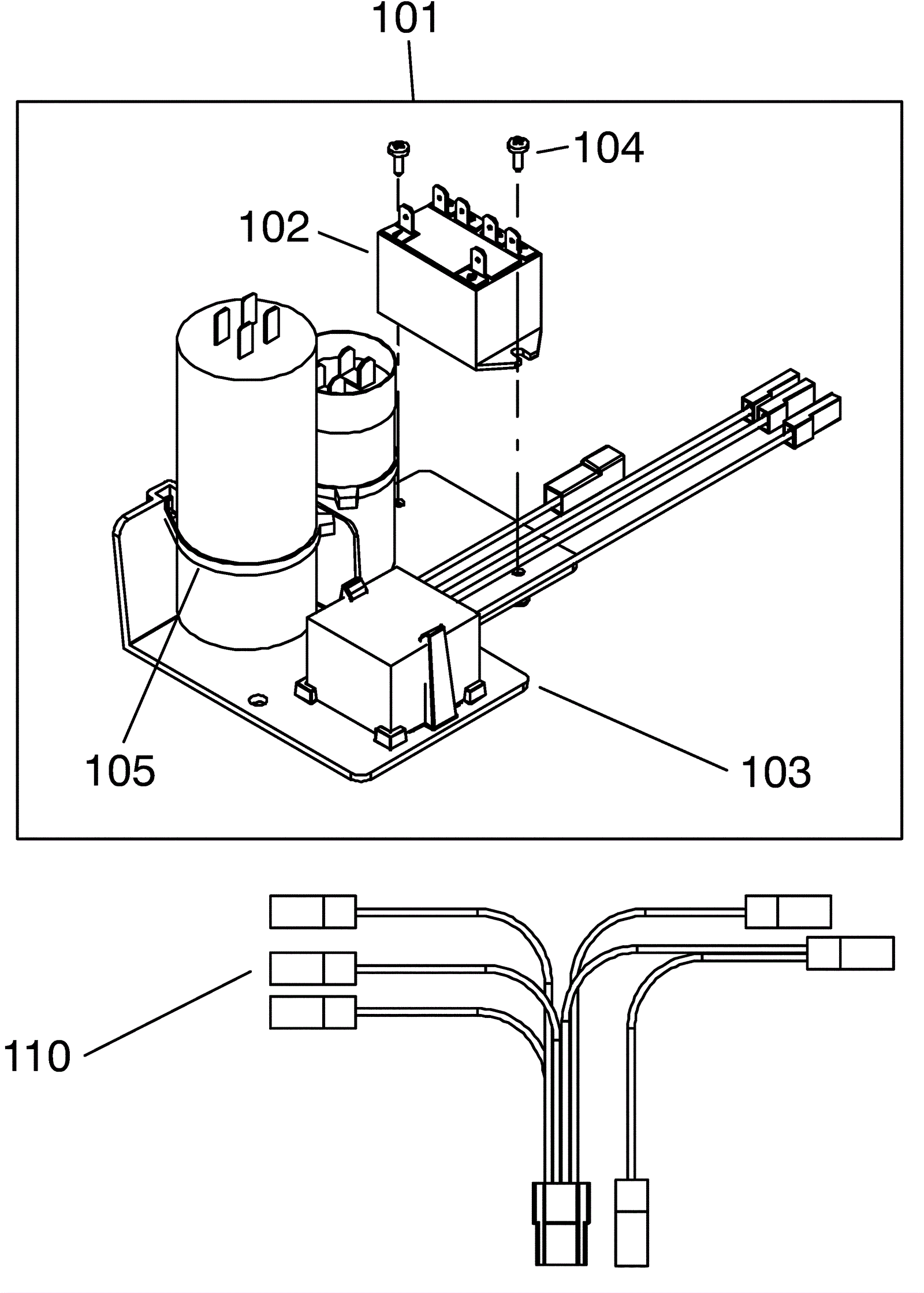
| # | Part | Description | Price | Req | Notes | Availability |
101a |
292-0224
|
Electrical elements assembly |
$314.03
|
1 |
(includes 102a, 103-105) |
usually ships 19-25 days |
101b |
292-8645
|
220V electrical panel |
$318.98
|
1 |
(includes 102b, 130-105) |
usually ships 19-25 days |
102a |
292-0118
|
120V contactor |
$85.77
|
1 |
|
ships same day |
102b |
292-1026
|
240V contactor |
Call for price
|
1 |
|
usually ships 19-25 days |
103 |
292-0225
|
Plate |
$19.36
|
1 |
|
usually ships 19-25 days |
104 |
192-0941
|
Screw M40 x M10 for plastic |
$4.57
|
2 |
|
usually ships 19-25 days |
105 |
192-0794
|
Cable tie |
$0.89
|
2 |
|
ships same day |
110 |
292-0226
|
Wiring harness |
$30.53
|
1 |
|
usually ships 19-25 days |