| # | Part | Description | Price | Req | Notes | Availability |
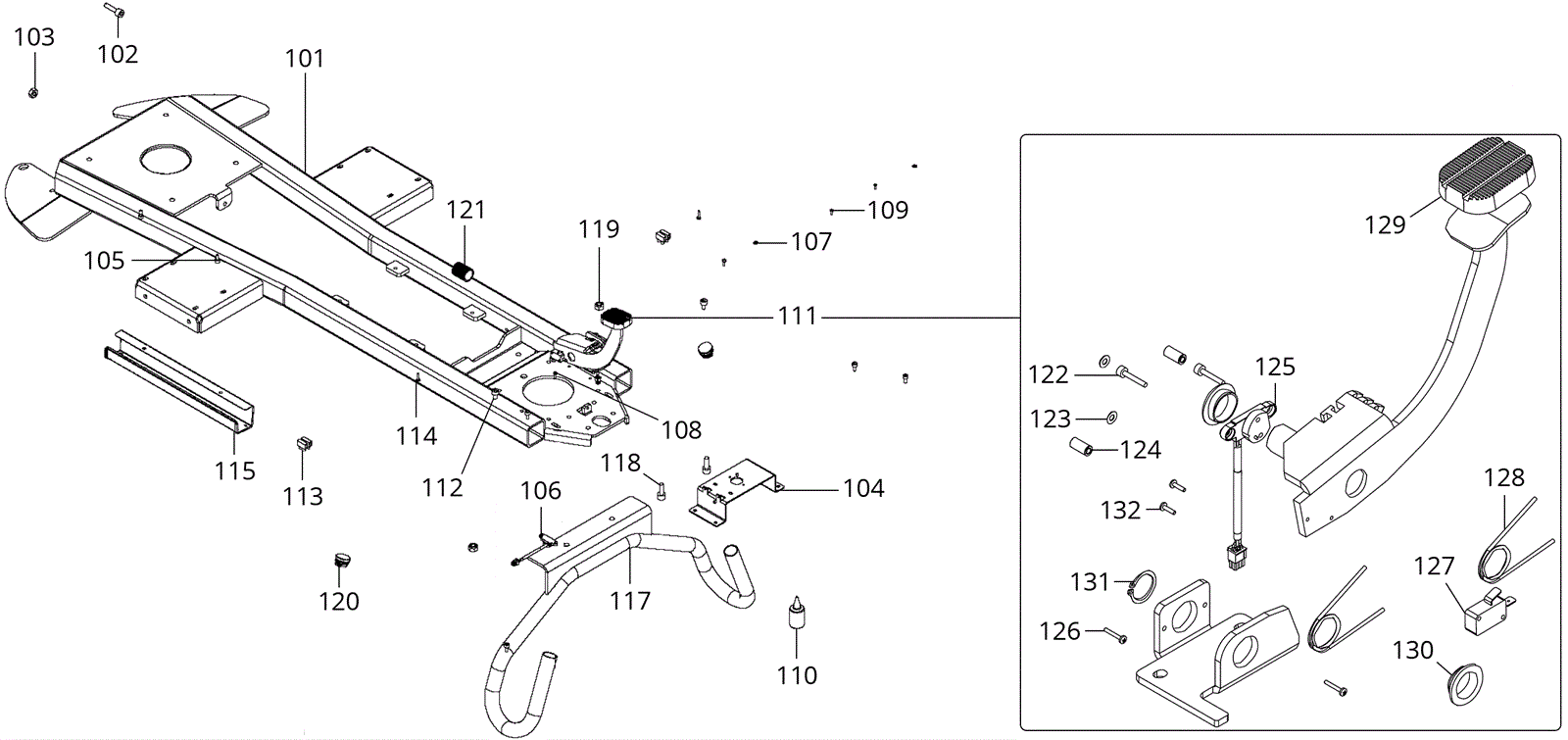
101 |
192-9759
|
Chassis |
$591.26
|
1 |
|
usually ships 1-5 days |
102 |
192-0594
|
Screw socket head cap |
$2.56
|
1 |
|
ships same day |
103 |
192-1135
|
Nut M10 hex |
$2.56
|
1 |
|
ships same day |
104 |
192-9752
|
Holder |
$40.17
|
1 |
|
usually ships 1-5 days |
105 |
192-0506
|
Screw M6 x 12mm socket head |
$2.56
|
6 |
|
usually ships 19-25 days |
106 |
292-8485
|
Sensor |
$257.43
|
1 |
|
usually ships 19-25 days |
107 |
192-9755
|
Spring washer 3 x 9 x 1 |
$2.56
|
2 |
|
usually ships 1-5 days |
108 |
192-5921
|
Screw M4 x 12 raised cheese head |
$6.53
|
2 |
|
ships same day |
109 |
192-0003
|
Screw M3 x 10mm raised head |
$1.13
|
2 |
|
ships same day |
110 |
292-8528
|
.5ml capsule loctite medium strength thread lock (red) |
$55.00
|
1 |
|
usually ships 16-20 days |
111a |
192-9758
|
Pedal (OBSOLETE) |
$42.33
|
1 |
(series 1 and series 2) |
usually ships 1-5 days |
111b |
292-9099
|
Pedal set |
$470.82
|
1 |
(includes 122-132) (series 3) |
usually ships 19-25 days |
112 |
192-0364
|
Screw M8 x 12mm socket head |
$2.64
|
2 |
|
ships same day |
113 |
192-0260
|
2-way connection block |
$2.95
|
2 |
|
ships same day |
114 |
192-0326
|
Screw M4 x 16 raised head |
$0.89
|
2 |
|
ships same day |
115 |
192-9760
|
Cable conduit |
$54.56
|
1 |
|
usually ships 1-5 days |
117 |
192-2920
|
Tilt protection |
$282.95
|
1 |
|
usually ships 19-25 days |
118 |
192-6473
|
Screw M10 x 25mm socket head cap |
$6.11
|
2 |
|
usually ships 19-25 days |
119 |
192-6339
|
Nut M10 self locking |
$2.56
|
2 |
|
ships same day |
120 |
292-0907
|
Plug |
Call for price
|
2 |
|
usually ships 19-25 days |
121 |
192-9834
|
Hose (sold by the inch) |
$0.99
|
11 in |
|
usually ships 19-25 days |
122 |
192-1105
|
Screw M4 x 20mm socket head |
$2.56
|
2 |
|
usually ships 1-5 days |
123 |
192-9755
|
Spring washer 3 x 9 x 1 |
$2.56
|
2 |
|
usually ships 1-5 days |
124 |
292-5506
|
Bushing |
$13.72
|
2 |
|
usually ships 1-5 days |
125 |
292-8486
|
Sensor |
$255.85
|
1 |
|
usually ships 19-25 days |
126 |
192-0054
|
Screw M3 x 16mm raised cheese head |
$5.01
|
2 |
|
ships same day |
127 |
192-0681
|
Microswitch |
$14.18
|
1 |
|
usually ships 19-25 days |
128 |
192-9756
|
Torsion spring |
$2.56
|
2 |
|
usually ships 19-25 days |
129 |
192-1096
|
Pedal pad |
$27.05
|
1 |
|
usually ships 19-25 days |
130 |
192-9744
|
Slide bearing |
$2.70
|
2 |
|
ships same day |
131 |
192-0807
|
Retaining ring |
$2.56
|
1 |
|
usually ships 19-25 days |
132 |
192-0003
|
Screw M3 x 10mm raised head |
$1.13
|
2 |
|
ships same day |
N/S |
192-9753
|
Sensor |
$364.20
|
1 |
(series 1 and series 2) |
usually ships 19-25 days |
N/S |
192-9754
|
Sensor |
$367.72
|
1 |
(series 1 and series 2) |
usually ships 19-25 days |
N/S |
192-9757
|
Pedal holder (OBSOLETE) |
$11.47
|
1 |
(series 1 and series 2) |
usually ships 1-5 days |