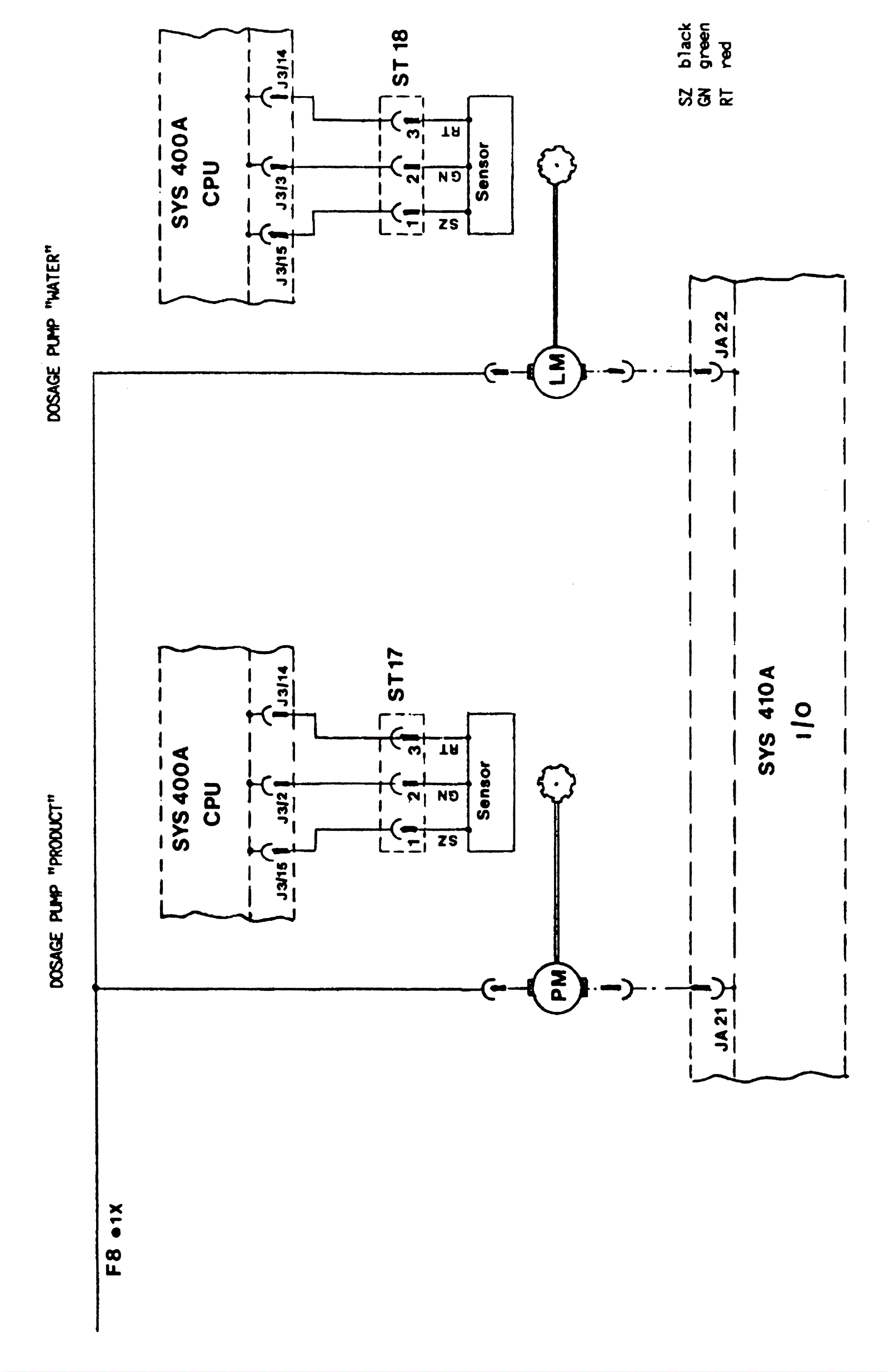
Electrical Diagram 5
Click to enlarge