| # | Part | Description | Price | Req | Notes | Availability |
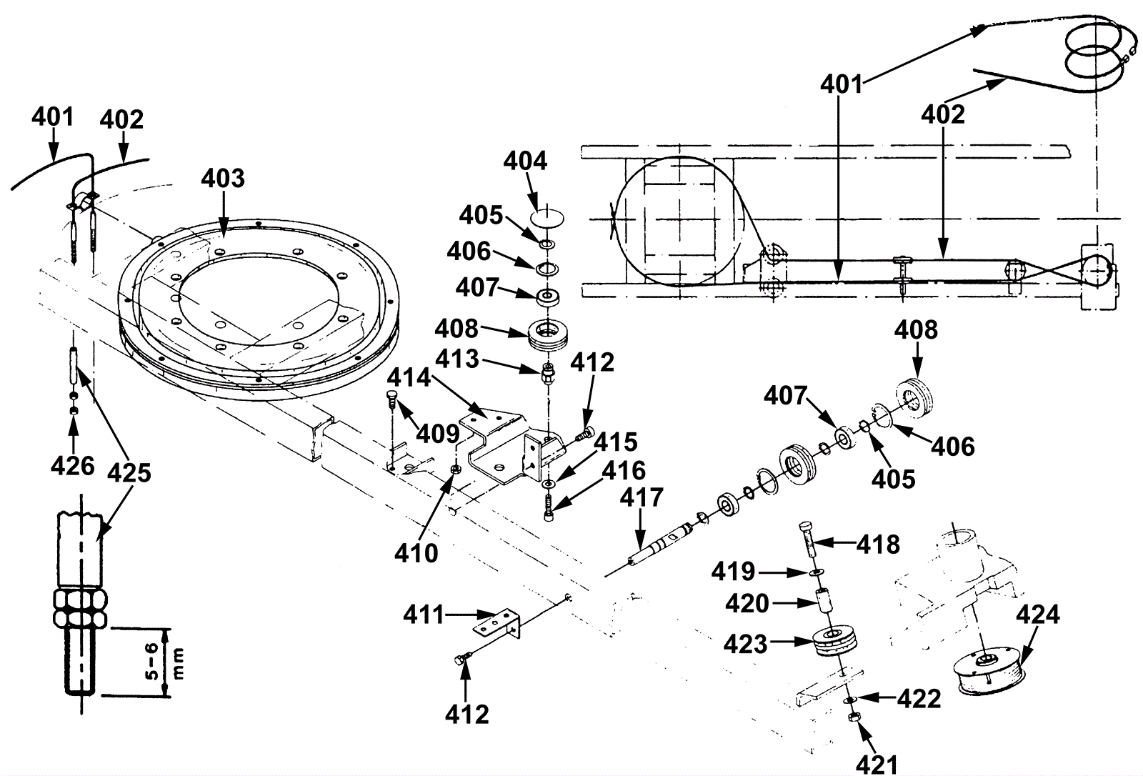
401 |
192-2960
|
Cord (OBSOLETE) |
$105.92
|
1 |
|
usually ships 1-5 days |
402 |
N/A
|
Not available |
Call for price
|
1 |
(Cord) |
usually ships 3-26 days |
403 |
N/A
|
Not available |
Call for price
|
|
Drive wheel ring |
usually ships 3-26 days |
404 |
192-0016
|
Filler plug |
$4.13
|
2 |
|
usually ships 19-25 days |
405 |
192-0075
|
Retaining ring |
$6.11
|
6 |
|
ships same day |
406 |
192-0489
|
Retaining ring |
$4.24
|
4 |
|
usually ships 19-25 days |
407 |
192-0488
|
Ball bearing |
$4.62
|
4 |
|
usually ships 19-25 days |
408 |
192-6089
|
Robe roller (OBSOLETE) |
$40.36
|
4 |
|
usually ships 1-5 days |
409 |
999-0517
|
Bolt M8-1.25 x 16mm hex head full thread zinc |
$0.99
|
2 |
|
ships same day |
410 |
192-0347
|
Nut M8 hex |
$0.89
|
2 |
|
ships same day |
411 |
192-1670
|
Bracket (OBSOLETE) |
$27.94
|
1 |
|
usually ships 1-5 days |
412 |
192-0153
|
Screw M8 x 20mm hex head |
$0.89
|
3 |
|
ships same day |
413 |
192-2093
|
Bolt (OBSOLETE) |
$10.37
|
2 |
|
usually ships 1-5 days |
414 |
N/A
|
Not available |
Call for price
|
1 |
Bracket |
usually ships 3-26 days |
415 |
192-7425
|
Washer |
$4.70
|
2 |
|
usually ships 19-25 days |
416 |
192-0603
|
Screw hex |
$4.49
|
2 |
|
ships same day |
417 |
192-2092
|
Bolt (OBSOLETE) |
$16.06
|
1 |
|
usually ships 1-5 days |
418 |
192-0605
|
Screw 8 x 45 hex |
$4.95
|
1 |
|
usually ships 1-5 days |
419 |
192-0604
|
Washer M8 |
$2.56
|
1 |
|
ships same day |
420 |
192-2091
|
Bolt (OBSOLETE) |
$8.92
|
1 |
|
usually ships 1-5 days |
421 |
192-0510
|
Nut M8 self locking |
$2.56
|
1 |
|
ships same day |
422 |
192-0079
|
Washer |
$0.89
|
1 |
|
ships same day |
423 |
192-6088
|
Pulley (OBSOLETE) |
$47.55
|
1 |
|
usually ships 1-5 days |
424 |
N/A
|
Not available |
Call for price
|
|
Robe roller |
usually ships 3-26 days |
425 |
192-2400
|
Bushing (OBSOLETE) |
$4.84
|
2 |
|
usually ships 1-5 days |
426 |
999-1308
|
Nut M6-1 hex stainless steel |
$0.99
|
4 |
|
ships same day |