| # | Part | Description | Price | Req | Notes | Availability |
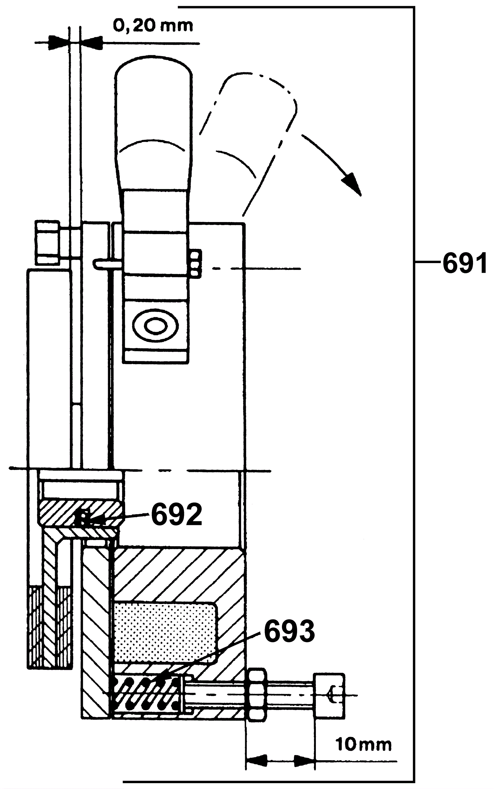
691 |
192-7989
|
Complete magnetic brake (OBSOLETE) |
Call for price
|
1 |
|
usually ships 1-5 days |
692 |
192-7990
|
Pressure spring 4 x 6 |
Call for price
|
1 |
|
usually ships 1-5 days |
693 |
192-7991
|
Pressure spring 9 x 15 |
Call for price
|
3 |
|
usually ships 1-5 days |