| # | Part | Description | Price | Req | Notes | Availability |
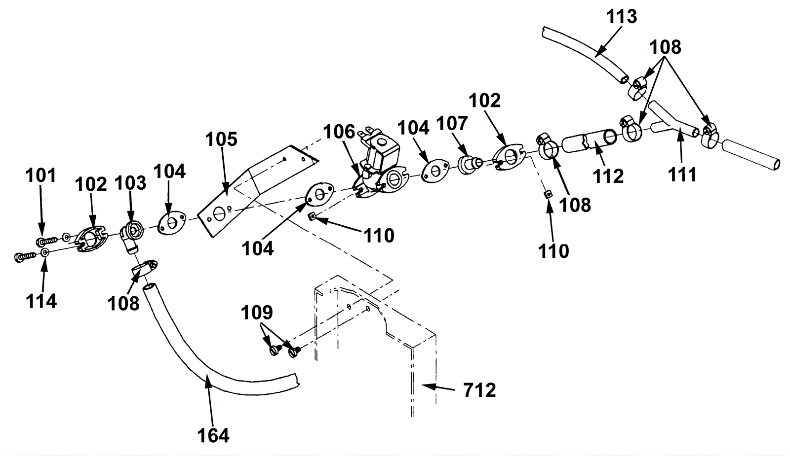
101 |
192-1105
|
Screw M4 x 20mm socket head |
$2.56
|
6 |
|
usually ships 1-5 days |
102 |
192-0911
|
Flange |
$2.56
|
2 |
|
ships same day |
103 |
192-0916
|
Angled nipple |
$9.87
|
1 |
|
usually ships 19-25 days |
104 |
192-0914
|
Gasket |
$2.56
|
3 |
|
ships same day |
105 |
192-7596
|
Angle |
Call for price
|
1 |
|
usually ships 1-5 days |
106a |
192-0917
|
24V magnetic valve (OBSOLETE) |
$57.09
|
1 |
|
usually ships 19-25 days |
106b |
N/A
|
Not available |
Call for price
|
|
Repair set valve |
usually ships 3-26 days |
107 |
192-0913
|
Nipple |
$3.10
|
1 |
|
usually ships 19-25 days |
108 |
192-4377
|
Hose clamp |
$5.51
|
5 |
|
usually ships 19-25 days |
109 |
192-0162
|
Screw M5 x 8 self tapping forming |
$3.03
|
2 |
|
ships same day |
110 |
192-0915
|
Nut M4 square |
$3.47
|
6 |
|
ships same day |
111 |
192-7548
|
Y-pipe |
$5.97
|
1 |
|
usually ships 19-25 days |
112 |
192-0893
|
Hose (sold by the inch) |
$0.99
|
40 in |
|
ships same day |
113 |
192-0893
|
Hose (sold by the inch) |
$0.99
|
60 in |
|
ships same day |
114 |
192-0149
|
Washer |
$2.56
|
4 |
|
ships same day |