| # | Part | Description | Price | Req | Notes | Availability |
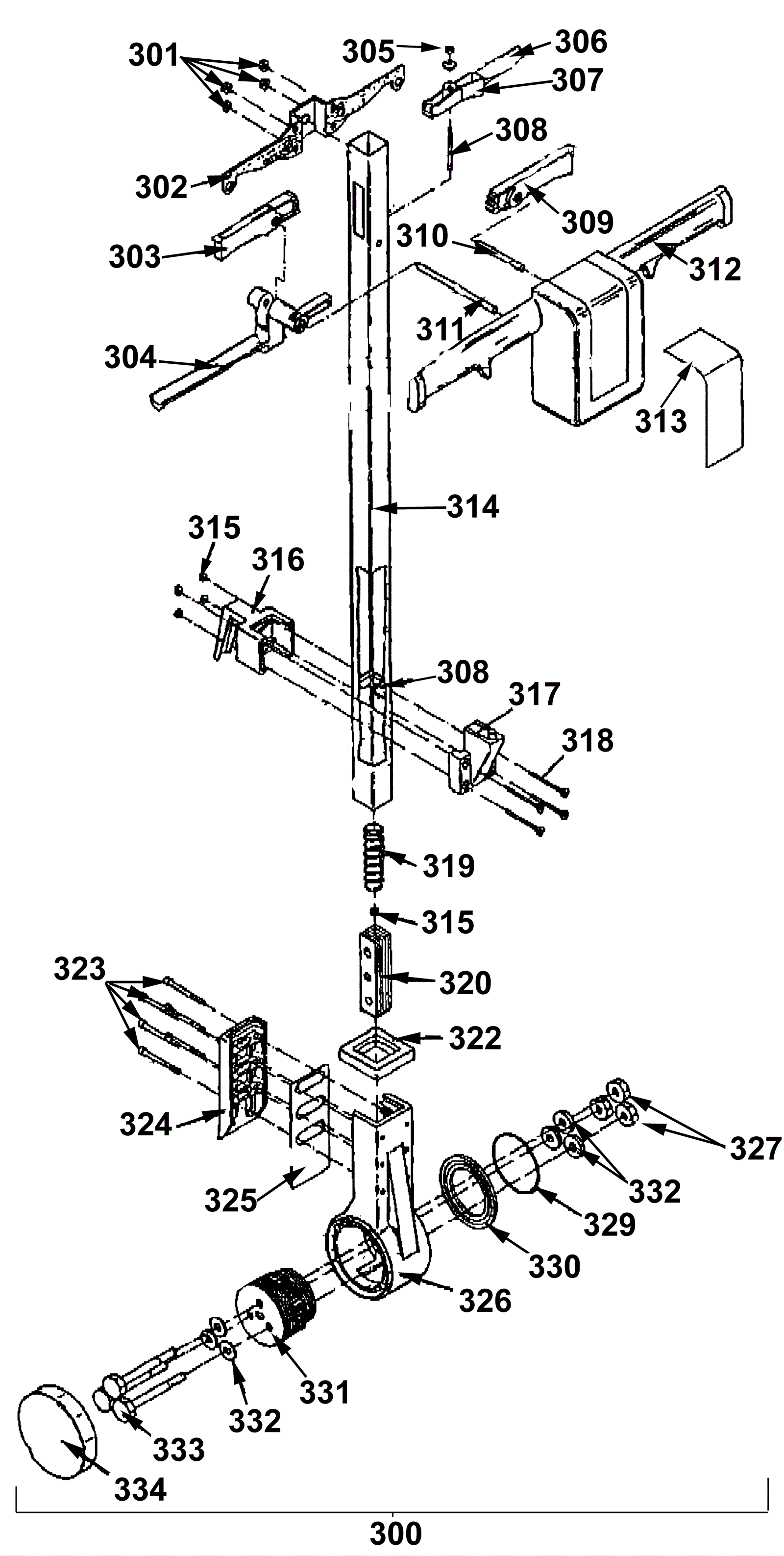
300 |
192-4086
|
Mechanical guide bar (OBSOLETE) |
$675.91
|
1 |
|
usually ships 1-5 days |
301 |
192-0340
|
Nut M5 hex self locking |
$3.08
|
4 |
|
usually ships 19-25 days |
302 |
192-2786
|
Clamp |
$13.45
|
1 |
|
usually ships 1-5 days |
303 |
192-6245
|
Right safety switch lever |
$11.79
|
1 |
|
usually ships 19-25 days |
304 |
192-6578
|
Spray lever |
$15.61
|
1 |
|
usually ships 19-25 days |
305 |
192-0235
|
Nut M4 self locking |
$2.56
|
1 |
|
ships same day |
306 |
192-6984
|
Swivel bearing (OBSOLETE) |
$3.11
|
1 |
|
usually ships 1-5 days |
307 |
192-3313
|
Disengaging lever |
$6.72
|
1 |
|
usually ships 19-25 days |
308 |
192-7225
|
Unlocking bar (OBSOLETE) |
$6.97
|
1 |
|
usually ships 19-25 days |
309 |
192-6243
|
Left safety switch lever |
$4.35
|
1 |
|
usually ships 19-25 days |
310 |
192-3383
|
Dowel pin 6 x 60 (OBSOLETE) |
$2.79
|
1 |
|
usually ships 1-5 days |
311 |
192-3382
|
Dowel pin 6 x 100 (OBSOLETE) |
$2.20
|
1 |
|
usually ships 1-5 days |
312a |
192-4152
|
Handle set |
$423.15
|
1 |
(includes 312b-312d) |
usually ships 1-5 days |
312b |
192-4168
|
Front bowl handle |
$287.39
|
1 |
|
usually ships 19-25 days |
312c |
192-4161
|
Back bowl handle |
$158.19
|
1 |
|
usually ships 19-25 days |
312d |
192-6286
|
Screw KA 40 x 18 |
$2.56
|
4 |
|
usually ships 19-25 days |
313 |
192-1663
|
Aluminum band (OBSOLETE) |
$3.49
|
1 |
|
usually ships 1-5 days |
314 |
192-6114
|
Rod (OBSOLETE) |
$263.85
|
1 |
|
usually ships 1-5 days |
315 |
192-0039
|
Nut M4 hex |
$4.31
|
5 |
|
usually ships 19-25 days |
316 |
192-2553
|
Cable hook (OBSOLETE) |
$6.81
|
1 |
|
usually ships 19-25 days |
317 |
192-1627
|
Accessory support (OBSOLETE) |
$5.60
|
1 |
|
usually ships 1-5 days |
318 |
192-5926
|
Screw M4 x 45 raised cheese head |
$2.44
|
4 |
|
usually ships 1-5 days |
319 |
192-4842
|
Locking spring |
$2.74
|
1 |
|
usually ships 1-5 days |
320 |
192-4820
|
Locking bolt with teeth |
$66.20
|
1 |
|
usually ships 19-25 days |
322 |
192-5416
|
Packing collar (OBSOLETE) |
$7.41
|
1 |
|
usually ships 1-5 days |
323 |
192-6483
|
Screw M5 x 45 socket head cap |
$2.44
|
6 |
|
usually ships 1-5 days |
324 |
192-3054
|
Cover (OBSOLETE) |
$227.58
|
1 |
|
usually ships 1-5 days |
325 |
192-3762
|
Flat gasket |
$9.09
|
1 |
|
usually ships 1-5 days |
326 |
N/A
|
Not available |
Call for price
|
1 |
(joint) |
usually ships 3-26 days |
327 |
192-4210
|
Nut M8 hex (OBSOLETE) |
$2.20
|
3 |
|
usually ships 19-25 days |
329 |
192-5390
|
O-ring 62 x 3 13/64 |
$2.44
|
1 |
|
usually ships 1-5 days |
330 |
192-5426
|
Packing washer |
$8.37
|
1 |
|
usually ships 1-5 days |
331 |
192-7123
|
Toothed block |
$649.43
|
1 |
|
usually ships 1-5 days |
332 |
192-0079
|
Washer |
$0.89
|
6 |
|
ships same day |
333 |
192-4235
|
Screw M8 x 75 hex |
$2.88
|
3 |
|
usually ships 19-25 days |
334 |
192-3161
|
Cover for joint |
$6.06
|
1 |
|
usually ships 1-5 days |
N/S |
192-4852
|
Special lubricant 230 gr |
$370.44
|
1 |
|
usually ships 1-5 days |