| # | Part | Description | Price | Req | Notes | Availability |
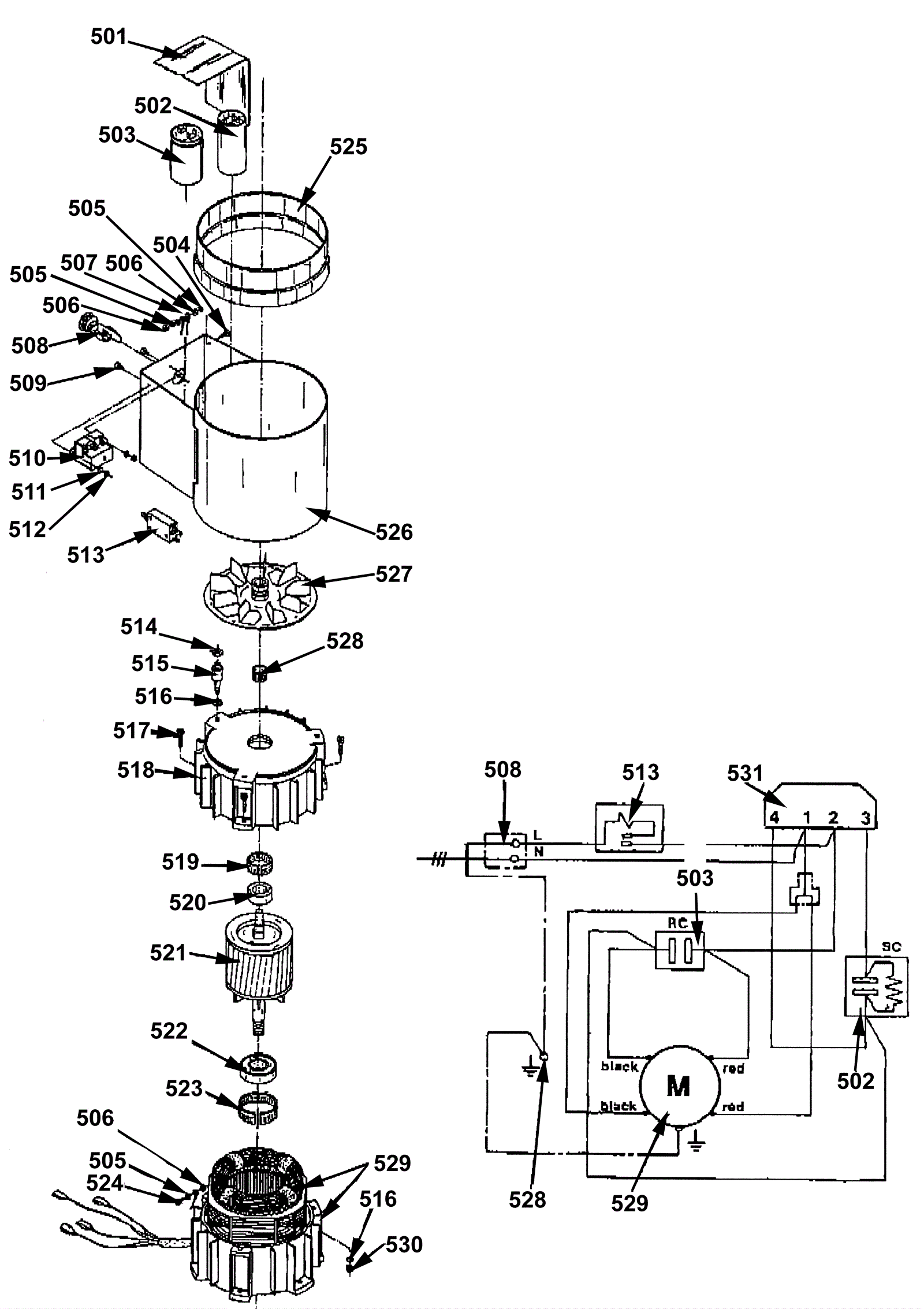
501 |
192-8623
|
Insulating cover |
Call for price
|
1 |
|
usually ships 1-5 days |
502 |
N/A
|
Not available |
Call for price
|
1 |
(Start capacitor) |
usually ships 3-26 days |
503 |
N/A
|
Not available |
Call for price
|
1 |
Run capacitor |
usually ships 3-26 days |
504 |
192-2767
|
Screw M4 x 14 cheese head (OBSOLETE) |
$2.20
|
1 |
|
usually ships 1-5 days |
505 |
999-0315
|
Washer #8 external star lock zinc plated |
$0.99
|
3 |
|
ships same day |
506 |
192-0039
|
Nut M4 hex |
$4.31
|
3 |
|
usually ships 19-25 days |
507 |
192-7416
|
Washer 4. 3/8 |
$2.56
|
1 |
|
usually ships 19-25 days |
508 |
N/A
|
Not available |
Call for price
|
1 |
Cable entry |
usually ships 3-26 days |
509 |
192-0003
|
Screw M3 x 10mm raised head |
$1.13
|
2 |
|
ships same day |
510 |
192-0942
|
Relay |
$135.85
|
1 |
|
usually ships 19-25 days |
511 |
192-6619
|
Spring washer |
$2.56
|
2 |
|
usually ships 1-5 days |
512 |
192-8609
|
Nut M3 hexagon |
$0.99
|
2 |
|
usually ships 1-5 days |
513 |
192-8617
|
20amp circuit breaker |
$32.73
|
1 |
|
usually ships 11-15 days |
514 |
192-5158
|
Washer neoprene (OBSOLETE) |
$2.20
|
3 |
|
usually ships 1-5 days |
515 |
192-8610
|
Extension stud |
$65.29
|
3 |
|
usually ships 1-5 days |
516 |
192-0179
|
Washer M6 serrated lock |
$2.56
|
6 |
|
usually ships 19-25 days |
517 |
192-0899
|
Screw M6 x 25mm hex head |
$3.80
|
3 |
|
ships same day |
518 |
N/A
|
Not available |
Call for price
|
1 |
Motor hood |
usually ships 3-26 days |
519 |
192-8612
|
Star ring |
Call for price
|
1 |
|
usually ships 1-5 days |
520 |
192-1867
|
Ball bearing |
$3.93
|
1 |
|
usually ships 19-25 days |
521 |
192-8618
|
Rotor |
Call for price
|
1 |
|
usually ships 1-5 days |
522 |
192-7619
|
Ball bearing |
$57.11
|
1 |
|
usually ships 1-5 days |
523 |
192-8613
|
Star ring |
Call for price
|
1 |
|
usually ships 1-5 days |
524 |
192-0148
|
Screw M4 x 10mm raised cheese head |
$2.56
|
2 |
|
ships same day |
525 |
192-6306
|
Seal strip (OBSOLETE) |
$39.50
|
1 |
|
usually ships 19-25 days |
526 |
192-8614
|
Motor cowl |
Call for price
|
1 |
|
usually ships 1-5 days |
527 |
192-8619
|
Cooling fan |
Call for price
|
1 |
|
usually ships 1-5 days |
528 |
192-8620
|
Star ring |
Call for price
|
1 |
|
usually ships 1-5 days |
529 |
192-8621
|
Stator housing with stator |
Call for price
|
1 |
|
usually ships 1-5 days |
530 |
192-0151
|
Nut M6 hex |
$2.56
|
3 |
|
ships same day |
531 |
N/A
|
Not available |
Call for price
|
1 |
Relay |
usually ships 3-26 days |