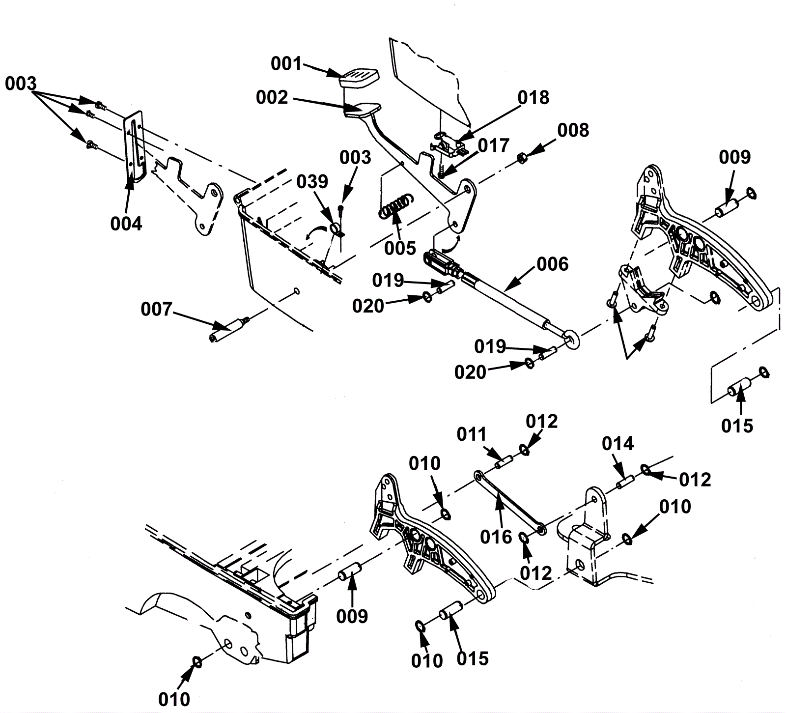
| # | Part | Description | Price | Req | Notes | Availability |
001 |
192-1096
|
Pedal pad |
$27.05
|
1 |
(old style pedal pad, fits foot lever with built in pedal pad) |
usually ships 19-25 days |
001b |
192-8903
|
Pedal pad |
$2.56
|
1 |
(new style pedal pad, fits foot lever with stump end) |
ships same day |
002 |
192-3822
|
Foot lever |
$32.64
|
1 |
(this is now a new style bracket) (you will also need to order the new style pedal pad 192-8903) |
usually ships 19-25 days |
003 |
192-1571
|
Screw M50 x 16mm |
$2.56
|
5 |
|
ships same day |
004 |
192-4018
|
Bracket |
$8.67
|
1 |
|
usually ships 19-25 days |
005 |
192-7071
|
Tension spring |
$6.15
|
1 |
|
usually ships 19-25 days |
006 |
192-5894
|
Rack pusher |
$101.49
|
1 |
(includes qty of 2 of 019 and 020) |
usually ships 19-25 days |
007 |
192-8754
|
Clevis pin |
$14.36
|
1 |
(series 1) |
usually ships 19-25 days |
008a |
999-0471
|
Nut M8-1.25 nylon insert lock zinc plated |
$0.99
|
1 |
(series 1) |
ships same day |
008b |
192-9246
|
Cotter pin |
$2.56
|
1 |
(series 2) |
usually ships 19-25 days |
009 |
192-1775
|
Axle |
$9.44
|
2 |
|
ships same day |
010 |
192-0075
|
Retaining ring |
$6.11
|
8 |
|
ships same day |
011 |
192-1774
|
Axle |
$6.11
|
1 |
|
usually ships 19-25 days |
012 |
192-0086
|
Snap ring |
$2.56
|
3 |
|
ships same day |
014 |
192-1778
|
Axle |
$5.51
|
1 |
|
ships same day |
015a |
192-1776
|
Axle |
$9.23
|
2 |
(series 1) |
usually ships 19-25 days |
015b |
192-9255
|
Bolt |
$9.11
|
1 |
(series 2) |
usually ships 19-25 days |
016 |
192-4761
|
Lever |
$18.80
|
1 |
|
usually ships 19-25 days |
017 |
192-1595
|
Screw M40 x 16mm torx head |
$2.56
|
1 |
|
ships same day |
018 |
192-4799
|
Limit switch |
$67.56
|
1 |
|
ships same day |
019 |
192-1779
|
Axle |
$5.47
|
1 |
|
ships same day |
020 |
192-6050
|
Retaining ring |
$3.41
|
2 |
|
usually ships 19-25 days |
039 |
192-2501
|
P clamp |
$4.82
|
1 |
|
ships same day |